TT2-Mechanical - 第92页
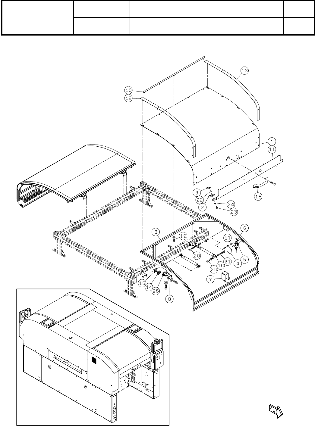
21-D 全体カバー:NPM-TT2 W hole Cover:NPM -TT 2 パーツレイアウト Kit No. キット 品番 Kit Name キット名称 MTKA007681AA セクションNo. PARTS LAYOUT Section No. - - S69 ( KMTKA007681AA-08-4 )

Ref
No.
Remarks R
1
Q'ty
21-C
全体カバー:NPM-TT2
Whole Cover:NPM-TT2
イラスト
No.
Part No.
品 名品 番 数量
R
2
パーツリスト
Kit No.
キット品番
Kit Name
キット名称
MTKA007681AA
Part Name
備 考
セクションNo.
PARTS LIST
Section No.
R
3
BRACKET
2
1 N210143033AA
DUCT-KIT
2
2 MTKA014980AA
SPACER
8
3 N510017101AA CB-425E
FAN-GUARD
4
4 KXF077MAA00 109-019E
CABLE-SUPPORT
8
5 N348TA1S8 TA1S8
SWITCH
2
6 N510056987AA
S
HS5D-02RNP
JOINT
2
7 KXF06F4AA00 53015030-WM
CABLE-SUPPORT
4
8 N510048517AA FT4
SCREW
8
9 N510018271AA
Cross recessed Truss head machine screw M4X40-4.8 A2J (Trivalent)
FAN
1
10 N610127903AA
S
FAN
1
11 N610128950AA
S
S68
--
( KMTKA007681AA-08-3 )

21-D
全体カバー:NPM-TT2
Whole Cover:NPM-TT2
パーツレイアウト
Kit No.
キット品番
Kit Name
キット名称
MTKA007681AA
セクションNo.
PARTS LAYOUT
Section No.
--
S69
( KMTKA007681AA-08-4 )

Ref
No.
Remarks R
1
Q'ty
21-D
全体カバー:NPM-TT2
Whole Cover:NPM-TT2
イラスト
No.
Part No.
品 名品 番 数量
R
2
パーツリスト
Kit No.
キット品番
Kit Name
キット名称
MTKA007681AA
Part Name
備 考
セクションNo.
PARTS LIST
Section No.
R
3
COVER
2
1 N210149683AB
WASHER
4
2 MTPA004915AA
FRAME
2
3 MTPA016975AB
COVER
2
4 N210143036AA
BRACKET
2
5 N210143037AC
NUT-PLATE
2
6 N210186760AA
COVER
2
7 N210147088AB
PLATE
4
8 N210164816AA
NUT-PLATE
4
9 N210186756AA
COVER
2
10 MTKP000693AA
COVER
2
11 N610168763AC
COVER
2
12 MTKP000694AA
COVER
2
13 MTKP000695AA
NUT
72
14 N510013277AA SFN-TS6
CAP
106
15 KXF0ATFAA00 SFA-906
GAS-SPRING
4
16 MTNK000363AA
S
KPF70-40M
SPACER
4
17 N510030568AA CB-418E
PULL
2
18 KXF0DX62A00 AP-829-2
SCREW
58
19 MTNK002299AA
Cross recessed Truss head machine screw M4X10-4.8 A2J (Trivalent) (PA-
BOLT
4
20 N510020762AA MMSB10-10
WASHER
20
21 N510018506AA
Round finish plain washer (JIS B 1256:1978) 10 10H A2J (Trivalent)
SPACER
8
22 N510068123AA CF-502.5ZE
SCREW
8
23 N510068146AA
Cross recessed Truss head machine screw M4X10-4.8 A2S(Trivalent)(UG-
WASHER
8
24 N510018763AA
Toothed lock washer 4 External toothed Steel Unichrome black (Trivalent)
HINGE
4
25 N610124459AA
BOLT
4
26 N510032427AA MMSB10-15
S70
--
( KMTKA007681AA-08-4 )