NPM-D3维修手册 - 第107页
NPM-D3 SERVICE MANUAL 4.6 Optional Units EJM6D3-MB-04SM-02.DOC Page 4-69 4.6.3 Flexible Conveyor for NPM-D2 フレキシブルコンベア 柔软型传送带 Unit No. N6xxxxxxxxAA 4.6.2 Flexible Conveyor for NPM-D フレキシブルコンベア 柔软型传送带 Transfer Rail Widt…

NPM-D3
SERVICE MANUAL
4.6 Optional Units
Page 4-68 EJM6D3-MB-04SM-02.DOC
Lighting Frequency Changing Procedure
投光周期変更操作手順
投光周期变更的操作步骤
Normal operation
status
SET mode
Lighting frequency
setting
Lighting frequency
changing
Normal operation
status
Press “MODE” for
more than 2
d
When “SEt” appears,
deselect “MODE”.
Press “ON” / “OFF” until the
specified lighting frequency is
reached.
* Different lighting frequencies
must be set to the adjoining
sensors.
Press “MODE” to determine the change.
The predetermined lighting frequency
appears.

NPM-D3
SERVICE MANUAL
4.6 Optional Units
EJM6D3-MB-04SM-02.DOC Page 4-69
4.6.3 Flexible Conveyor for NPM-D2
フレキシブルコンベア
柔软型传送带
Unit No.
N6xxxxxxxxAA
4.6.2 Flexible Conveyor for NPM-D
フレキシブルコンベア
柔软型传送带
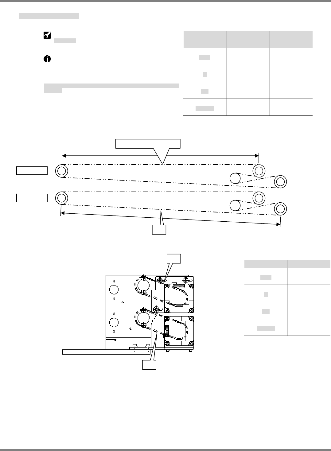
Transfer Rail Width Adjustment
搬送レール幅寄せ
搬送导轨宽度调整
10.
223
0.05 mm
Rail 1 guide rail parallelism:
Board width 50 mm:
0.1 mm
300 mm:
0.15 mm
Rail 2 guide rail parallelism:
Reference
Slave
300 mm
590 mm
300 mm
Board width 50 mm:
0.1 mm
300 mm:
0.15 mm
590 mm:
0.2 mm
Positioning pin Positioning pin

NPM-D3
SERVICE MANUAL
4.6 Optional Units
Page 4-70 EJM6D3-MB-04SM-02.DOC
Rail Width Adjustment Timing Belt
レール幅寄せタイミングベルト
轨道宽度调整同步皮带
Ultrasonic tension meter: N510008902AA
超音波張力計
超声波张力计
Flip the center of the span of belt by finger
and make adjustment so that the character
frequency f may fall within the range of criterion
using the ultrasonic tension meter.
スパン中央部を指で弾き、超音波張力計にて固有振動数
f
が規格値となるように調
整を行う。
用手指弹击跨距的中央部位,用超声波张力计调整其固有的振动频次
f
至规格值以内。
Rail 1 (P1)
レール
1
轨道
1
Rail 2 (P2)
レール
2
轨道
2
Span (S)
スパン
跨距
474 mm 536 mm
Width (W)
幅
宽度
9.4 mm/R 9.4 mm/R
Mass (M)
質量
质量
0.022
g
/m 0.022
g
/m
Tension
テンション
皮带张力
20
2 Hz 20
2 Hz
P3
・
P4
Span (S)
スパン
跨距
73 mm
Width (W)
幅
宽度
9.4 mm/R
Mass (M)
質量
质量
0.022
g
/m
Tension
テンション
皮带张力
270
10 Hz
Rail 1
Rail 2
474 mm
536 mm
P2
Measuring point: P1
P3
P4