NPM-D3维修手册 - 第243页
NPM-D3 SERVICE MANUAL 6.3 XY Drivers EJM6D3-MB-06SM-00( 編集中 ).DOC Page 6-23 6.3.3 Network Status LED ネットワークステータス LE D 网络状态 LED LED Display LED 表示状態 LED 显示状态 [COM] [LINK] Unlit 消灯 灭灯 Network not established. ネットワーク未確立 网络未…

NPM-D3
SERVICE MANUAL
6.3 XY Drivers
Page 6-22 EJM6D3-MB-06SM-00(
編集中
).DOC
6.3.2 7-Segment LED
7 セグメント LED の表示
7 段 LED 的显示
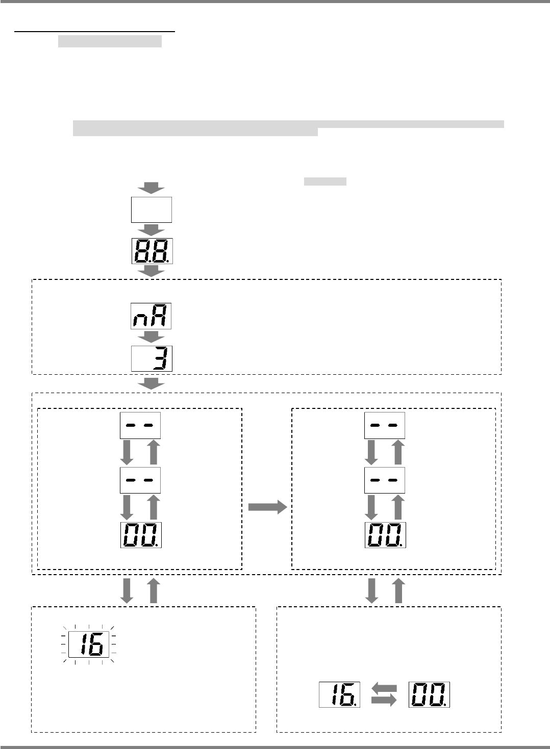
The node address set by the rotary switch is shown when power is turned ON, and then usually
“- -”(servo OFF) appears followed by “00”(Servo ON) on the LED display.
However, an alarm code is displayed when an alarm has occurred, and a warning code is shown
if a warning has occurred.
電源投入時には、ロータリースイッチで設定されたノードアドレス値を表示し、その後、通常状態(
“
--
”
サーボオフ、
“00”
サーボオン)に移行します。
ただし、アラーム発生時にはアラームコードを警告発生時には警告コードを表示します。
接通电源时,首先显示用旋转开关设定的节点地址值,然后转移到通常状态
( “
--
”
伺服
OFF
、
“00”
伺服
ON)
。
但是,警报发生时,显示警报代码,警告发生时显示警告代码。
‘Error code list’.
‘
エラーコード
’
‘
错误代码
’
。
Normal state
Main power is
ON and the
network is
established.
Servo: ON
Main power is
OFF or the
network is not
established.
Servo: OFF
Same as normal state
Main power is
ON and the
network is
established.
Servo: ON
Main power is
OFF or the
network is not
established.
Servo: OFF
When the motor is driven
b
y
sinusoidal current, left dot is lit.
Driven by
sinusoidal
current
Alarm occurred. Alarm cleared.
Warning occurred.
Warning cleared.
<Node address (MAC-ID) display>
Rotary switch setting value (When MSD is 0 and LSD is 3.)
Alarm code
(Approx. 2 s)
<Warning display>
The LED display alternates between warning
code and normal state.
(Example: Overload)
(NOTE) An alarm code may coincide with
the normal display value.
Normal display
(Approx. 4 s)
<Alarm display>
Alarm code flashes.
(Example: Overload)
Turn the power ON.
All segments unlit
All segments are lit
(Approx. 600 ms)
[n A] (Node Address)
(Approx. 600 ms)

NPM-D3
SERVICE MANUAL
6.3 XY Drivers
EJM6D3-MB-06SM-00(
編集中
).DOC Page 6-23
6.3.3 Network Status LED
ネットワークステータス LED
网络状态 LED
LED Display
LED
表示状態
LED
显示状态
[COM] [LINK]
Unlit
消灯
灭灯
Network not established.
ネットワーク未確立
网络未确立
Not connected
(Power not turned ON to the sender
node, or cable disconnected)
未接続
(
送信側ノードの電源未投入、またはケーブルの断線など
)
未连接
(
发送侧节点的电源未接通,或者电缆的断线等
)
Flashing green
緑点滅
绿闪烁
Network being established.
ネットワーク確立処理中
网络确立处理中
―
Lit green
緑点灯
绿亮灯
Network is established.
(NOTE) does not depend on the
synchronization between
communication and the servomotor.
ネットワーク確立
(
注
)
通信とサーボの同期状態に依存しません。
网络确立
(
注
)
不依存于通信和伺服的同步状态。
Properly connected
(TX port of the sender node and RX
port of the local node are properly
connected electrically.)
正常接続
(
送信側ノードの
TX
と自ノードの
RX
が電気的に正常に接続さ
れている状態
)
正常连接
(
发送侧节点的
TX
和自节点的
RX
之间的电气正常连接的状态
)
Flashing red
赤点滅
红闪烁
A clearable alarm related to the network
has occurred.
Err.83 “Continuous communication
error”
Err.84 “Communication timeout”
Err.86 “Cyclic data cannot be received”
ネットワーク関連のクリア可能アラームが発生
Err.83 “
連続通信異常
”
Err.84 “
通信タイムアウト異常
”
Err.86 “
サイクリックデータ受信不能
”
发生与网络有关的可清除警报
Err.83 “
连续通信异常
”
Err.84 “
通信超时异常
”
Err.86 “
不能接收循环数据
”
―
Lit red
赤点灯
红
亮灯
A unclearable alarm related to the
network has occurred.
Err.82 “Node address setting error”
Err.xx “Other error” (An error related to
the network has occurred.)
ネットワーク関連のクリア不可能アラームが発生
Err.82 “
ノードアドレス設定異常
”
Err.xx “
その他異常
”
でネットワーク関連の異常
发生与网络有关的不可清除警报
Err.82 “
节点地址设定异常
”
Err.xx “
其他异常
”
,发生与网络有关的异常
―
Even if a network-related alarm occurs after an alarm not related to network, the network
status LED [COM] will change according to the above. In such a case, however, the 7-segment
LED will continue displaying the earlier alarm not related to network.
ネットワーク関連ではないアラーム発生後に、重複してネットワーク関連のアラームが発生した場合においても、ネットワークステータス
LED [COM]
の表示
状態は上記に従い変化します。しかし、
7
セグメント
LED
は先に発生したネットワーク関連ではないアラームの表示を続けるので注意してください。
在与网络无关的警报发生后,重复发生与网络有关的警报时,网络状态
LED [COM]
的显示,按照上述的内容发生变化。但是,
7
段
LED
会继续显示先发生的与网
络无关的警报,敬请注意。
Network cable failure detection by the [LINK] LED
[LINK]
の
LED
によるネットワークケーブルの異常検出
用
[LINK]
的
LED
检测网络电缆的异常
If the LINK LED is off even though power to all nodes has been turned ON, check the network
cable connected to the RX port of the servo amplifier concerned for any problem such as
disconnection.
全ノードに電源を投入した状態で
”LINK”LED
が消灯している場合には、その消灯しているサーボアンプの
RX
に接続されているネットワークケーブルに、断線
等の異常がないかどうかを確認してください。
全节点接通电源的状态下,
“LINK”LED
灭灯时,请确认与该灭灯的伺服放大器的
RX
连接的网络电缆上是否有断线等异常。

NPM-D3
SERVICE MANUAL
6.3 XY Drivers
Page 6-24 EJM6D3-MB-06SM-00(
編集中
).DOC
Example of cable failure
ケーブル異常の例
电缆异常例
○
Lit green
●
Unlit
○
Lit green
○
Lit green
LINK status
Point of
failure
TX
Servo amplifier (Y Rear)
RX
TX
Servo amplifier (X Rear)
RX
TX
Servo amplifier (Y Front)
RX
TX
Servo amplifier (X Front)
RX
CN4
CN3
(RX)
(TX)