MEC-CP842-1.0E.pdf - 第171页
Adjustments >> Station Adjustments MEC-CP842-1.0E 7-35 4 Tighten the mounting bolts with a torque of 0.8 N.m (8Kgf.cm). 5 Set the cam angle to 0°, then activate the place solenoid (Y0 35 ST9 PLACE SOL ENGAGED) at s…

Adjustments >> Station Adjustments
7-34 MEC-CP842-1.0E
Valve Switching Lever Height Adjustment
This adjustment should be performed on the low valve shaft after completing adjust-
ments to the vertical movement of the nozzle. (Refer to 7.1.9 “Nozzle Vertical Move-
ment During Placement” for details.) The low valve shaft can be identified by
measuring the lower surface of the mechanical valve spool on all shafts. Raise the
spools and measure with a dial gauge, as shown in the diagram below.
1 Press the EMERGENCY STOP button to take the 200V down to 100V.
2 Remove the mechanical valve block from the shaft that will be used for adjust-
ment.
Caution: There are two O-rings on the mechanical valve. Be careful to not drop these during removal
of the mechanical valve. Also, do not disassemble the mechanical valve if not necessary.
3 Position the centering jig (Z9827DGPJ032*) on the shaft in the mechanical valve position.
Lift the jig against the top ridge and push it to the right against the vacuum hose manifold
(black plastic).
WARNING
• Press EMERGENCY STOP before performing this procedure.
• Exercise extreme caution when working on the machine if the cam
is not at its origin (0 deg.). Spring recoil can rotate the cam inde-
pendently.
Spool
C7SM4055
C84PHD002E
Centering jig
( Z9827DGPJ032*)

Adjustments >> Station Adjustments
MEC-CP842-1.0E 7-35
4 Tighten the mounting bolts with a torque of 0.8 N.m (8Kgf.cm).
5 Set the cam angle to 0°, then activate the place solenoid (Y035 ST9 PLACE SOL
ENGAGED) at station 9 to work the lever.
6 Use the cam handle to rotate the cam to 190°. The pusher on the lever should align
smoothly with the centering jig.
C84PHD005E
/CPKHQNF

Adjustments >> Station Adjustments
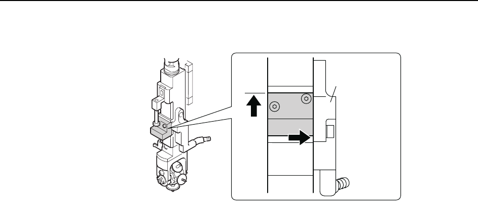
7-36 MEC-CP842-1.0E
7 Loosen the mounting bolts shown in the figure below, then adjust the lever
height until there is a 0.2 mm gap (use a feeler gauge) between the bottom of the
mechanical valve and the lever.
Note: Do not touch the speed regulator.
The air-blow pressure is set to 15.0 ± 0.5 kPa (ST13: 7.0 ± 0.5 kPa). The user should not
change the setting unless a manometer is available for adjustment.
8 With the jig still on the shaft, move the shaft to ST10, 180°.
9 Remove the jig and return the mechanical valve and O-rings to the shaft. Lift
the mechanical valve against the top ridge and push it to the right against the
manifold (black plastic).
10 Tighten the mounting bolts with a torque of 0.8 N.m (8Kgf.cm).
Lever
/QWPVKPIDQNVU
%GPVGTKPILKI
5RGGFEQPVTQNNGT
0.2 mm
C7SM4037Eb
0.2 mm
C84PHD004E
/CPKHQNF