P-247-006e - 第83页
G -S050-05 1012-003 81 Key No. P AR T No. P AR T NAME Q’ty REMARKS New Code NOTE BT -2 170 6301338880 CORD(X19401-X2405) 1→0 829BT -010-170 4W203018 184 6301338279 CORD 1→0 829BT -010-254 4W202993 193 6301366944 CORD(A-X…

G -S050-05
0909-002
80
193
170
See Fig.BS-5
Key No.486
184
DELETE
EXCHANGE
For Left-Rear
多機能ヘッド取付本体対応
Main Machine Modification(Left-Rear)
(左奥)
For
Attaching Multi-Functional Head
G -S050-05(GXH-1J,1JS) G -S050-05(GXH-1J,1JS)
Fig. BT-2
架台下
XY
サーボ部
A
- ケーブル
Underframe XY Servo section A-Cable

G -S050-05
1012-003
81
Key No. PART No. PART NAME Q’ty REMARKS New Code
NOTE
BT-2
170 6301338880 CORD(X19401-X2405) 1→0 829BT-010-170 4W203018
184 6301338279 CORD 1→0 829BT
-010-254 4W202993
193 6301366944 CORD(A-X2103-X19401 1
829C-A010010-A273
4W203150

G -S050-05
0909-002
82
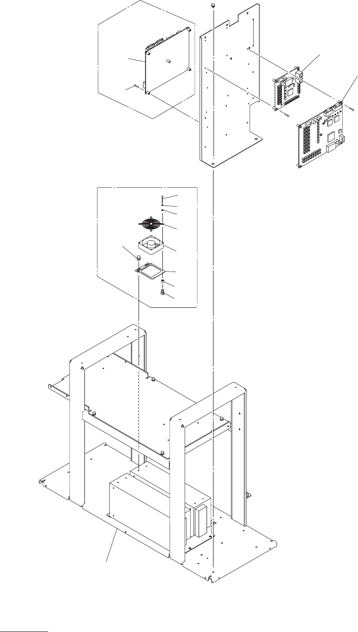
See Fig.BL-1
Key No.55
261
260
268
267
295
291
284
293
258
269
281
276
.
271
.
273
265
264
.
ADD (For Left-Rear)
ADD (For Left-Rear)
多機能ヘッド取付本体対応
Main Machine Modification(Left-Rear)
(左奥)
For
Attaching Multi-Functional Head
G -S050-05(GXH-1J,1JS) G -S050-05(GXH-1J,1JS)
Fig. BL-3
電装ボックス
L-
リレー2、
I/O
ボード
Electrical Box L-Relay 2,I/O Board