P-247-006e - 第97页
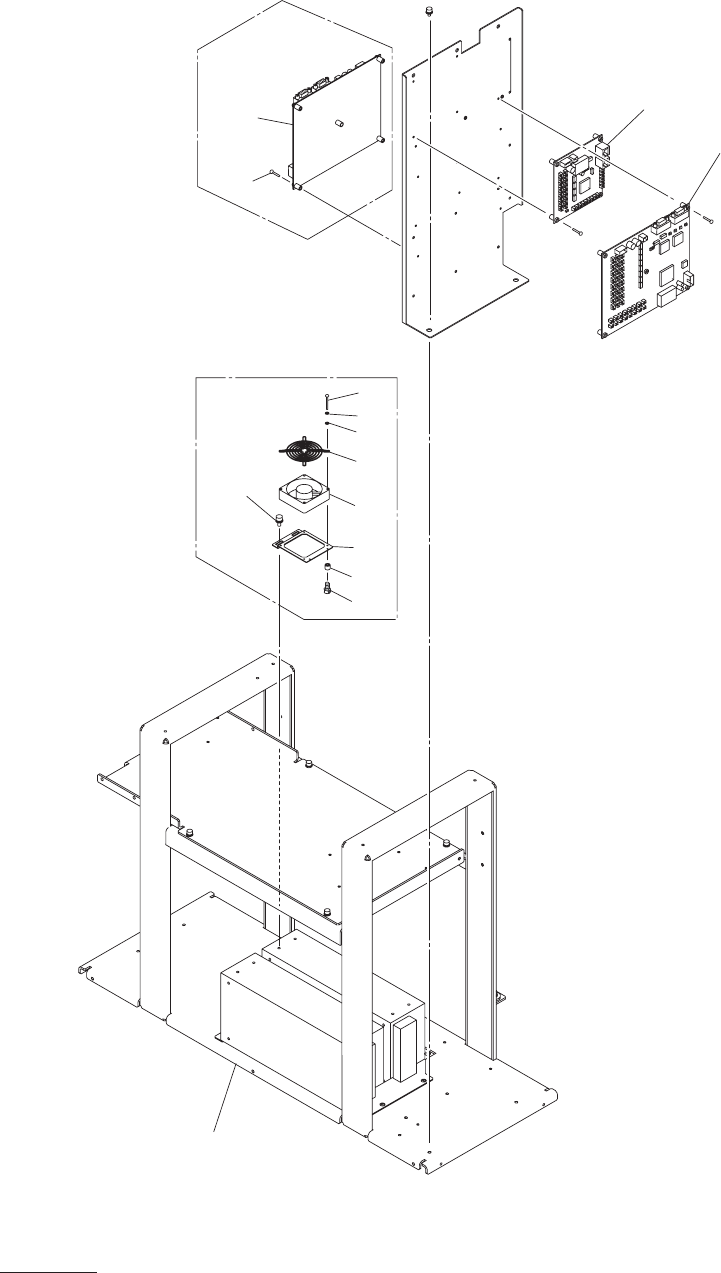
G -S050-06 1012-003 95 Key No. P AR T No. P AR T NAME Q’ty REMARKS New Code NOTE BL-3 258 6301315409 BRACKET 1 829C-A010020-A053 21 1F8983 264 6301235707 P .C.B,MOUNT 1 -U16 829C-A010020-A153 4B1 1 1448 265 6301314549 PR…

G -S050-06
0909-002
94
See Fig.BL-1
Key No.55
261
260
268
267
295
291
284
293
258
269
281
276
.
271
.
273
265
264
.
ADD (For Left-Front)
ADD (For Left-Front)
多機能ヘッド取付本体対応
Main Machine Modification(Left-Front)
(左前)
For
Attaching Multi-Functional Head
G -S050-06(GXH-1J,1JS) G -S050-06(GXH-1J,1JS)
Fig. BL-3
電装ボックス
L-
リレー2、
I/O
ボード
Electrical Box L-Relay 2,I/O Board

G -S050-06
1012-003
95
Key No. PART No. PART NAME Q’ty REMARKS New Code
NOTE
BL-3
258 6301315409 BRACKET 1
829C-A010020-A053
211F8983
264 6301235707 P.C.B,MOUNT 1 -U16
829C-A010020-A153
4B111448
265 6301314549 PROGRAM ROM 1
829C-A010020-A154
24000128
267 6300628258 MOTOR,DC 1 M1
19
829C-A010020-A157
4M130008
268 6300716542 ACCESSORY,MOT-M 1
829C-A010020-A158
23M00035
269 6301258980 MECH PARTS(RUBBER LEGS) 2
829C-A010020-A159
226J1897
271 6300007619 BOLT,HEX-SCT 1→3 M4X8
221A0016
273 4111130700 SCR PAN 3X16
8→12
M3X16 PAN 221E0491
276 4111412905 WASHER SPR 4 1→3 SW4
221H0284
281 4111414008 WASHER V 4X9X0.8 1→3 FW4
221H0315
284 4110081706 WASHER SPR 4 2→6 SW4 F
221H0283
285 4111192104 WASHER V 4X9X0.8 2→6 FW4 F
221H0314
291 6300007510 BOLT,HEX-SCT 2 M3X8
221A0006
293 4111132506 SCR PAN 4X40 4 M4X40 P
AN 221E0508

G -S050-06
0909-002
96
586
A
590
592
588
589
VIEW "A"
587
ADD (For Left-Front)
ADD (For Left-Front)
多機能ヘッド取付本体対応
Main Machine Modification(Left-Front)
(左前)
For
Attaching Multi-Functional Head
G -S050-06(GXH-1J,1JS) G -S050-06(GXH-1J,1JS)
Fig. BL-6
電装ボックス
L-
ケ - ブル
Electrical Box L-Cable