KE-3010A_20VA_20VRA_使用说明书 - 第161页
第 1 部 基本篇 第 2 章 生产 2-29 2-7-1-3 外形基准的调整方法 所谓外形基准,是指对以基板前端为基准停止的基板进行夹紧的方法。 像陶瓷基板等材质、没有基准 销用孔的基板、或孔径与基 准销的直径不一致的基板, 应选择外形 基准。 <步骤> (1) 请从菜单栏的[生产]菜单选择[支援准备] 。 请按[传送控制]按钮。 显示传送控制画面。

第 1 部 基本篇 第 2 章 生产
2-28
<在「自动调整基板宽度画面」的调整方法>
(1)请从菜单栏选择[生产]-[支援准备]。
(2)请对准传送宽度尺寸。
按下画面 1「自动调整基板宽度」按钮,即可显示出“自动调整基板宽度”画面。
注意
按以下说明点击[移动]按钮后,传送功即随之启动。点击之前,务必确
认传送活动区域没有妨碍物体。
③ 选择[移动],调整宽度。
马达旋转,执行调整。
① 选择[宽度回原点],
执行宽度回原点。
② 输入[尺寸]、[余宽]。
([余宽]宽度不适合基板传时,请进行
调整(-0.5mm
〜
0.5mm。)
④ 确认传送是否顺畅。

第 1 部 基本篇 第 2 章 生产
2-29
2-7-1-3 外形基准的调整方法
所谓外形基准,是指对以基板前端为基准停止的基板进行夹紧的方法。
像陶瓷基板等材质、没有基准销用孔的基板、或孔径与基准销的直径不一致的基板,应选择外形
基准。
<步骤>
(1) 请从菜单栏的[生产]菜单选择[支援准备]。
请按[传送控制]按钮。
显示传送控制画面。

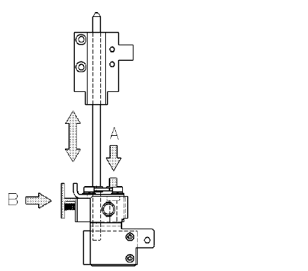
第 1 部 基本篇 第 2 章 生产
2-30
(2) 降下定心销。(基准销选项有效时)
定心销(基准销和从动销)与外形基准块被一体化,固定在支撑台上。
在此状态下,如果支撑台上升,则定心销会碰到基板。
因此,使用外形基准时,请降下定心销,在设定时要使定心销不与基板接触。
<设定方法>
● 降下定心销时→沿箭头方向按A。
● 升起定心销时→沿箭头方向按B。
(3) 请拧松定心销(从动侧)导块。
转动导块螺栓、支撑台操作手柄,拧松。