KE-3010A_20VA_20VRA_使用说明书 - 第473页
第 1 部 基本篇 第 4 章 制作生产程序 4-77 (2) 图像定心时 选择定心选项卡,即显示如下画面。 1) 吸嘴号、元件吸取真空压、夹式吸嘴数据 与「 ( 1 )激光定心时」的设置相同。 2) CDS 高度 ( 仅 KE-3020 V A) IC Head 检测有无元件 (从 VCS 定中心后到贴片前有元件落下等) 时, 使用 CDS(Component Detection Sensor) 光纤传感器。 输入从吸嘴前端到 CDS…

第 1 部 基本篇 第 4 章 制作生产程序
4-76
<使用夹式吸嘴时的设置项目>
除上述“吸嘴数据”外,夹式吸嘴的下述设置与通常的元件不同。
①使用新夹式吸嘴时,先通过「机器设置」中的“文件”/“读出吸嘴数据”,读入夹式吸嘴的信息。
②将吸嘴安装到 ATC 上。
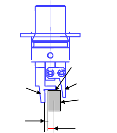
将夹式吸嘴安装到 ATC 单元上,从正面看,夹式吸嘴的固定臂应在后面,摇臂应在近前。
安装大型夹式吸嘴至 ATC 单元,臂左右运动时,应安装成固定臂向右侧,摇臂向左侧的方式。
③设置元件数据。
a.设置吸嘴编号
吸嘴编号为 800 多号。
b.设置激光高度
指定从固定臂前端到激光面的距离。
设置基准:-(元件高度-3.5mm
※
)/2,根据引脚位置进行微调。
※ 从“c”至固定臂的距离=3.5mm
(例)元件高度为 5mm 时
-(5-3.5)/2 = -0.75mm
④设置吸取数据。
以夹紧部中心示教XY。由 于 Z是利用机器设置中已注册的吸嘴信息与元件高度自动计算的,因
此无需示教。
10) 推进量-负荷图的显示
根据不同的选择吸嘴,显示推进时的行程与负荷的关系图。
a
b
元件
c
固定臂
摇臂
水平间隙(b)
抓取位置(a)

第 1 部 基本篇 第 4 章 制作生产程序
4-77
(2) 图像定心时
选择定心选项卡,即显示如下画面。
1) 吸嘴号、元件吸取真空压、夹式吸嘴数据
与「(1)激光定心时」的设置相同。
2) CDS 高度(仅 KE-3020VA)
IC Head 检测有无元件(从 VCS 定中心后到贴片前有元件落下等)时,使用 CDS(Component
Detection Sensor)光纤传感器。
输入从吸嘴前端到 CDS 光照射到的测量位置的尺寸,作为此 CDS 检测有无元件的高度。
虽然 CDS 高度是根据元件高度自动决定默认值(初始值),有时也需要根据元件的形状变更默
认值。
请设置能够稳定地进行识别的高度(模部)。
◆默认值
CDS 高度的默认值,要根据元件高度进行设置。默认值与元件种类无关,均为“-(元件
高度×1/3)”。
部品高さ
t
t
3
-ー
センサ測定位置
センサ光
部品
ノズル
0
○
×
+Z
-Z
センサ光
部品
ノズル
0
○
×
+Z
-Z
吸嘴
元件
吸嘴
元件
传感器光
传
感器光
元件高
度
传
感器测量
位
置

第 1 部 基本篇 第 4 章 制作生产程序
4-78
3) 识别(中心)偏移量
图像定心是通过将吸取中心位置(通常是元件中心位置)移动到 VCS 的中心位置来进行。但像
MCM(Multi Chip Module)之类的元件,因不能吸取元件中心,如果超出 VCS 视角范围时,将不
能进行图像定心。此时,可通过输入如下图的偏移值(a、b),使之正常进行识别。
输入示例
4) S-VCS (KE3010A 为选购项)
在 VCS 上不停地进行图像识别的功能。
设置为[是],则 Head 在 VCS 上边向 X 轴方向移动,边连续对元件进行拍摄。
但是,对于通用图像元件(引脚元件类型中元件要素组数为 3 以下的外引脚、或内引脚的元件要
素为 2 以上的元件除外)、使用透过照明的元件、超过□33.5mm 的元件、XY 速度为低速以下的
元件、识别中心偏移的元件、分割识别元件等已设置元件,不进行 S-VCS 识别。
+
a
b
: 吸取中心位置
+ : 元件中心位置
(a、b)=(5,-2)
吸取中心位置=VCS 的中心位置
+
+
-Y 方向
+X 方向
:VCS 的视野
(上视图)