JP-001-001e.pdf - 第11页
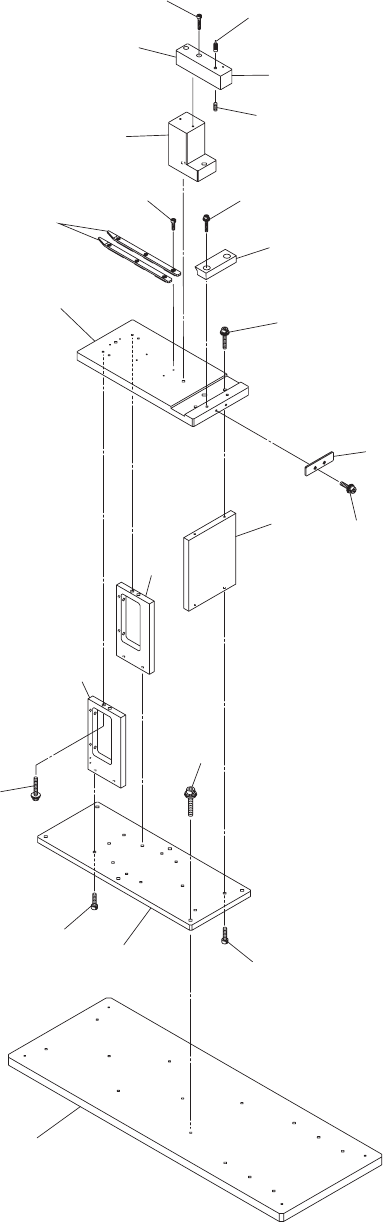
1005-001 9 Key No. P AR T No. P AR T NAME Q’ty REMARKS New Code JG-0209 JG-0209E JG-0209J 101 6300387667 PLA TE(COLUMN-1) 1 1 1 932B--010-001 21 1DE664 102 6300387780 PLA TE(COLUMN-2) 1 1 1 932B--010-002 21 1DE665 103 63…

1005-001
8
155
155
143
144
145
101
103
102
105
104
170
167
167
175
181
215
190
195
177
191
196
162
189
194
163
189
194
141
142
142
See Fig. B-1
Key No.7
117
135
135
170
140
195
170
190
195
治具本体部
JIG MAIN BODY SECTION
Fig. B-2 XY
テーブル部
XY TAble Section

1005-001
9
Key No. PART No. PART NAME Q’ty REMARKS New Code
JG-0209
JG-0209E
JG-0209J
101 6300387667 PLATE(COLUMN-1) 1 1 1 932B--010-001 211DE664
102 6300387780 PLATE(COLUMN-2) 1 1 1 932B--010-002 211DE665
103 6300387793 PLATE(COLUMN-3) 1 1 1 932B--010-003 211DE666
104 6301746234 BRACKET(LIGHTING U/T) 1 1 1 932B--010-004 211FE526
105 6301746272 BLOCK(MICROSCOPE-HOLDER) 1 1 1 932B--010-005 211G6253
117 6301746333 COLLAR(LOCATE) 1 1 1 932B--010-017 216A1656
135 6301449555 PLATE 2 2 2 932B--010-035 211DB523
141 6301741246 TOOL,MEASURE(XY-AXIS) 1 1 1 932B--010-101 228B0153
142 6301544267 TOOL,MEASURE 2 2 2 932B--010-102 228B0147
143 6301699127 UNIT,CAMERA 1 1 1 932B--010-103 4U220101
144 6301741147 SCOPE UNIT 1 1 1 932B--010-104 4Z100174
145 6301723556 LIGHTING UNIT 1 1 1 932B--010-105 4Z110232
155 6301748214 ACCESSORY,WIRING 3 3 3 932B--010-115 23N30733
162 6300007527 BOLT,HEX-SCT 2 2 2 932B--010-202 221A0007
163 6300007503 BOLT,HEX-SCT 4 4 4 932B--010-203 221A0005
167 4110352707 SCR FLT 4X8 3 3 3 932B--010-207 221D0225
170 6300007664 BOLT,HEX-SCT 9 9 9 932B--010-210 221A0021
175 6300007763 BOLT,HEX-SCT 4 4 4 932B--010-215 221A0031
177 6300007787 BOLT,HEX-SCT 2 2 2 932B--010-217 221A0033
181 6300007893 BOLT,HEX-SCT 1 1 1 932B--010-221 221A0044
189 4111412806 WASHER SPR 3 6 6 6 932B--010-229 221H0281
190 4111412905 WASHER SPR 4 9 9 9 932B--010-230 221H0284
191 4111416705 WASHER SPR 5 2 2 2 932B--010-231 221H0287
194 4111413902 WASHER V 3X7X0.5 6 6 6 932B--010-234 221H0312
195 4111414008 WASHER V 4X9X0.8 9 9 9 932B--010-235 221H0315
196 4111414107 WASHER V 5X10X1 2 2 2 932B--010-236 221H0318
B-2

1005-001
10
See Fig. B-1
Key No.13
206
287
282
272
264
264
224
211
209
210
218
230
225
226
267
282
287
266
261
273
255
252
281
286
232
266
281
286
222
264
281
286
治具本体部
JIG MAIN BODY SECTION
Fig. B-3
フィーダセット部
Feeder Set Section