00190802-02 - 第109页
User’s Manual Line Computer UNIX 4 Data Management Software Version 402.xx Edition 06/96 4.1 Introduction 4 - 3 4.1. 2.1 M odules of t he DNC Sy stem - Data Manager User Interface The us er interface of the Data Manag er…

4 Data Management User’s Manual Line Computer UNIX
4.1 Introduction Software Version 402.xx Edition 06/96
4 - 2
CAUTION
∆
!
The line computer software makes it possible to modify existing master and job data, or to create new
ones. It is strongly recommended that the user, with the aid of the Data Manager (see section 4.3) make
backup copies of the data to magnetic tape at regular intervals due to the possibility of accidental loss (e.g.
grave operator mistakes, infection by viruses or external damage to the computer system).
4.1.2 Structure and Function of the DNC System (Data Administration)
The DNC system is designed to hierarchically store and maintain the user data.
Moreover, it provides the possibility to output files on printers or I/O-devices (tape and diskette drives) upon
request by a user.
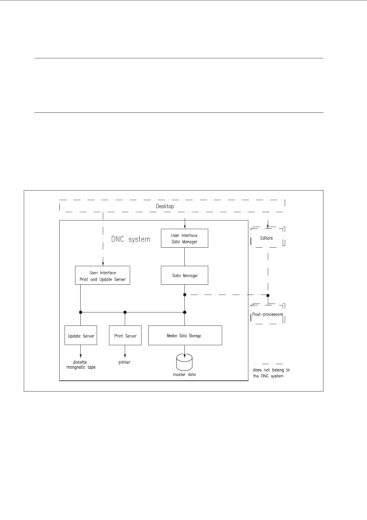
Fig. 4.1.1 Structure "DNC System"

User’s Manual Line Computer UNIX 4 Data Management
Software Version 402.xx Edition 06/96 4.1 Introduction
4 - 3
4.1.2.1 Modules of the DNC System
-
Data Manager User Interface
The user interface of the Data Manager (see section 4.3) enables the manipulation of files and
directoriies.
-
Print and Update Server User Interface
The user interface of the Print and Update Server (see section 4.4) enables the devices which are
physically available in the LC system, such as printers, diskette and tape drives, to be logged on to
(activated) or logged off (deactivated) the user system and to prepare data carriers for data saving
procededures.
-
Print Server
Upon the request by a user (e.g. the Data Manager), the Print Server outputs files, directories and
directory structures on the printer.
-
Update Server
Upon the request by a user (e.g. the Data Manager) the Update Server enables files and directories
to be copied to external data carriers such as diskettes and streaming tapes.
-
Master Data Storage
The Master Data Storage manages data, attributes and user-specific information. Upon request it
makes available stored data, or receives new data.

4 Data Management User’s Manual Line Computer UNIX
4.1 Introduction Software Version 402.xx Edition 06/96
4 - 4