00193921-01.pdf - 第253页
Betriebsanleitung SIPLACE HF-Serie 6 BE-Handling Softwareversion SR.505.xx Ausgabe 05/2004 DE 6.2 Technische Daten der Förderer 253 6.2.15.1 Funktionsbeschreibung Das BE-En tsorgung smodul i st prin zipiell wi e ein För …

6 BE-Handling Betriebsanleitung SIPLACE HF-Serie
6.2 Technische Daten der Förderer Softwareversion SR.505.xx Ausgabe 05/2004 DE
252
6.2.15 BE-Entsorgungsmodul
6
Abb. 6.2 - 15 BE-Entsorgungsmodul
6
Artikelnummer 00141200-xx
Breite 54,3 mm
Spuren pro Modul 1
Belegte Stellplätze 2
Bauelemente-Spektrum bis 27 x 27mm² bei einer Taschengröße von 30 x 30 mm²
bis 13 x 13 mm² bei einer Taschengröße von 15 x 30 mm²
Maximale Bauelemente-Höhe 14 mm
Transporthub (einstellbar) 20 mm für eine Taschengröße von 15 x 30 mm²
36 mm für eine Taschengröße von 30 x 30 mm²

Betriebsanleitung SIPLACE HF-Serie 6 BE-Handling
Softwareversion SR.505.xx Ausgabe 05/2004 DE 6.2 Technische Daten der Förderer
253
6.2.15.1 Funktionsbeschreibung
Das BE-Entsorgungsmodul ist prinzipiell wie ein Förderer aufgebaut. Anstelle des Bauelemente-
gurts hat es jedoch einen Leergurt. In die Taschen dieses Leergurts können fehlerhafte Bauele-
mente abgelegt werden, ohne sie zu beschädigen. Diese Bauelemente lassen sich später
manuell prüfen und reparieren und können so erneut bestückt werden. Der Vorteil des Entsor-
gungsmoduls besteht darin, dass der Bediener die aussortierten Bauelemente ohne Unterbre-
chung des Bestückprozesses entnehmen kann. Sind alle Taschen des Leergurts gefüllt, wird der
Bediener über den Monitor aufgefordert, die Bauelemente zu entnehmen. 6
6.2.15.2 Systemvoraussetzungen
Für den Einsatz des BE-Entsorgungsmoduls sind folgende Systemvoraussetzungen zu erfüllen:6
SIPLACE Pro-Rechner-Software ab V 2.0
Stationsrechner-Software ab V 505.xx
HINWEIS:
Das BE-Entsorgungsmodul muss im SIPLACE Pro-Rechner konfiguriert und am Stationsrechner
aktiviert sein. 6
6.2.15.3 Bedingungungen für das Entsorgen von Bauelementen mit dem BE-Entsorgungs-
modul
Ein Bauelement wird in das BE-Entsorgungsmodul abgelegt, wenn folgende Bedingungen erfüllt
sind: 6
– Der zu entsorgende Bauelementetyp muss in der Rüstung am SIPLACE Pro-Rechner einge-
tragen sein.
– Das Bauelement muss zur Ablage gekennzeichnet sein.
– Zum Aussondern gekennzeichnete Bauelemente, die aus einem Tray abgeholt wurden, wer-
den wieder in das Tray zurückgelegt. Nur Bauelemente, die im Dip-Modul mit Flussmittel be-
netzt wurden, werden zum Aussondern in das BE-Entsorgungsmodul abgelegt.

6 BE-Handling Betriebsanleitung SIPLACE HF-Serie
6.2 Technische Daten der Förderer Softwareversion SR.505.xx Ausgabe 05/2004 DE
254
6.2.16 Halterung für Flächenmagazine (Manuelles Tray)
Mit der Halterung für Flächenmagazine können von einzelnen Flächenmagazinen Bauelemente
abgeholt werden. Die Flächenmagazine werden von Hand gewechselt. 6
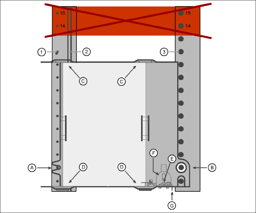
6
Abb. 6.2 - 16 Ein/Ausbau
(1) Zentrierstifte
(2) Magnetleiste
(3) Kalotte
(14), (15) Diese Position darf nicht belegt werden.
Die Halterung für Flächenmagazine wird wie ein Förderer auf den BE-Tisch gestellt. Es gibt zwei
verschiedene Ausführungen von Halterungen, die sich in der Breite unterscheiden. 6
Halterung für großes Flächenmagazin (260x360mm², belegt 9 Stellplätze)
Artikel-Nr. 00116430-01 und 6
Halterung für kleines Flächenmagazin (136x360mm², belegt 5 Stellplätze)
Artikel-Nr. 00116432-01 6