00193921-01.pdf - 第285页
Betriebsanleitung SIPLACE HF-Serie 7 Stationserweiterungen Softwareversion SR.505.xx Ausgabe 05/2004 DE 7.1 Pipett enwechsler 285 7.1.2 Pipette nwechsle r für den 6-Segment-Collect&Place-Kopf Dieser Pipettenw echsler…

7 Stationserweiterungen Betriebsanleitung SIPLACE HF-Serie
7.1 Pipettenwechsler Softwareversion SR.505.xx Ausgabe 05/2004 DE
284
7.1.1.9 Montagesatz für den Pipettenwechsler "Reihe 2"
Der Pipettenwechsler "Reihe 2" kann an folgenden Stellplätzen installiert werden:
HF-Automat: Stellplätze 1 und 3 (siehe Abb. 7.1 - 2
, Seite 276)
HF/3-Automat: Stellplätze 1, 3 und 4 (siehe Abb. 7.1 - 3
, Seite 277)
Das Nachrüstpaket enthält neben dem Pipettenwechsler einen Montagesatz und eine Pipetten-
abzugsvorrichtung mit Abwurfbehälter.
7
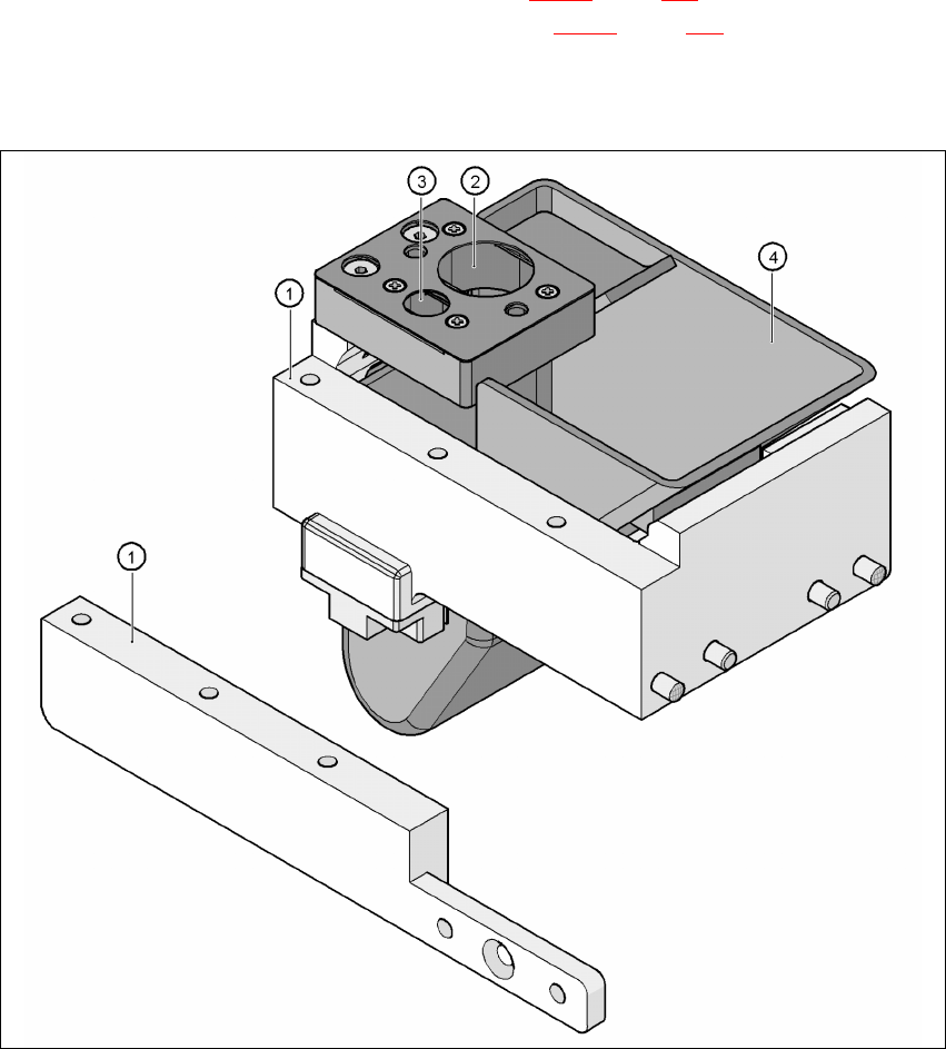
Abb. 7.1 - 8 Montagesatz für den Pipettenwechsler "Reihe 2"
(1) Montagesatz für den Pipettenwechsler "Reihe 2"
(2) Pipettenabzugsvorrichtung für Pipetten des Typs 8xx
(3) Pipettenabzugsvorrichtung für Pipetten des Typs 9xx
(4) Pipettenabwurfbehälter

Betriebsanleitung SIPLACE HF-Serie 7 Stationserweiterungen
Softwareversion SR.505.xx Ausgabe 05/2004 DE 7.1 Pipettenwechsler
285
7.1.2 Pipettenwechsler für den 6-Segment-Collect&Place-Kopf
Dieser Pipettenwechsler kann bis zu 6 Magazine mit jeweils 6 Pipettengaragen aufnehmen. Zwei
Magazintypen stehen zur Verfügung: Magazine für Pipetten vom Typ 8xx und Magazine für Pipet-
ten vom Typ 9xx. Die Magazine sitzen auf einem gemeinsamen Träger. Sie sind mit zwei Zylin-
derstiften zentriert und mit Klammern fixiert.
7
Abb. 7.1 - 9 Pipettenwechsler für den 6-Segment-Collect&Place-Kopf
7.1.2.1 Technische Daten
7
Pipettenwechsler für den 6-Segment Collect&Place-Kopf
Abmessungen (Länge x Breite x Höhe) 448 x 122,5 x 97,7 mm³
Anzahl der Pipettengaragen 6
Pipettentypen 8xx, 9xx
Zeit zum Öffnen und Schließen der Verriegelungs-
platte
< 200 ms
Druckluftanschluss 0,48 MPa (4,8 bar)

7 Stationserweiterungen Betriebsanleitung SIPLACE HF-Serie
7.1 Pipettenwechsler Softwareversion SR.505.xx Ausgabe 05/2004 DE
286
7.1.2.2 Lage der Pipettenwechsler für den C&P6-Kopf am HF-Automaten
An den Stellplätzen 1 und 3 können bis zu 2 Pipettenwechsler für den 6-Segment-Collect&Place-
Kopf installiert werden (Pos. 1 und 2 in Abb. 7.1 - 10
). An den Stellplätzen 2 und 4 kann je ein
Pipettenwechsler installieren. Dies ergibt eine Gesamtkapazität von 6 Pipettenwechslern mit 36
Magazinen und insgesamt 216 Pipettengaragen.
7
Abb. 7.1 - 10 Lage der Pipettenwechsler für den C&P6-Kopf am HF-Automaten
(1) Pipettenwechsler "Reihe 1"
(2) Pipettenwechsler "Reihe 2"
(3) Abwurfbehälter für Bauelemente
(4) Abzugsvorrichtung und Abwurfbehälter für Pipetten
(5) Pipettenmagazin
7
7
7