00193921-01.pdf - 第295页
Betriebsanleitung SIPLACE HF-Serie 7 Stationserweiterungen Softwareversion SR.505.xx Ausgabe 05/2004 DE 7.1 Pipett enwechsler 295 7.1.3 Pipette nwechsler fü r den SIPLACE T winHead Dieser Pipettenwe chsler k ann bis zu 1…

7 Stationserweiterungen Betriebsanleitung SIPLACE HF-Serie
7.1 Pipettenwechsler Softwareversion SR.505.xx Ausgabe 05/2004 DE
294
7.1.2.9 Montagesatz für den Pipettenwechsler "Reihe 2"
Der Pipettenwechsler "Reihe 2" kann an folgenden Stellplätzen installiert werden:
HF-Automat: Stellplätze 1 und 3 (siehe Abb. 7.1 - 10
, Seite 286)
HF/3-Automat: Stellplätze 1, 3 und 4 (siehe Abb. 7.1 - 11
, Seite 287)
Das Nachrüstpaket enthält neben dem Pipettenwechsler einen Montagesatz und eine Pipetten-
abzugsvorrichtung mit Abwurfbehälter.
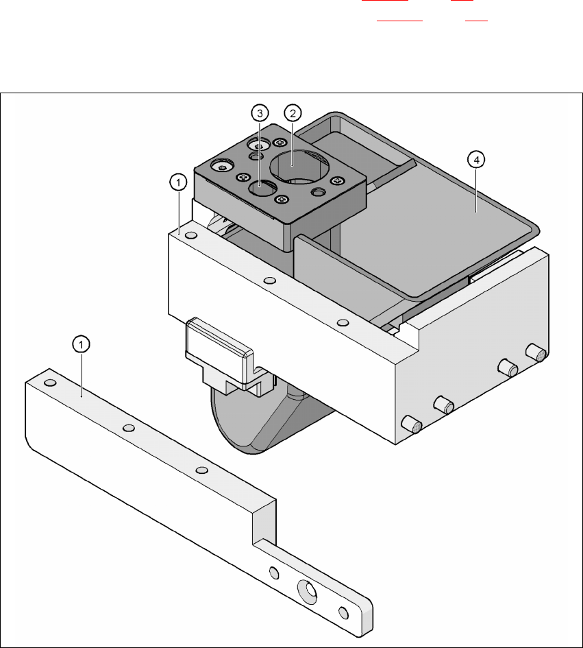
7
Abb. 7.1 - 16 Montagesatz für den 2. Pipettenwechsler
(1) Montagesatz für den Pipettenwechsler "Reihe 2"
(2) Pipettenabzugsvorrichtung für Pipetten des Typs 8xx
(3) Pipettenabzugsvorrichtung für Pipetten des Typs 9xx
(4) Pipettenabwurfbehälter

Betriebsanleitung SIPLACE HF-Serie 7 Stationserweiterungen
Softwareversion SR.505.xx Ausgabe 05/2004 DE 7.1 Pipettenwechsler
295
7.1.3 Pipettenwechsler für den SIPLACE TwinHead
Dieser Pipettenwechsler kann bis zu 12 Pipettenmagazine aufnehmen. Zwei Magazintypen ste-
hen zur Verfügung: Standardmagazine und Magazine für Sonderpipetten oder Greifer. Die Maga-
zine sitzen auf einem gemeinsamen Träger. Sie sind jeweils mit zwei Zylinderstiften zentriert und
mit zwei Senkkopfschrauben fixiert.
7
Abb. 7.1 - 17 Pipettenwechsler für den SIPLACE TwinHead
7
7
7.1.3.1 Technische Daten
7
Pipettenwechsler für den SIPLACE TwinHead
Abmessungen (Länge x Breite x Höhe) 448 x 68,5 x 49 mm³
Anzahl der Pipettengaragen 16 für Standardpipetten
4 für Sonderpipetten oder Greifer
Pipettentypen 5xx, Standard
4xx mit Adapter
9xx mit Adapter
Pipettenwechselzeit < 2 s

7 Stationserweiterungen Betriebsanleitung SIPLACE HF-Serie
7.1 Pipettenwechsler Softwareversion SR.505.xx Ausgabe 05/2004 DE
296
7.1.3.2 Lage der Pipettenwechsler für den TwinHead am HF-Automaten
An den Stellplätzen 1 und 3 kann jeweils ein Pipettenwechsler für den TwinHead installiert werden
(Pos. 1 in Abb. 7.1 - 18
). Dies ergibt eine Gesamtkapazität von 2 Pipettenwechslern mit 24 Ma-
gazinen und insgesamt 48 Pipettengaragen.
7
Abb. 7.1 - 18 Lage der Pipettenwechsler für den TwinHead am HF-Automaten
(1) Pipettenwechsler
(2) Standardmagazin
(3) Magazin für Sonderpipetten oder Greifer
(4) BE-Abwurfbehälter
7
7