00193921-01.pdf - 第324页
7 Stationserweiterungen Betriebsanleitung SIPLAC E HF-Serie 7.8 LP-Ausricht ung Softwareversion S R.505.xx Ausgabe 05/2004 D E 324 7.8.2 Funktionsbeschreibung Die Leiter platte wir d in den Bestü ckbereic h transp ortier…

Betriebsanleitung SIPLACE HF-Serie 7 Stationserweiterungen
Softwareversion SR.505.xx Ausgabe 05/2004 DE 7.8 LP-Ausrichtung
323
7.8 LP-Ausrichtung
7.8.1 Allgemeines
Leiterplatten, die verarbeitet werden sollen, besitzen zuweilen ein Längen-/Breitenverhältnis von
1:2 oder ungünstiger. Das bedeutet, dass die kürzere Seite der LP in LP-Transportrichtung zeigt.
Während des Transports können sich solche Leiterplatten etwas verdrehen, so dass die Passmar-
ken nicht mehr im Suchfenster der LP-Kamera liegen. Die Option "LP-Ausrichtung" sorgt dann da-
für, dass diese Leiterplatten wieder exakt an der Stoppposition ausgerichtet werden.
Werden Leiterplatten mit Aussparungen in Transportrichtung verarbeitet, kann dies bei Automa-
ten mit mechanischem Stopper (HS-50, S-25 HM, F5 HM) und bei Automaten, die diese Position
mit Laserlichtschranke überwachen (HF, HS-60, S-27 HM) zu unterschiedlichen Bearbeitungspo-
sitionen führen. Mit der Option "LP-Ausrichtung" wird sichergestellt, dass die Leiterplatten bei al-
len LP-Transporten an derselben Position gestoppt werden. Die Option "LP-Ausrichtung" gibt es
für den Einzel- und den Doppeltransport.
7
Abb. 7.8 - 1 LP-Ausrichtung
(1)Hubtisch
(2)LP-Anschlag
7 Stationserweiterungen Betriebsanleitung SIPLACE HF-Serie
7.8 LP-Ausrichtung Softwareversion SR.505.xx Ausgabe 05/2004 DE
324
7.8.2 Funktionsbeschreibung
Die Leiterplatte wird in den Bestückbereich transportiert, bis die Laserlichtschranke das Stoppsi-
gnal für den LP-Transport auslöst. Danach fährt der Hubtisch mit den LP-Anschlägen in eine Po-
sition nach oben, in der die Leiterplatte noch nicht geklemmt wird und von den Transportbändern
noch bewegt werden kann. Die beiden LP-Anschläge befinden sich in Höhe der Leiterplatte, die
LP-Unterstützungen (magnetische Stifte) berühren bereits die Leiterplatte. Beide Transportbän-
der fahren die Leiterplatte gegen die LP-Anschläge und richten sie währenddessen aus. Danach
fährt der Hubtisch in seine obere Endposition, klemmt die Leiterplatte und löst diese von den LP-
Anschlägen, um den Bestückprozess nicht zu beeinträchtigen. Nach dem Bestückprozess wer-
den Hubtisch und LP-Ausrichtung abgesenkt und die Leiterplatte weitertransportiert.
7

Betriebsanleitung SIPLACE HF-Serie 7 Stationserweiterungen
Softwareversion SR.505.xx Ausgabe 05/2004 DE 7.9 Förderer-Abdeckklappe
325
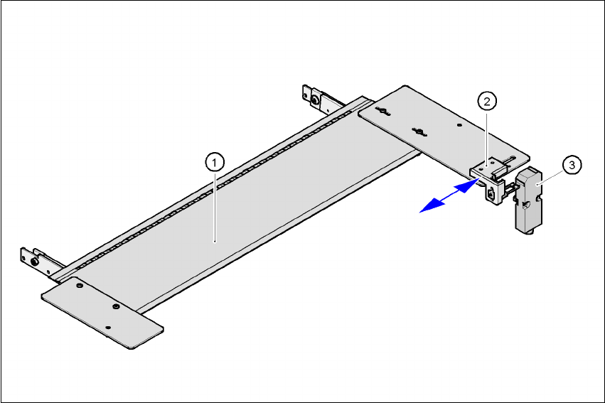
7.9 Förderer-Abdeckklappe
Die Förderer-Abdeckklappe wird über den BE-Zuführbereich installiert. Sie soll einen Kopfcrash
mit einem hochstehenden Niederhalter eines Förderers verhindern, der zuvor nicht richtig einge-
rastet wurde. Zudem kann durch die Förderer-Abdeckklappe ausgeschlossen werden, dass die
Frontseite von Förderern durch unsachgemäße Bedienung in den Verfahrbereich des Bestück-
kopfes gelangt.
7
Abb. 7.9 - 1 Förderer-Abdecklappe für die Stellplätze 1 und 3
(1)Förderer-Abdeckklappe
(2)Mechanische Verriegelung
(3)Schalter im NOT-HALT-Kreis
Die Förderer-Abdeckklappe wird in zwei Ausführungen angeboten: eine Version für die Stellplätze
1 oder 3, eine Version für die Stellplätze 2 oder 4.
Der Schalter der Förderer-Abdeckklappe wird in den NOT-HALT-Kreis eingeschleift. Die Förderer-
Abdeckklappe muss mechanisch verriegelt werden. Dabei schließt der Schalter den geöffneten
NOT-HALT-Kreis.