_ built in up SN A-229_20211123_105613 - 第4页
~ built in up SN A-229 Page 4 / 7 23.11.2021

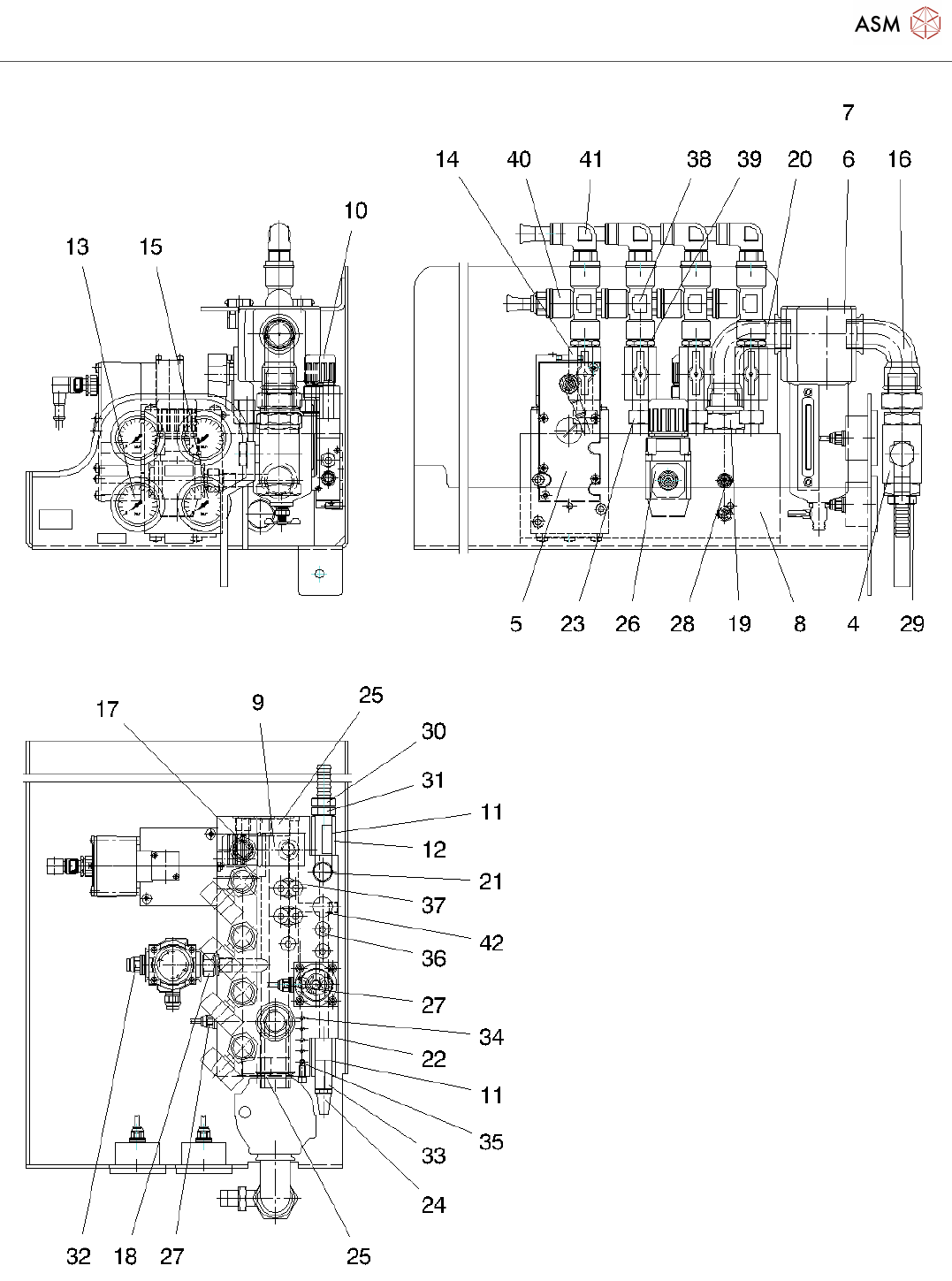
~ built in up SN A-229
Page 3 / 7 23.11.2021

~ built in up SN A-229
Page 4 / 7 23.11.2021

~ built in up SN A-229
Page 5 / 7 23.11.2021
Pos. Item no. Description Part marking
1 03004151-04 PNEUMATIC UNIT SIPLACE X-SERIES
2 03006773-03 ASSEMBLY CONTAINER
3 03004153-01 VALVE BLOCK SIPLACE X-SERIES
4 03004768-01 BALL VALVE G3/4
5 03004676S01 PROPORTIONAL-VALVE Spare Part
6 03004680-01 AIR PRESSURE FILTER 3/4 5UM WEAR PART
7 03038979-01 REPLACEMENTFILTER FOR
F74G-6GN-QP1 5UM
WEAR PART
8 03004698-01 BASE UNIT PNEUMATIC SIPL HF
(PLATE)
9 03004726-01 PUSH SWITCH SPARE PART
10 03004721-01 VALVE SPARE PART
11 03004699-01 3/2-VALVE 1/8 V60A413A-A3000 SPARE PART
12 03004707-01 MAGNET V10626-A13L FOR VALVE-
OPERATING
SPARE
13 03004708-01 PRESSURE GAUGE 18-013-858
0-6BAR
14 03004709-01 BALL VALVE G1/2 WITH ROTARY
HANDLE
15 03004710-01 PRESSURE GAUGE 18-013-857
0-10BAR
16 03004728-01 ARCH 3/4 I/A-THREAD
17 03004731-01 SILENCER G3/8 STANDARD PARTS
18 03004736-01 DOUBLE NIPPLE G1/4 CONICAL
DETACHABLE
19 03004740-01 DOUBLE NIPPLE G3/4 CONICAL
DETACHABLE
20 03004783-01 ELBOW I/O
21 03004784-01 SILENCER G1/4 STANDARD PARTS
22 03004753-01 O-RING NBR70 10.82X1.78
23 03004742-01 DOUBLE NIPPLE G1/2 CONICAL
DETACHABLE
24 03004743-01 SILENCER G1/8 STANDARD PARTS
25 03004775-01 LOCKING SCREW R3/4 ST+NBR
26 03004683-01 PRESSURE REGULATING 1/4 0,3-10
BAR
SPARE PART
27 03004797-01 STRAIGHT SCREW CONNECTION
G1/8 ID4
28 03004798-01 STRAIGHT SCREW CONNECTION