P-0217-001 - 第101页
0301-002 Key No . P AR T No. P AR T NAME Q’ty REMARKS NOTE 99 80 8 630 1 10 8766 CHUTE 1 755V--010-808 80 9 630 1 10 8889 CHUTE 1 755V--010-809 8 10 411 14 1 2 806 WASHER SPR 3 5 755V--010-1 14 8 1 1 4 1 1 1 4 1 39 0 2 W…

0301-002
98
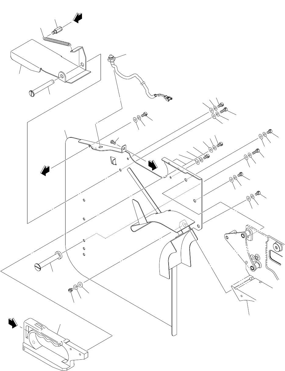
テープフィーダ TAPE FEEDER
PF-3210 PF-3210
Fig. V-9 シュート部 Chute Section
811
810
813
808
811
809
810
812
811
See Fig.V-1
Key No.14
See Fig.V-1
Key No.1
810
812
Fig.V-9

0301-002
Key No. PART No. PART NAME Q’ty REMARKS
NOTE
99
808 630 110 8766 CHUTE 1 755V--010-808
809 630 110 8889 CHUTE 1 755V--010-809
810 411 141 2806 WASHER SPR 3 5 755V--010-114
811 411 141 3902 WASHER V 3X7X0.5 5 755V--010-115
812 630 000 7503 BOLT,HEX-SCT 3 755V--010-117
813 630 000 7527 BOLT,HEX-SCT 2 755V--010-721
V-9
PF-3210

0301-002
100
リールホルダ RI-3210 REEL HOLDER RI-3210
Fig. VL-1 32mm 幅テ-プフィーダ用 FOR 32mm TAPE FEEDER
8
A
B
B
See Fig.V-1
Key No.1
16
15
10
10
15
16
3
2
1
6
5
11
15
16
12
15
16
10
15
16
12
15
16
9
13
14
9
13
14
9
13
14
9
13
14
4
Fig.VL-1
7
A
51