P-0217-001 - 第123页
0301-001 Key No . P AR T No. P AR T NAME Q’ty REMARKS NOTE 121 N-10 90 1 630 1 10 2429 SHAFT 1 7 5 5N--010-901 90 2 630 1 10 2436 SPRING,TORSION 1 7 5 5N--010-902 90 3 630 1 10 2443 ROLLER 1 75 5N--010-903 90 4 630 1 10 …

0301-001
120
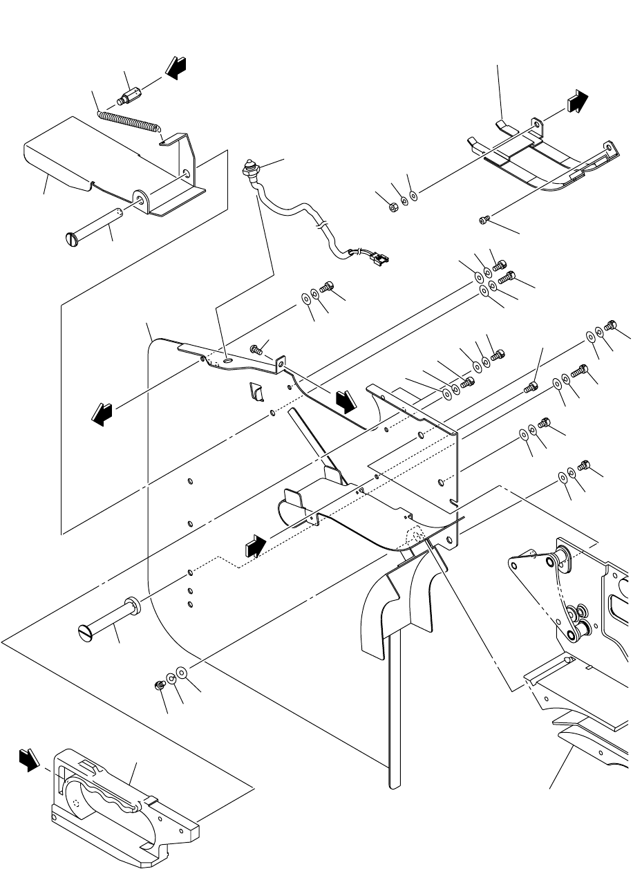
テープフィーダ TAPE FEEDER
PF-3211 PF-3211
Fig. N-10 テープ押さえ部 Tape Supporting Section
909
908
907
905
906
903
904
902
901
See Fig.N-1
Key No.1
Fig.N-10

0301-001
Key No. PART No. PART NAME Q’ty REMARKS
NOTE
121
N-10
901 630 110 2429 SHAFT 1 755N--010-901
902 630 110 2436 SPRING,TORSION 1 755N--010-902
903 630 110 2443 ROLLER 1 755N--010-903
904 630 110 5932 ASSY,LEVER 1 755N--010-801
905 411 001 0003 RING E 4 1 755N--010-415
906 411 000 9809 RING E 3 1 755N--010-118
907 630 000 7510 BOLT,HEX-SCT 1 755N--010-718
908 411 141 2806 WASHER SPR 3 1 755N--010-114
909 411 141 3902 WASHER V 3X7X0.5 1 755N--010-115
PF-3211

0301-001
122
リールホルダ RI-3211 REEL HOLDER RI-3211
Fig. NL-1 32mm 幅テ-プフィーダ用 FOR 32mm TAPE FEEDER
8
A
B
B
See Fig.N-1
Key No.1
16
15
10
10
15
16
3
2
1
6
5
11
15
16
12
15
16
10
15
16
19
12
15
16
9
13
14
9
13
14
18
14
17
13
20
9
13
14
9
13
14
4
+:↪࠹ࡊࡈࠖ࠳
Fig.NL-1
7
A
C
C
51