Protection hood output side left_20211118_082741 - 第6页
Protection hood output side left Page 6 / 7 18.11.2021 Pos. Item no. Description Part marking 1 00301868S03 COVER RIGHT SIDE SIPLACE 80S 2 00316445-01 SAFETY SCREEN RIGHT 3 00301870S03 COVER LEFT SIDE SIPLACE 80S 4 00316…

Protection hood output side left
Page 5 / 7 18.11.2021

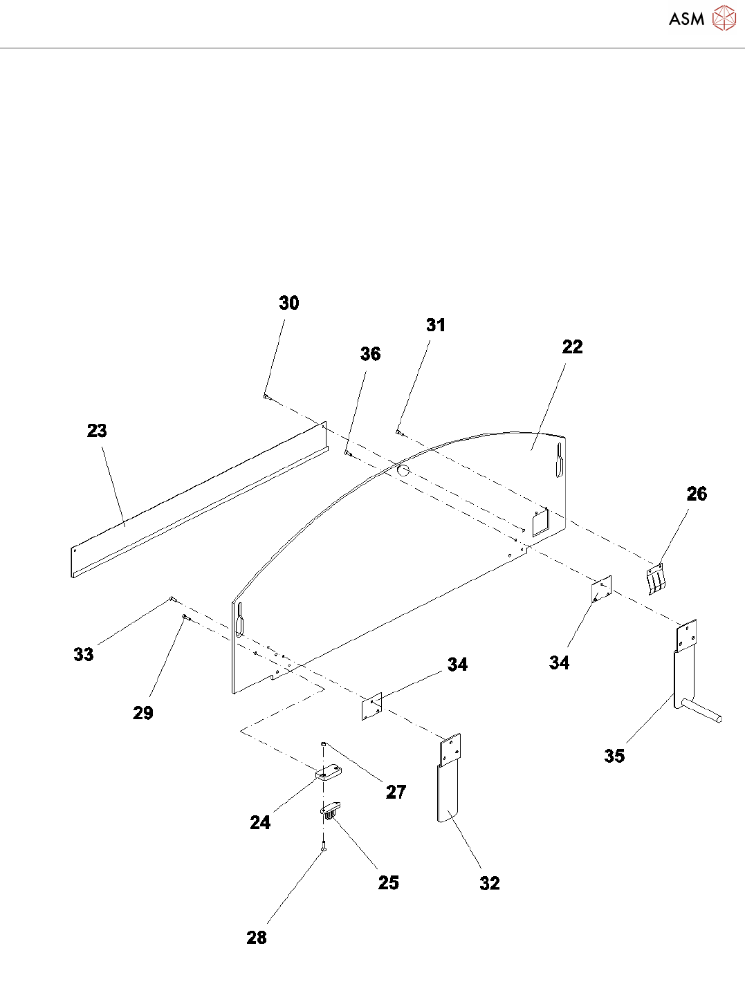
Protection hood output side left
Page 6 / 7 18.11.2021
Pos. Item no. Description Part marking
1 00301868S03 COVER RIGHT SIDE SIPLACE 80S
2 00316445-01 SAFETY SCREEN RIGHT
3 00301870S03 COVER LEFT SIDE SIPLACE 80S
4 00316471-01 SAFETY SCREEN LEFT
5 00304540-02 SIDE PANEL RIGHT
6 00301962-02 SIDE PANEL RIGHT HAND
7 00304519-01 BARCODE RAIL - RIGHT SIDE
8 00304548-01 ACTUATOR PART
9 00304577-01 FLEXIBLE ACTUATOR AZ 15/16 SPARE PART
10 00304567-01 CONTACT LEVER
00304576-01 BALL KNOB E25/M6
11 00095565-01 HEXAGON NUT
12 00095321-01 SLOTTED COUNTERSUNK HEAD
SCREW
13 00095120-01 HEXAGON SOCKET HEAD CAP
SCREW
14 00095108-01 HEXAGON SOCKET HEAD CAP
SCREW M4 X 12-8.8
15 00095110-01 HEXAGON SOCKET HEAD CAP
SCREW
16 00317575-01 PROTECTION CLIP
17 00320860-01 SLOTTED COUNTERSUNK HEAD
SCREW
18 00317455-01 SHIM
19 00322201-01 PROTECTION CLIP LEFT
20 00320860-01 SLOTTED COUNTERSUNK HEAD
SCREW
21 00304578-02 SIDE PANEL LEFT SIDE
22 00301969-02 SIDE PANEL LEFT HAND
23 00304605-01 BARCODE-STRIP LEFT SIDE
24 00304548-01 ACTUATOR PART
25 00304577-01 FLEXIBLE ACTUATOR AZ 15/16 SPARE PART
26 00304567-01 CONTACT LEVER
00304576-01 BALL KNOB E25/M6
27 00095565-01 HEXAGON NUT
28 00095321-01 SLOTTED COUNTERSUNK HEAD
SCREW

Protection hood output side left
Page 7 / 7 18.11.2021
Pos. Item no. Description Part marking
29 00095120-01 HEXAGON SOCKET HEAD CAP
SCREW
30 00095108-01 HEXAGON SOCKET HEAD CAP
SCREW M4 X 12-8.8
31 00095110-01 HEXAGON SOCKET HEAD CAP
SCREW
32 00317575-01 PROTECTION CLIP
33 00320860-01 SLOTTED COUNTERSUNK HEAD
SCREW
34 00317455-01 SHIM
35 00322201-01 PROTECTION CLIP LEFT
36 00320860-01 SLOTTED COUNTERSUNK HEAD
SCREW
37 00304579-02 SUPPORT PLATE RIGHT BEHIND
38 00304581-02 SUPPORT PLATE RIGHT FRONT
39 00304582-02 SUPPORT PLATE LEFT REAR
40 00304584-02 SUPPORT PLATE LEFT FRONT SIDE
41 00304585-01 LEVELLING PLATE
44 00304599-01 ACTUATING LEVER
45 00304600-01 ACTUATING LEVER LEFT
46 00304602-01 ACTUATING LEVER
47 00304621S01 FLANGE
48 00310868-01 COVER PLATE LEFT SIDE Spare Part
49 00310867-01 COVER PLATE RIGHT SIDE Spare Part
50 00320816-04 HINGED COVER LONG
51 00304577-01 FLEXIBLE ACTUATOR AZ 15/16 SPARE PART
52 00300491-03 PLATE
53 00304188-01 MOUNTING FOOT 22*4,3*14 STANDARD PARTS
54 00303617-03 HOOD SWITCH OUTPUT Spare Part
55 00301636-04 HOOD SWITCH (LEFT SIDE)
56 00301637-04 HOOD SWITCH (RIGHT SIDE)
57 00303614-03 HOOD SWITCH INPUT Spare Part
59 00303615-03 PROTECTIVE COVER SWITCH LEFT
60 00303616-03 HOOD SWITCH (RIGHT SIDE)
Powered by TCPDF (www.tcpdf.org)