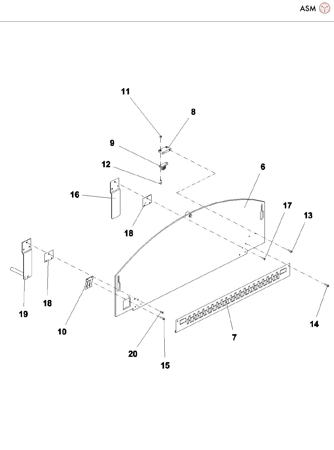
Protection hood output side left_20211118_082741 - 第3页
Protection hood output side left Page 3 / 7 18.11.2021

Protection hood output side left
Page 2 / 7 18.11.2021

Protection hood output side left
Page 3 / 7 18.11.2021

Protection hood output side left
Page 4 / 7 18.11.2021