00195731-0102_UM_X-Serie_SR605_EE - 第184页
3 Masina tehnilised andmed Kasutusjuhend SIPLACE X-Seeria 3.9 SIPLACE X-seeria komponentide käru X-sööt urimoodu lid Tarkvaraversiooni S R.605.xx põhjal 07/2008 EE väljaanne 184 3.9.5.1 Ki rjeldus Energia - ja andme side…

Kasutusjuhend SIPLACE X-Seeria 3 Masina tehnilised andmed
Tarkvaraversiooni SR.605.xx põhjal 07/2008 EE väljaanne 3.9 SIPLACE X-seeria komponentide käru X-sööturimoodulid
183
3.9.5 Energia- ja andmesideliides X-sööturimoodulitele
Tootenumber 00141247-xx Energia- ja andmesideliides X-sööturimoodulitele
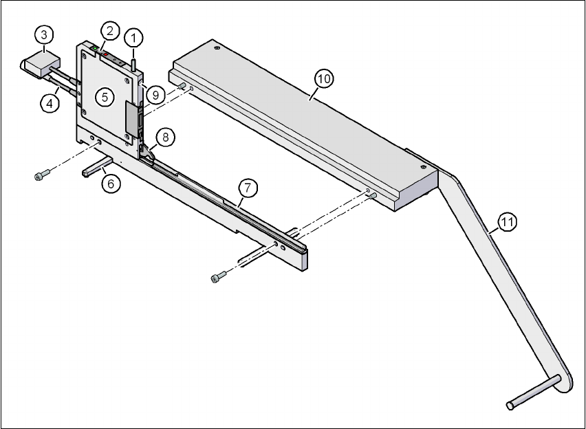
3
Joon. 3.9 - 16 Energia- ja andmesideliides X-sööturimoodulitele
(1) Nupp lukustusriivi vabastamiseks
(2) Operaatori paneel
(3) Andmekaabel
(4) Toitekaabel
(5) Elektroonikaploki korpus
(6) Kokkupandav jalg
(7) Oomega-profiilist juhik sööturimoodulite
(8) Lukustusriiv
(9) Paigaldusava sööturimooduli eesmisele tsentreerimistihvtile
(10) Alusplaat
(11) Pooli hoidja

3 Masina tehnilised andmed Kasutusjuhend SIPLACE X-Seeria
3.9 SIPLACE X-seeria komponentide käru X-sööturimoodulid Tarkvaraversiooni SR.605.xx põhjal 07/2008 EE väljaanne
184
3.9.5.1 Kirjeldus
Energia- ja andmesideliides võimaldab X-sööturimooduleid kasutada väljapool masinat ja seadis-
tusalal. Liides koosneb alumiiniumraamist koos oomega-profiiliga (pos. 7 joon. 3.9 - 14
, lk 181)
sööturimoodulite hoidmiseks ja juhtimiseks. Sööturimoodul asetatakse liugjuhikutega oomega-
profiilile (sarnaselt X-komponentide kärule) ning lükatakse ettepoole kuni sööturimooduli eesmine
tsentreerimistihvt sattub täielikult paigaldusavasse (pos 9 joon. 3.9 - 14
, lk 181). Lukustusriiv (pos.
8 joon. 3.9 - 14
, lk 181) lukustab sööturimooduli sellesse asendisse. Sööturimooduli vabastami-
seks vajutage lihtsalt vabastusnuppu (pos. 1 joon.
3.9 - 14
, lk 181). Lukustusriiv (pos. 8 joon. 3.9 - 14, lk 181) vajutatakse alla ja sööturimoodul va-
bastatakse. Kokkupandav jalg (pos. 6 joon. 3.9 - 14
, lk 181) stabiliseerib energia ja andmesidelii-
dese asendi, seda eriti laiade sööturimoodulite korral.
Elektroonikaploki korpuses (pos. 5 joon. 3.9 - 14
, lk 181) asub energia ja andmesideliidese elekt-
rooniline juhtseade. Operaatoripaneelil (pos. 2 joon. 3.9 - 14
, lk 181) asuvad käivitus- ja seiska-
misnupud ja kaks oleku LEDi. Andmeside arvutiga toimub läbi andmekaabli (pos. 3 joon. 3.9 - 14
,
lk 181
). Toitekaabel (pos. 4 joon. 3.9 - 14, lk 181) ühendatakse kaasasoleva toiteplokiga.
3.9.5.2 Kasutamine
Energia- ja andmesideliidest kasutatakse X-sööturimoodulite kontrollimiseks, hooldamiseks ja re-
montimiseks. Seda saab kasutada ka trükiplaatide tootmise eelnevaks seadistamiseks. Sellisel
juhul kinnitatakse energia- ja andmesideliides alusplaadi (pos. 10 joon. 3.9 - 18
, lk 187) külge. Ka
pooli hoidja (pos. 11 joon. 3.9 - 18
, lk 187) kinnitatakse alusplaadile. Komponentide lindi paigalda-
misel saate kontrollida või lähtestada sammu, haaramise asukohta ja konveieri kiirust. Üksikasja-
likus kasutusjuhendis kirjeldatakse liidese tööd ja vajalikke hooldustöid.
3.9.5.3 Tarnekomplekt
– Ühe piluga EDIF
a
– Elektritoide, 100 - 120 / 200 - 240 V~, +30V-, 4,3 A
– Alusplaat koos pooli teljega
– Kasutusjuhend
a) EDIF = energia- ja andmesideliides

Kasutusjuhend SIPLACE X-Seeria 3 Masina tehnilised andmed
Tarkvaraversiooni SR.605.xx põhjal 07/2008 EE väljaanne 3.9 SIPLACE X-seeria komponentide käru X-sööturimoodulid
185
3.9.6 Waffle-Pack-Tray kandja SIPLACE X-seeria komponentide kärule
Tootenumber 00141285-xx Waffle-Pack-Tray kandja, X-seeria
3
Joon. 3.9 - 17 Waffle-Pack-Tray kandja
(1) Waffle-Pack-Tray kandja SIPLACE X-seeriale
(2) Kinnitusklamber teise JEDEC Waffle-Pack-Tray jaoks
(3) Waffle-Pack-Tray kandja
(4) Tõkestusvardad JEDEC Waffle-Pack-Tray jaoks
(5) Seadetihvt - nullpunkt JEDEC Waffle-Pack-Tray jaoks
3
Üksikult paigaldatavad JEDEC Waffle-Pack-Tray'd või Waffle-Pack magasinid võib kinnitada
Waffle-Pack-Tray kandja külge magnetite abil. Kahe JEDEC Waffle-Pack-Tray' paigaldamisel
peate need kinnitama lukustus ja kinnitusrööbastega (nii, nagu Waffle-Pack-Tray kandja MTC kor-
ral).
Toode: Tootenumber:
Magnet 00316593-xx
Lukustus- ja kinnitusrööbas JEDEC Tray'de jaoks 00372615-xx