00195731-0102_UM_X-Serie_SR605_EE - 第454页
6 Jaama laiendamine Kasutusjuhend SIPLACE X-Seeria 6.18 Komplanaarsuslaser i moodul Tarkvaraversiooni S R.605.xx põhjal 07/2008 EE väljaanne 454 6.18 .5 Masi na ide ntifitseerim ine hoi at av ate s iltide ga 6 Hoiatav si…

Kasutusjuhend SIPLACE X-Seeria 6 Jaama laiendamine
Tarkvaraversiooni SR.605.xx põhjal 07/2008 EE väljaanne 6.18 Komplanaarsuslaseri moodul
453
TwinHead tööpea haarab kontrollitava komponendi, tsentreerib selle optiliselt komponentide te-
hisnägemiskaamera abil (vt jaotis 6.7
, lk 432) ning pöörab üksteise järel komponendi neli külge
komplanaarsuslaseri mooduli fikseeritud laserkiire ette. Sellisel viisil skaneeritakse iga väljaviik
altpoolt laserkiirega. Väljaviigult (altpoolt) hajunud laserkiirgus registreeritakse anduri poolt ning
saadud signaali kasutatakse edasi väljaviigu täpse asukoha arvutamiseks trükiplaadi suhtes. Ar-
vutatud asukoha väärtusi võrreldakse seejärel kasutaja poolt spetsifitseeritud piirväärtustega. Piir-
väärtuse ületamisel määratakse komponent praagiks või tagastatakse.
Komplanaarsuslaseri moodulit kasutatakse üheaegselt optilise tsentreerimisrežiimiga. Paindunud
või puuduvate väljaviikude komponendid tuvastatakse ja vajadusel prakeeritakse.
6.18.3 Tehnilised andmed
6
6.18.4 Piirangud
– Komponendil peab olema vähemalt kaks ja maksimaalselt neli rida kullitiiva-tüüpi väljaviike.
– Väljaviikude read peavad olema üksteise suhtes risti.
– Väljaviigud peavad olema painutatud risti valjaviikude ridade suhtes.
– Väljaviikude otsad peavad olema ühel joonel.
– Ühe väljaviikude reaga komponentide mõõtmine pole võimalik.
Komponendid Gullwing
Täpsus ± 18,5 µm (3σ) (referentskomponent)
± 24,7 µm (4σ)
± 30,5 µm (3σ (komponendid kuni 32 mm)
± 40,7 µm (4σ)
± 31,3 µm (3σ) (komponendid kuni 55 mm)
± 41,7 µm (4σ)
Max. komponendi suurus 55 x 55 mm²
Väljaviikude min. samm 300 µm
Max. komponendi kõrgus 25 mm
Positsioneerimise võima-
lus
Tsoon 3 SIPLACE X2-l ja X3-l, alternatiiv 3D komplanaarsuslaseri
moodulile
Ladumispea tüüp TwinHead

6 Jaama laiendamine Kasutusjuhend SIPLACE X-Seeria
6.18 Komplanaarsuslaseri moodul Tarkvaraversiooni SR.605.xx põhjal 07/2008 EE väljaanne
454
6.18.5 Masina identifitseerimine hoiatavate siltidega
6
Hoiatav silt W216 "Laser class 2" pealüliti kõrval oleval kattel,
tootenumber 03010316-01 (arv masinal: 1)
MÄRKUS 6
Komplanaarsusmooduli paigaldamisel tuleb masin klassifitseerida laserklassi 2. Lasermoodul
pole ühendatud AVARIISEISKAMISAHELASSE.
6
Joon. 6.18 - 3 Hoiatav silt W216 pealüliti kõrval oleval kattel
→ Identifitseerige masin hoiatussildiga W216 "Laserklass 2", tootenumber 03010316-xx.
→ Kleepige pealüliti kõrval olevale kattele hoiatussilt W216 (vt pos. W216, joon. 6.18 - 3
, lk 454).
6
6
6
6
6
6
LASERKIIRGUS!
Ärge vaadake laserkiirde
Laserklass 2

Kasutusjuhend SIPLACE X-Seeria 6 Jaama laiendamine
Tarkvaraversiooni SR.605.xx põhjal 07/2008 EE väljaanne 6.18 Komplanaarsuslaseri moodul
455
6.18.6 Kontrolleri LED-näidik
6
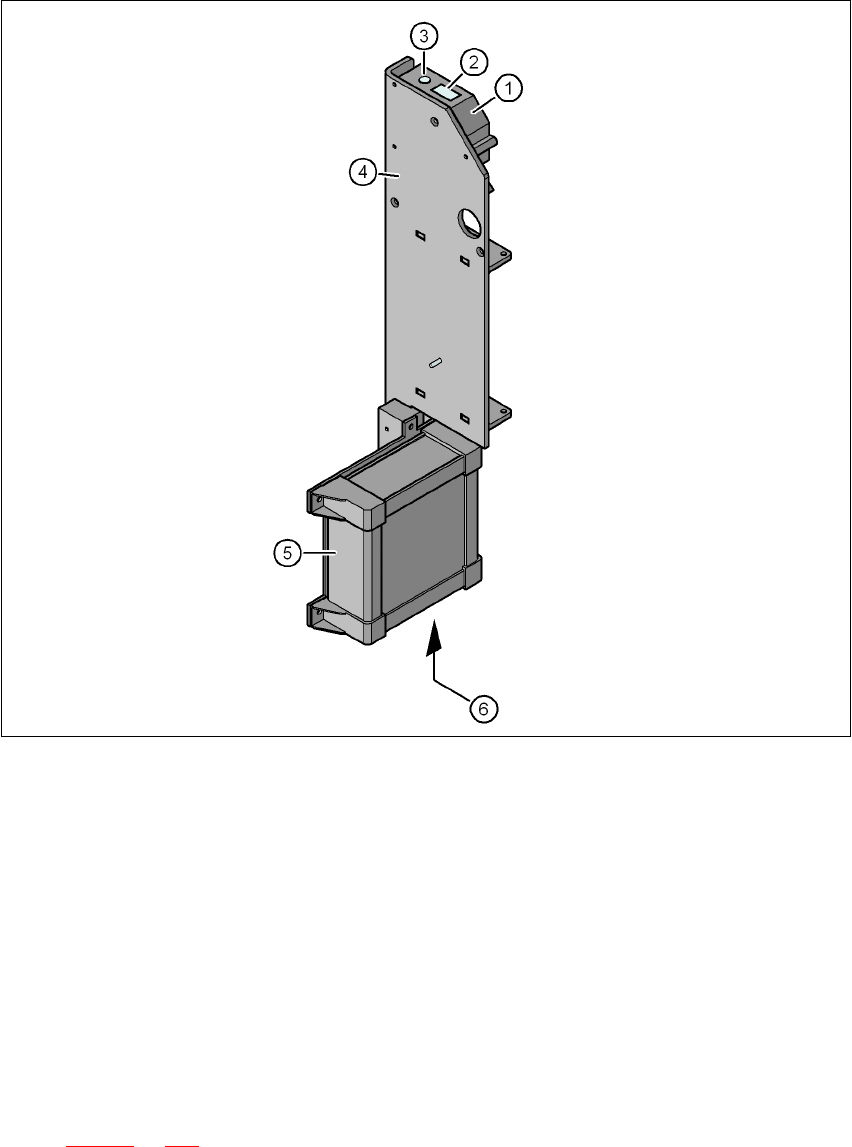
Joon. 6.18 - 4 Komplanaarsuslaseri moodul
(1) Laserandur
(2) Valgustajur
(3) Laserkiirgur
(4) Ploki klamber
(5) Kontroller
(6) LED-näidikud ja ühendused kontrolleriga
Komplanaarsusmooduli olekut näidatakse LEDide abil. LEDid asuvad kontrolleri allservas (pos.
6, joon 6.18 - 4
, lk 455).