00191759-01 - 第208页
W , , W Grundansic ht Menüoptionen 'M arke teachen' Menü ' Grundansicht Rüstung Fehler Förderer Funkti onen Portal 3 Funkti onen Portal 4 LP-Transport 2 LP-Transport 1 Marke teachen Bauelem ent tes …

W ,,W
6StQDþH
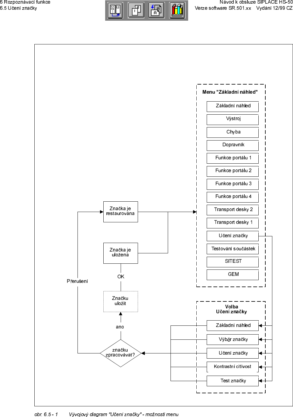
1DYêE U9iPV\VWpPGiYiQiVOHGXMtFtPRåQRVWL
±9êE
USRUWiOXSURXþHQt
3RPRFtP\ãL]YROWHSRUWiOSURXþHQt
± 8ORåHQt]QDþN\
3RNXGNOLNQHWHQDWXWRPRåQRVWEXGRXSDUDPHWU\]QDþN\XORåHQ\
± 1DþtVW]QDþNX
3RWRPFRMVWH]YROLOLåiGDQRX]QDþNXYVH]QDPXNOLNQ
WHQD1DþtVW]QDþNX3DUDPHWU\
]QDþN\MVRXQDþWHQ\
9LGHRREUD]
3 LXUþLWêFKDNFtFKMHREUD]NDPHU\]Y\KRGQRFRYDFtMHGQRWN\UR]SR]QiYiQt]REUD]HQQD
REUD]RYFHSRþtWDþHVWDQLFH'RGDWHþQ
MVRXYREUD]X]REUD]HQ\QDKR H iGN\KODYLþN\DGROH
SDW\
± +ODYLþNDREVDKXMHQDS
tNODGY\EUDQpPHQXþtVOR]QDþN\NULWHULD]KRGQRFHQtYêVOHGN\
P
HQtDSRG
± 9SDW
VHQDFKi]tVHTYHQFHS tND] S tND]\NOiYHVQLFHVRX DGQLFHNDPHU\DSRG
=REUD]HQtYLGRREUD]XP
åHWHNG\NROLYRSXVWLWNOiYHVRX(6&3RWRPVHREMHYtRS WDNWXiOQt
RNQRPHQX
9DURYQpDLQIRUPDþQtER[\
+OiãHQtMVRXWH[WRYiSROHSR]QiPN\QHERSRN\Q\QDNFtPYDURYiQtDSRG-VRX]REUD]HQD]D
QiVOHGXMtFtFKSRGPtQHN
±S
LYêVN\WXFK\EQDS GHVNDMHMHãW QDSiVXRSUDFRYiQt
±S
LSRåDGDYNXQDXåLYDWHOHNWHUêPiSURYpVWXUþLWRXDNFLQDS RGHEUDWGHVNX
±S
LSRN\QHFKQDS YORåLWMPpQR]QDþN\
± SUR]REUD]HQtGpOHWUYDMtFtDNFHV\VWpPXQDS
GDWD]QDþN\QDþtVW

W ,,W
Grundansicht
Menüoptionen 'Marke teachen'
Menü 'Grundansicht
Rüstung
Fehler
Förderer
Funktionen Portal 3
Funktionen Portal 4
LP-Transport 2
LP-Transport 1
Marke teachen
Bauelement testen
SITEST
GEM
Grundansicht
Markenauswahl
Marke teachen
Kontrast-
empfindlichkeit
Marke testen
Marke
speichern
Menüoption
Marke teachen
Markenauswahl
Marke
bearbeitet?
Marke wird
restauriert
Marke wird
gespeichert
OK
Ja
Abbruch
Funktionen Portal 1
Funktionen Portal 2
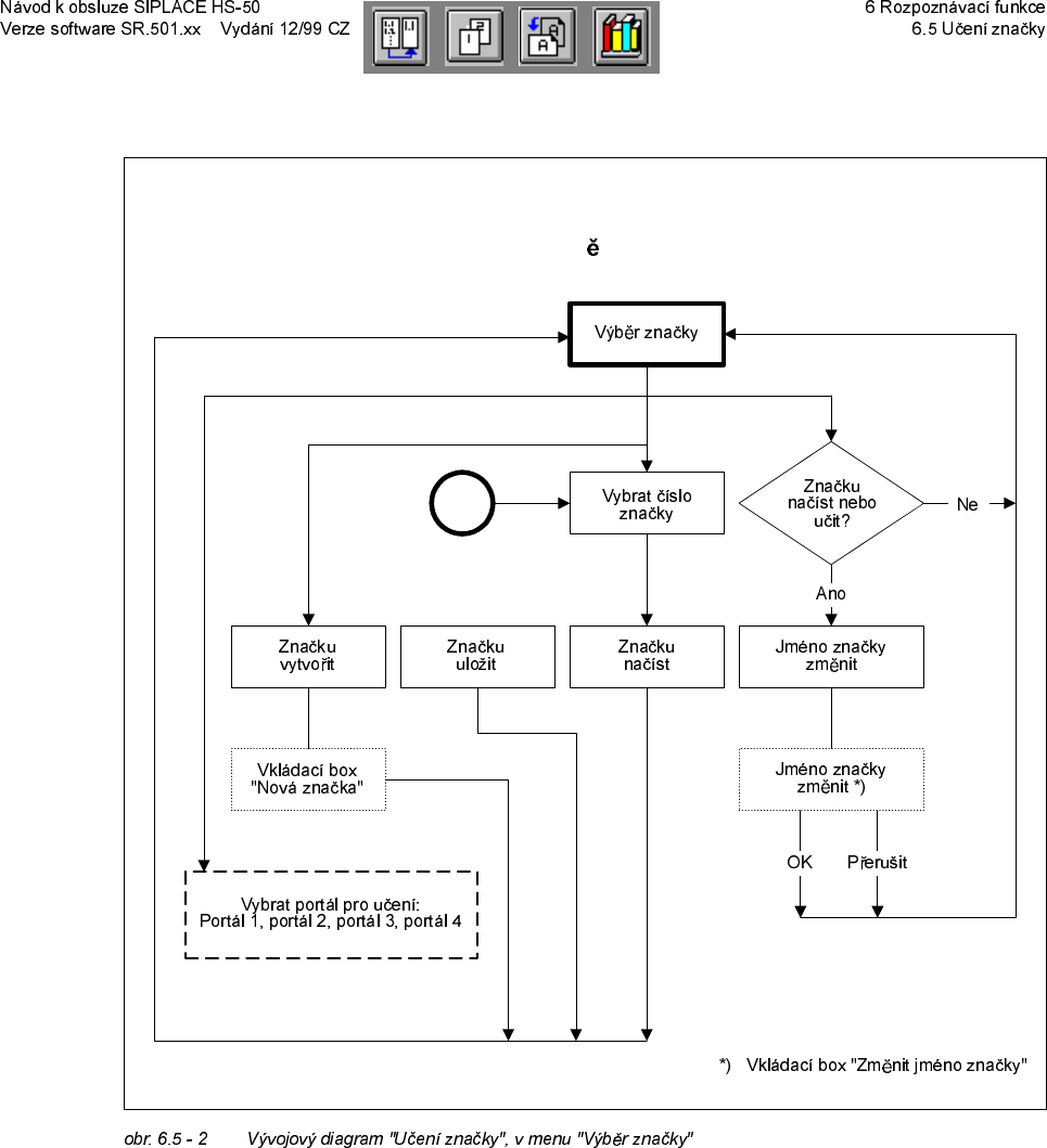
0RåQRVW8þHQt]QDþN\

W ,,W
Menüoptionen 'Marke teachen'
Menü 'Markenauswahl'
Teachportal wählen:
Portal 1, Portal 2, Portal 3, Portal 4
Marke
speichern
Marke
erzeugen
Marke
laden
Markennamen
ändern
Marke
geladen bzw.
geteacht?
Markennamen
ändern *)
Markennummer
auswählen
Ja
A
Markenauswahl
Eingabebox
'Neue Marke'
Abbruch
Nein
OK
*) Eingabebox 'Markennamen ändern'
9ROED8þHQt]QDþN\
0HQX9êE
U]QDþN\