00191759-01 - 第242页
W , , W 9NOiGDFtER[\ P å HWHSRPRFt2 . 3 HY] tWQH ER3 HU XãLWRS XVWLW Å 3RNXGNOLNQHWHQD2 .QH ERQD 3 HY] tW EXGRXGDWD S HGi QDSURJU DPXDX ORå HQDDER[ EXGHX] DY HQ Å -HVWOLå H…

W ,,W
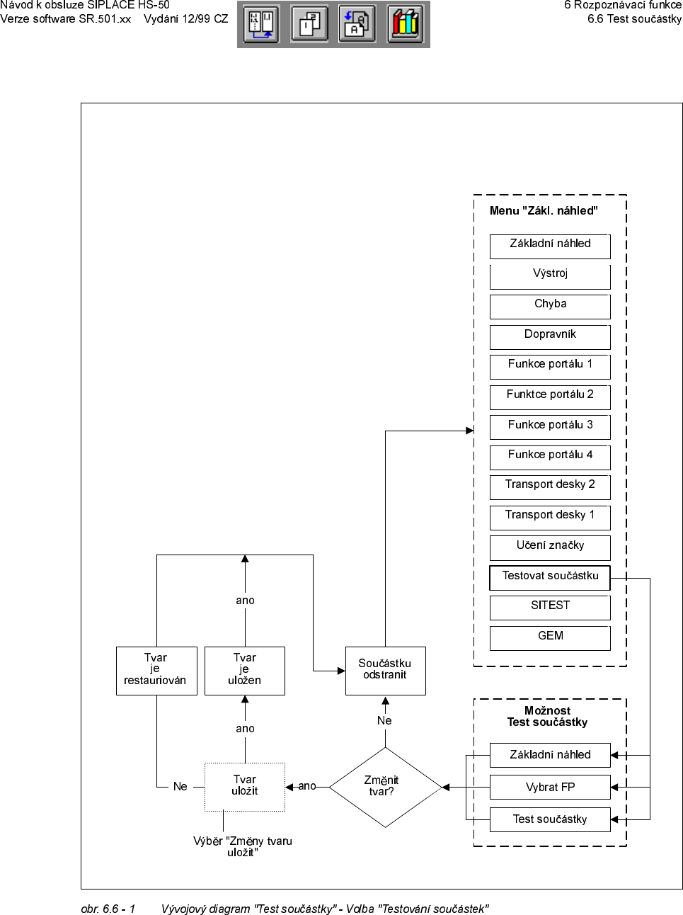
7HVWVRXþiVWN\
9êYRMRYêGLDJUDP7HVWVRXþiVWN\
9êYRMRYêGLDJUDP7HVWVRXþiVWN\XND]XMHYãHFKQ\PRåQRVWLPHQXVHYãHPLSRG t]HQêPL
IXQNFHPLYJUDILFNpP]REUD]HQt0HQXMVRXRUiPRYiQDSOQêPLþDUDPLYêE
URYpER[\
þiUNRYDQRXþDURXDYNOiGDFtER[\WHþNRYDQRXþDURX
9\VY WOLYN\NYêYRMRYpPXGLDJUDPX7HVWVRXþiVWN\
0HQX
3RGYROERX7HVWVRXþiVWN\MVRXNGLVSR]LFLQiVOHGXMtFtPHQX
±9êE
UWYDUX
± 7HVWRYiQtVRXþiVWHN
9êE
URYêER[8ORåLWQi]HYVRXþiVWN\MHYåG\]REUD]HQSRNXGFKFHWHRSXVWLWPHQX7HVWRYiQt
VRXþiVWHNDS
LWRPE\O\QRY Y\WYR HQ\QHER]P Q Q\GDWDWYDUXVRXþiVWN\*)'DWHQ0iWH
S
LWRPPRåQRVWW\WRGDWDXORåLWQHER]UXãLW
-HGQRWOLYiPHQXP
åHWHRSXVWLWNG\åNOLNQHWHQDMLQpPHQXQHERQDLNRQX]iNODGQtKRQiKOHGX
9NOiGDFtER[\9êE URYpER[\
3URYNOiGiQtGDW]REUD]RYiQtKRGQRWDSURYHGHQtDNFtQDEt]tV\VWpPQiVOHGXMtFtYNOiGDFtER[\
±0
tFtUHåLP
± 1DVWDYLWNRQWUDVWQtFLWOLYRVW
± 1DVWDYLWW\SVRXþiVWN\QMHQXDXWRPDW
)

W ,,W
9NOiGDFtER[\P åHWHSRPRFt2.3 HY]tWQHER3 HUXãLWRSXVWLW
Å 3RNXGNOLNQHWHQD2.QHERQD3 HY]tWEXGRXGDWDS HGiQDSURJUDPXDXORåHQDDER[
EXGHX]DY
HQ
Å -HVWOLåHNOLNQHWHQDWODþtWNR3 HUXãLW]UXãtWHGDWDDYNOiGDFtER[EXGHX]DY HQ
7ODþtWND
3URYROEXPRåQRVWt9iPV\VWpPQDEt]tQiVOHGXMtFtWODþtWND
Å 1DþtVW)3IRUPDSRX]GUDUHVSWYDUVRXþRULJ*) *HKlXVHIRUP
3RWRPFRMVWH]YROLOLYVH]QDPXåiGDQRXVRXþiVWNXNOLNQ
WHQDWODþtWNR1DþtVW)3
3DUDPWHU\VRXþiVWN\MVRXQDþWHQ\
Å 8ORåLW)3
9\WYR
HQpSDUDPHWU\VRXþiVWN\MVRXXORåHQ\NG\åNOLNQHWHQDWRWRWODþtWNR
± 2GHEUDW
2VD]RYDFtKODYDRGHEHUH]YROHQRXVRXþiVWNX
9LGHRREUD]\
3 LXUþLWêFKDNFtFKMH]REUD]HQREUD]NDPHU\QDREUD]RYFHSRþtWDþHVWDQLFH.URP WRKRWR
REUD]XMVRXQDREUD]RYFHMHãW
iGN\KODY\DSDW\REUD]X
±
iGN\KODY\REVDKXMtQDS tNODGSUiY ]YROHQpPHQXþtVORWYDUXVRXþiVWN\)3NULWpULD
Y\KRGQRFHQtYêVOHGN\P
HQtDSRG
± 9HVSRGQtFK
iGNiFKSDWDMVRX]REUD]HQ\VHNYHQFHS tND] NOiYHVQLFRYpSRYHO\
VRX
DGQLFHNDPHU\DSRG
Å =REUD]HQtYLGHRREUD] P åHWHYåG\XNRQþLWNOiYHVRX(6&3RWRPVHREMHYtYåG\RS W
DNWXiOQtPHQX
+OiãHQt
+OiãHQtMVRXWH[WRYiSROHSR]QiPN\NDNFtPYDURYiQtDSRG-VRX]REUD]HQ\S L
± YêVN\WXFK\E
± SRåDGDYFtFKQDXåLYDWHOHNWHUêPiSURYpVWQ
MDNRXDNFLQDS YORåLWþtVOR)3WYDUX
VRXþiVWN\
± SR]QiPNiFKQDS
VRXþiVWNDE\ODRGVWUDQ QD
± DNFLV\VWpPXWUYDMtFtGHOãtGREXQDS
tNODGXNOiGiQtGDW)3

W ,,W
Menüoptionen 'Bauelement testen'
Grundansicht
Menü 'Grundansicht
Rüstung
Fehler
Förderer
Funktionen Portal 3
Funktionen Portal 4
LP-Transport 2
LP-Transport 1
Marke teachen
Bauelement testen
SITEST
GEM
Grundansicht
Markenauswahl
Bauelement testen
Gehäuseform
abspeichern
Menüoption
Bauelement testen
Gehäuseformauswahl
Gehäuseform
geändert?
Nein
Funktionen Portal 1
Funktionen Portal 2
Ja
Bauelement
entsorgen
Gehäuseform
wird abge-
speichert
Ja
Nein
Gehäuseform
wird
restauriert
Ja
Auswahlbox 'Änderungen
der Gehäuseform
abspeichern'
0RåQRVWPHQX7HVWVRXþiVWN\