00191759-01 - 第246页
W , , W Menü 'Bauelement testen' Menü 'Gehäuseformdaten änder n' Bauelem ent tes ten GF geladen? Ja Abbruch Gehäuseformdaten ändern Beleucht ung Nein Menü Gehäuseform auswahl A Gehäuse- dimens …

W ,,W
Menü 'Bauelement testen'
Nein
Bauelement testen
GF geladen?
Menü
Gehäuseformauswahl
A
Ja
Prüfen Messen Darstellen Bild speichern Auswertezeit
ESC
GF-spezifische
Meßschritte
nacheinander
ausführen
Videobild
GF messen
Meßergebnisse
anzeigen
Videobild
Synthetische
Beschreibung
darstellen
Videobild
Videobild wird
auf die
Festplatte des
MC-Controllers
gespeichert
Auswerte-
zeit
Videobild
ESC ESC
Bauelement aus
Förderer abholen
und unter die
BE-Kamera
drehen
Bauelement
Abholen
ESC
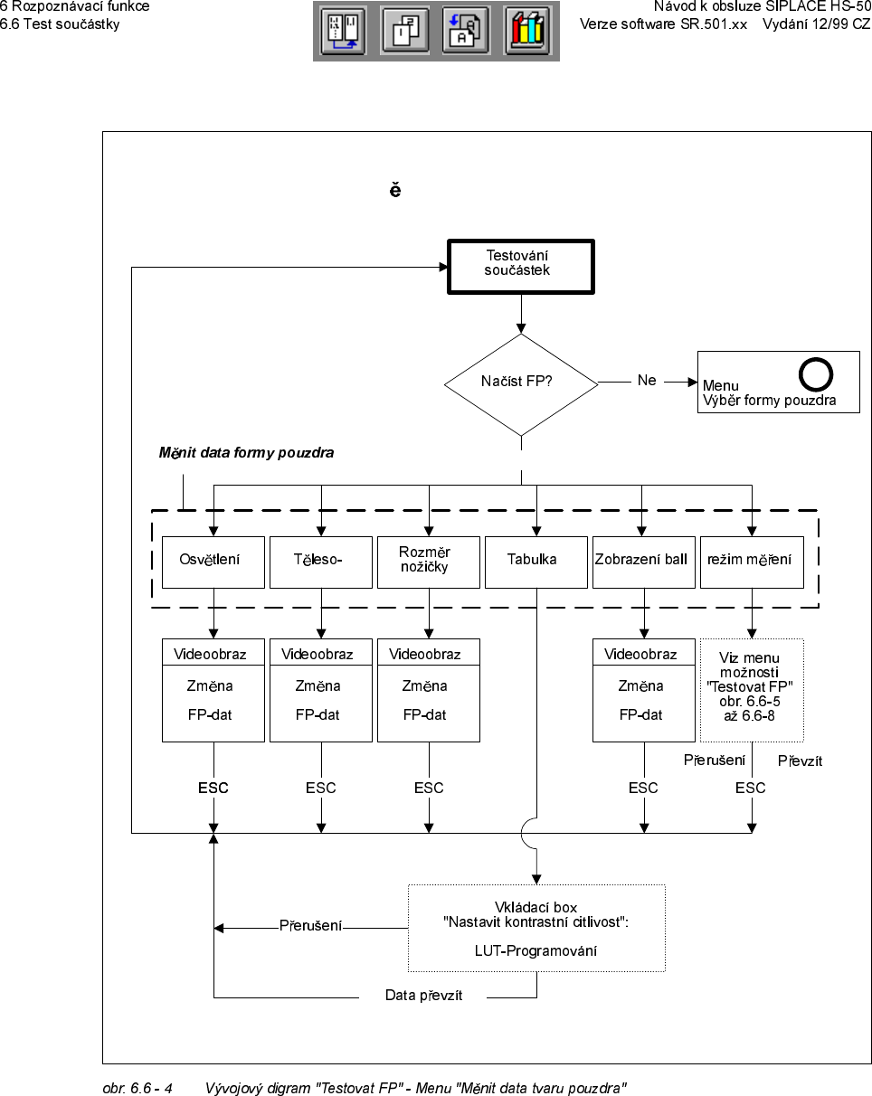
0HQX7HVWRYiQtVRXþiVWHN)3

W ,,W
Menü 'Bauelement testen'
Menü 'Gehäuseformdaten ändern'
Bauelement testen
GF geladen?
Ja
Abbruch
Gehäuseformdaten ändern
Beleuchtung
Nein
Menü
Gehäuseformauswahl
A
Gehäuse-
dimension
Bein-
dimension
Tabelle Ballabbildung Meßmodus
ESC
Verändern
von
GF-Daten
Videobild
ESC
Verändern
von
GF-Daten
Videobild
ESC
Verändern
von
GF-Daten
Videobild
ESC
Verändern
von
GF-Daten
Videobild
ESC
Siehe Menü-
optionen
BE testen,
Abb. 6.6-5
bis 6.6-8
Abbruch Übernehmen
Eingabebox
'Kontrastempfindlichkeit einstellen':
LUT-Programmierung
Daten übernehmen
Menü 'Bauelement testen'
Menü 'Gehäuseformdaten ändern'
Bauelement testen
GF geladen?
Ja
Abbruch
Gehäuseformdaten ändern
Beleuchtung
Nein
Menü
Gehäuseformauswahl
A
Gehäuse-
dimension
Bein-
dimension
Tabelle Ballabbildung Meßmodus
ESC
Verändern
von
GF-Daten
Videobild
ESC
Verändern
von
GF-Daten
Videobild
ESC
Verändern
von
GF-Daten
Videobild
ESC
Verändern
von
GF-Daten
Videobild
ESC
Siehe Menü-
optionen
BE testen,
Abb. 6.6-5
bis 6.6-8
Abbruch Übernehmen
Eingabebox
'Kontrastempfindlichkeit einstellen':
LUT-Programmierung
Daten übernehmen
0HQX7HVWRYiQtVRXþiVWHN
0HQX0
QLWGDWD)3IRUP\SRX]GUD

W ,,W
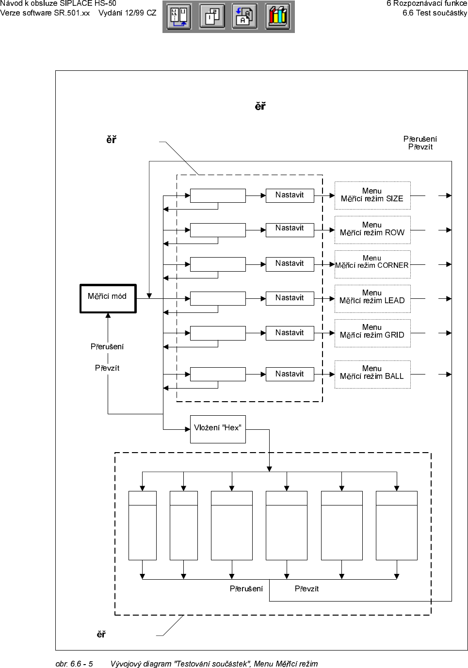
Menüoptionen 'Bauelement testen'
Menü 'Meßmodus'
SIZE
ROW
Meßmodus
Einstellen
Menü
Meßmodus ROW
Einstellen
CORNER
Menü
Meßmodus CORNER
Einstellen
LEAD
Menü
Meßmodus LEAD
Einstellen
GRID
Menü
Meßmodus GRID
Einstellen
BALL
Menü
Meßmodus BALL
Einstellen
Hexeingabe
Menü
Meßmodus SIZE
Abbruch
Übernehmen
Abbruch
Übernehmen
Abbruch
Übernehmen
Abbruch
Übernehmen
Abbruch
Übernehmen
ROWSIZE
CORNER
LEAD GRID BALL
P1
P1a
P1
P2
P2a
P3
P1
P2
P3
P4
P5
P1
P1a
P2
P2a
P1
P2
P3
P3a
P1
P1a
P2
P3_5
Menü 'Meßmodus 2'
Abbruch
Übernehmen
Abbruch Übernehmen
Menü Meßmodus
Abbruch
Übernehmen
0HQX7HVWRYiQtVRXþiVWHN
0HQX0
tFtUHåLP
0HQX0 tFtUHåLP
0HQXP tFtUHåLP