00191759-01 - 第249页
W , , W Menüoptionen 'Bauel ement testen' Menüs 'Meßmodus ROW ' und Meßmodus 'COR NER' Menü ' Meßmodus ROW' Menü ' Meßmodus CORNER' Spit zenmess ung über die inner…

W ,,W
Menüoptionen 'Bauelement testen'
Menü 'Meßmodus SIZE'
Abbruch Übernehmen
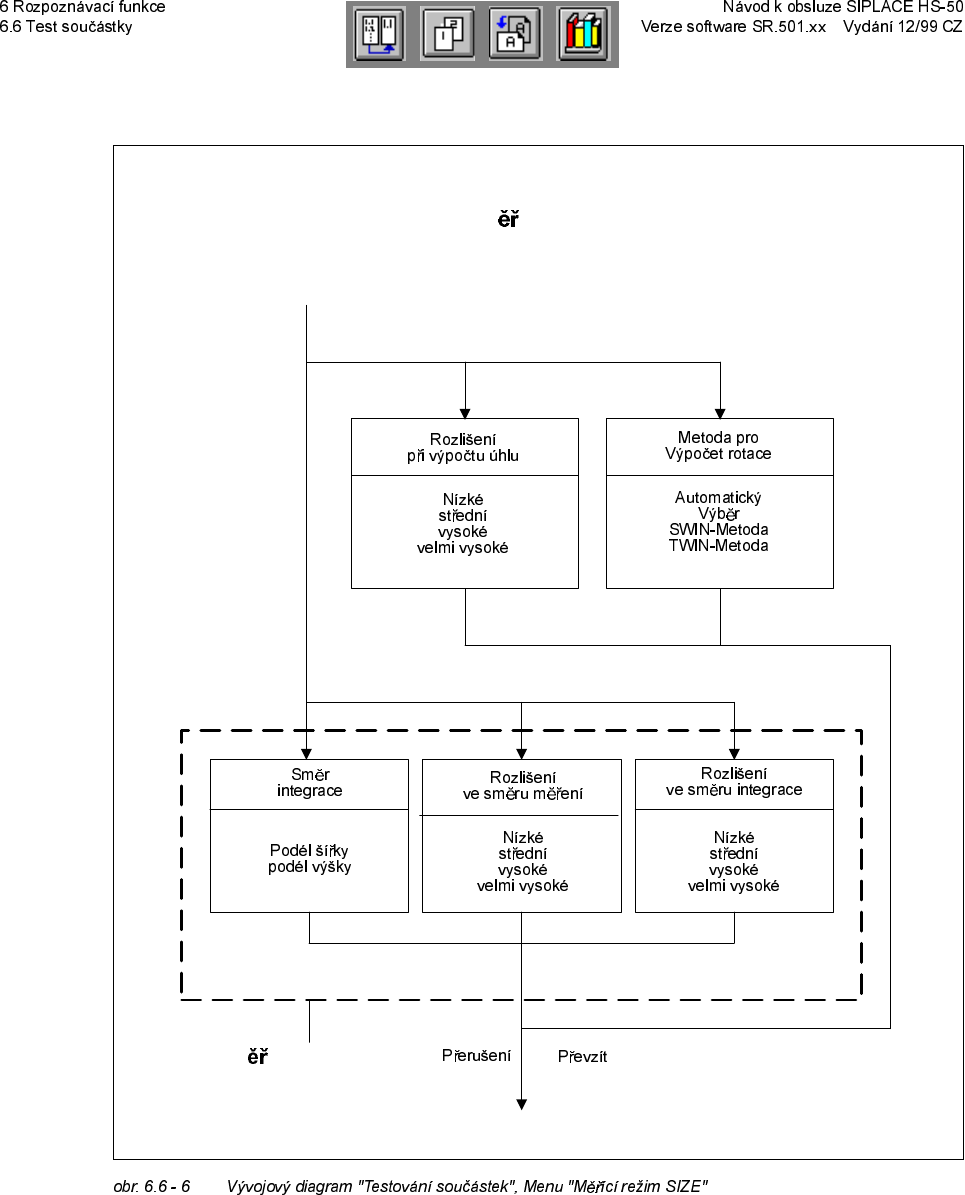
Auflösung
in Integrationsrichtung
Niedrig
Mittel
Hoch
Sehr hoch
Auflösung
in Meßrichtung
Niedrig
Mittel
Hoch
Sehr hoch
Integrations-
richtung
Entlang der Breite
Entlang der Höhe
Auflösung
bei der Winkelberechnung
Niedrig
Mittel
Hoch
Sehr hoch
Methode für die
Rotationsberechnung
Automatische
Auswahl
SWIN-Methode
TWIN-Methode
Menü Meßmodus SIZE
'Integrationseinstellungen'
0HQX7HVWRYiQtVRXþiVWHN
0HQX0
tFtUHåLP6,=(
0HQX0 tFtUHåLP6,=(
QDVWDYHQtLQWHJUDFH

W ,,W
Menüoptionen 'Bauelement testen'
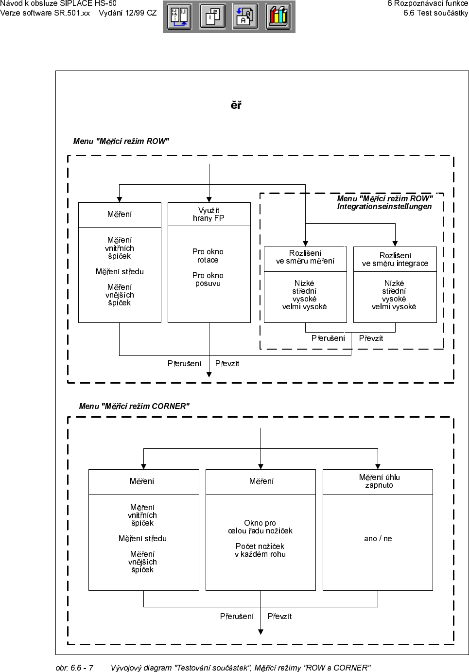
Menüs 'Meßmodus ROW' und Meßmodus 'CORNER'
Menü 'Meßmodus ROW'
Menü 'Meßmodus CORNER'
Spitzenmessung
über die inneren
Spitzen
Centermessung
Spitzenmessung
über die äußeren
Spitzen
Messung
Wieviele Beinchen an jeder
Ecke messen
Ein Fenster über die
ganze Beinreihe
Anzahl der Beinchen
an jeder Ecke
Abbruch Übernehmen
Winkelmessung
eingeschaltet
Ja / Nein
Niedrig
Mittel
Hoch
Sehr hoch
Auflösung in
Meßrichtung
Auflösung in
Integrationsrichtung
Niedrig
Mittel
Hoch
Sehr hoch
Spitzenmessung
über die inneren
Spitzen
Centermessung
Spitzenmessung
über die äußeren
Spitzen
Messung
GF-Kanten
verwenden
Für die
Rotationsfenster
Für die
Translations-
fenster
Abbruch Übernehmen
Abbruch Übernehmen
Menü 'Meßmodus ROW'
Integrationseinstellungen
0HQX7HVWRYiQtVRXþiVWHN
0HQX0 tFtUHåLP&251(5

W ,,W
Menüoptionen 'Bauelement testen'
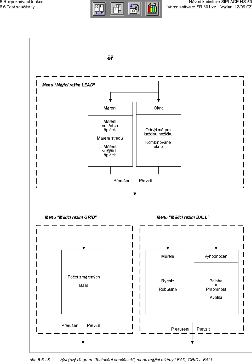
Menü 'Meßmodi LEAD', GRID und BALL'
Menü 'Meßmodus LEAD'
Spitzenmessung
über die inneren
Spitzen
Centermessung
Spitzenmessung
über die äußeren
Spitzen
Messung Fenster
Separat für
jedes Beinchen
Kombinierte
Fenster
Abbruch Übernehmen
Anzahl der
zu messenden
Balls
Abbruch Übernehmen
Schnell
Robust
Messung Auswertung
Position
und
Anwesenheit
Qualität
Abbruch Übernehmen
Menü 'Meßmodus GRID' Menü 'Meßmodus BALL'
0HQX7HVWRYiQtVRXþiVWHN
0HQX0 tFtUHåLP\/($'*5,'D%$//