KE2040取扱説明書Ver.2.01和文Rev.04 - 第144页
4 – 39 ⑨ BOC マーク位置 マーク位置 マーク位置 マーク位置 No. 1 ∼ ∼ ∼ ∼ BOC マーク位置 マーク位置 マーク位置 マーク位置 No. 3 基本設定で BOC 種類を“基板のマ ークを使用” とした場合は,基板 位置基準か ら BO C マー クの中心点までの寸法を入力します。 基本設定で BOC 種類を“回路毎の マークを使用 ”とした場合は,回 路位置基準 から BO C マ ークの中心点までの寸法…

4 – 38
② 位置決め穴位置
位置決め穴位置位置決め穴位置
位置決め穴位置
一面取り基板と同様に基板位置基準からみた位置決め穴の座標を入力します。
基板位置基準を原点(0,0)とした座標を入力します。
位置決め穴位置は,搬送方向,搬送基準によって変化しますので,注意して下さい。(図 4-
5-2-1 参照)なお,基本設定で位置きめ方式を外形基準とした場合は,本項目を設定する必
要はありません。
X=320.00, Y=0.00
③ 基板レイアウトオフセット
基板レイアウトオフセット基板レイアウトオフセット
基板レイアウトオフセット
一面取り基板と同様に基板位置基準からみた
基板レイアウト端点(=外形基準位置)の座標
を入力します。
基板レイアウト端点の位置は,搬送方向,搬送
基準によって変化しますので,注意して下さい。
X=325.00, Y=-5.00
④ 回路外形寸法
回路外形寸法回路外形寸法
回路外形寸法
回路の外形寸法を入力します。
搬送方向と同じ方向がX,搬送方向と直角な方向がYとなります。
X=165.00, Y=125.00
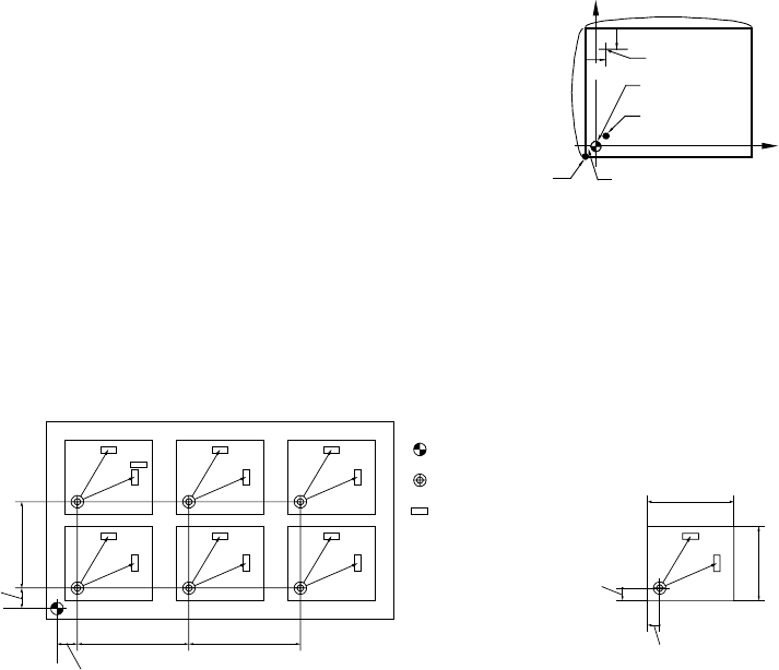
図
図図
図 4-5-2-2
多面取りマトリクス図
多面取りマトリクス図多面取りマトリクス図
多面取りマトリクス図
⑤ 回路レイアウトオフセット
回路レイアウトオフセット回路レイアウトオフセット
回路レイアウトオフセット
回路位置基準からみた回路レイアウト端点(=回路の左手前の角)の座標を入力します。
回路レイアウト端点は回路外形の左下に固定されます。
X=-5.00, Y=-5.00
⑥ 先頭回路位置
先頭回路位置先頭回路位置
先頭回路位置
基板位置基準からみた先頭回路(基板上で一番左手前にある回路)の回路位置基準の座標を
入力します。(図 4-5-2-2 参照)
X=0.00, Y=0.00
⑦ 回路分割数
回路分割数回路分割数
回路分割数
搬送と同方向をX,垂直方向をYとして,各方向にある回路数を入力します。
X 方向に2,Y 方向に2
⑧ 回路間ピッチ
回路間ピッチ回路間ピッチ
回路間ピッチ
搬送と同方向をX,垂直方向をYとして,各方向の回路の原点間の寸法を入力します。
(図 4-5-2-2 参照)
X=165.00, Y=125.00
回路外形寸法
X
回路外形
寸法 Y
回路レイアウト
オフセット Y
回路レイアウト
オフセット X
基板位置基準
回路位置基準
部品
回路間
ピッチY
回路間ピッチY
回路間ピッチX
先頭回路位置X
先頭回路
位置Y
BOC マーク
基板位置基準 (原点) (0,0)
バッドマーク
回路レイアウト
端点
回路レイアウトオフセット (-5,-5)
165
125
10
10
4 – 39
⑨ BOC マーク位置
マーク位置マーク位置
マーク位置 No. 1 ∼
∼∼
∼ BOC マーク位置
マーク位置マーク位置
マーク位置 No. 3
基本設定で BOC 種類を“基板のマークを使用”とした場合は,基板位置基準から BOC マー
クの中心点までの寸法を入力します。
基本設定で BOC 種類を“回路毎のマークを使用”とした場合は,回路位置基準から BOC マ
ークの中心点までの寸法を入力します。
BOC マークは2点,または3点選択することができます。
3点の BOC マークを使用する場合はどの3点を使用しても問題ありませんが,2点の BOC
マークを使用する場合には,対角線上にある2点を選択するようにしてください。
BOC マークは位置をティーチングすることも可能です。
データが完成しているとLの( )の中に*が表示されます。
ユーザー指定テンプレートの場合は、ティーチング後に( )の中にTが表示されます。
(6-4. マークのティーチング参照)
⑩ バッドマーク位置
バッドマーク位置バッドマーク位置
バッドマーク位置
回路位置基準からみたバットマーク位置を入力します。
バッドマークは位置をティーチングすることも可能です。ティーチングについては,“8-2-
2-15.バッドマークティーチング”を参照して下さい。
⑪ 基板高さ
基板高さ基板高さ
基板高さ
治具を用いて基板をクランプする場合など,搭載面の高さが,平板な基板をクランプした場
合と異なる際,クランプされた平板な基板の上面を高さ0として,その面からの差を入力し
ます。
符号は上方向が+,下方向が−となります。各回路毎に基板高さを設定することはできませ
んので,治具を作成する際は,各回路の高さが同一になるようにして下さい。
通常は 0.00 です。
⑫ 基板厚さ
基板厚さ基板厚さ
基板厚さ
一面取り基板と同様に基板の厚さを入力します。
基板厚さに合わせてバックアッププレートが上昇し,基板をバックアップします。
⑬ 裏面高さ
裏面高さ裏面高さ
裏面高さ
搬送基準面から基板裏側の部品高さを含んだ距離(裏側の部品がバックアップピンに干渉し
ない値)を入力します。
この値は,バックアッププレートの生産時の待機位置として使用されます。
バックアッププレートの移動距離を少なくすることにより搬送タクトを早くすることができ
ます。

4 – 40
4-5-2-3. 多面取り非マトリクス
多面取り非マトリクス多面取り非マトリクス
多面取り非マトリクス
基板構成が多面取り非マトリクスの場合に寸法設定が選択されると下記の画面となります。
ボタン
内容
基本設定 基本設定の変更画面を表示します。
回路配置 回路配置の設定ウィンドウをオープンします。
寸法設定で各寸法を入力する前に各寸法の原点となる点を設定します。
多面取り基板の場合は基板の原点と回路の原点を別々に設定します(物理的に同一の点となっても
問題ありません)。
搭載データの原点は回路の原点となりますので,CAD データを使用して搭載データを作成する場
合は CAD データの原点を回路の原点として設定すると便利です。
① 基板外形寸法
基板外形寸法基板外形寸法
基板外形寸法
一面取り基板と同様に基板の外形寸法を
入力します。
搬送方向と同じ方向がX,搬送方向と直
角な方向がYとなります。
X=330.00, Y=250.00
250
330
(320, 0)
(325, -5)
5
基板位置基準
(0,0)
基準ピン
基板レイアウト端点