KE2040取扱説明書Ver.2.01和文Rev.04 - 第804页
14 - 23 14-3-8. Zスライドシャフト Zスライドシャフト Zスライドシャフト Zスライドシャフト Zスライドシャフトの内部をアルコールを含ませた綿棒を下から入れて清掃して下さい。 危険 不意の起動による事故を防ぐため,電源を切ってから行って下さい。 14-3-9.CVS (部品ベリフィケーションシステム)(オプション) (部品ベリフィケーションシステム)(オプション) (部品ベリフィケーションシステム)(オプション) (部…

14 - 22
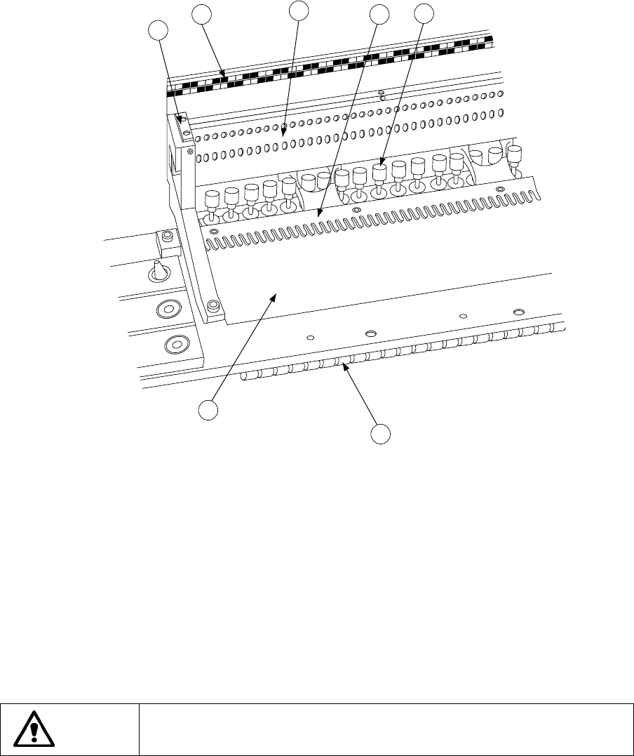
14-3-7.フィーダバンク
フィーダバンクフィーダバンク
フィーダバンク
フィーダバンクにテープフィーダなどフィーダ類を取り付ける前に,ゴミや異物の無い様に,乾拭
きして下さい。
フィクシングプレートB③の下に異物が入っていないか確認して下さい。
チップ部品等の異物がある場合は,掃除機等で清掃して下さい。
①フィーダバンク ⑤ドライブシリンダ
②フィクシングプレート ⑥ポジションラベル
③フィクシングプレートB ⑦バンクマーク
④ロックシャフト
危険
危険危険
危険
不意の起動による事故を防ぐため,電源を切ってから行って下さい。
6
2
4
1
5
3
7

14 - 23
14-3-8.Zスライドシャフト
ZスライドシャフトZスライドシャフト
Zスライドシャフト
Zスライドシャフトの内部をアルコールを含ませた綿棒を下から入れて清掃して下さい。
危険
不意の起動による事故を防ぐため,電源を切ってから行って下さい。
14-3-9.CVS(部品ベリフィケーションシステム)(オプション)
(部品ベリフィケーションシステム)(オプション)(部品ベリフィケーションシステム)(オプション)
(部品ベリフィケーションシステム)(オプション)
ユニット始動時,コンタクトの A 面にほこり,ゴミ等が付着している場合は,布にアルコールを含
ませてふき取って下さい。
A 面に,ほこり等が付着していると,素子の検査が行えない場合があります。
CVS を上部から見た図
を上部から見た図を上部から見た図
を上部から見た図
A
AA
A 面
面面
面
コンタクト
コンタクトコンタクト
コンタクト
綿棒
コンタクト
コンタクトコンタクト
コンタクト

14 - 24
14-3-10. 一括交換台(オプション)
一括交換台(オプション)一括交換台(オプション)
一括交換台(オプション)
フィーダバンクにテープフィーダ等取り付ける前にゴミや異物が無い様に拭き取って下さい。
フィクシングプレートB②の下に異物が入っているか確認して下さい。
バンクロケートピン③(両側)付近にもチップ部品等の異物が無いことを確認下さい。
チップ部品等の異物がある場合は,掃除機等で清掃して下さい。
① フィーダバンク
② フィクシングプレートB
③ バンクロケートピン
1
2
3