KE-3010A_KE-3020VA_KE-3020VRA-Rev14PDFA - 第105页
- 98 - REF.NO NOTE PART NO D E S C R I P T I O N 品 名 Qty 1 400-47171 LCD BRACKET R LCDブラケットR 1 2 SL-6041092-TN SCREW M4 L=10 座金付き六角穴ボルト M4 L=10 4 3 400-47170 LCD BRACKET F LCDブラケットF 1 4 SL-6041092-TN SCREW M4 L=10 座金付き六角…

- 97 -
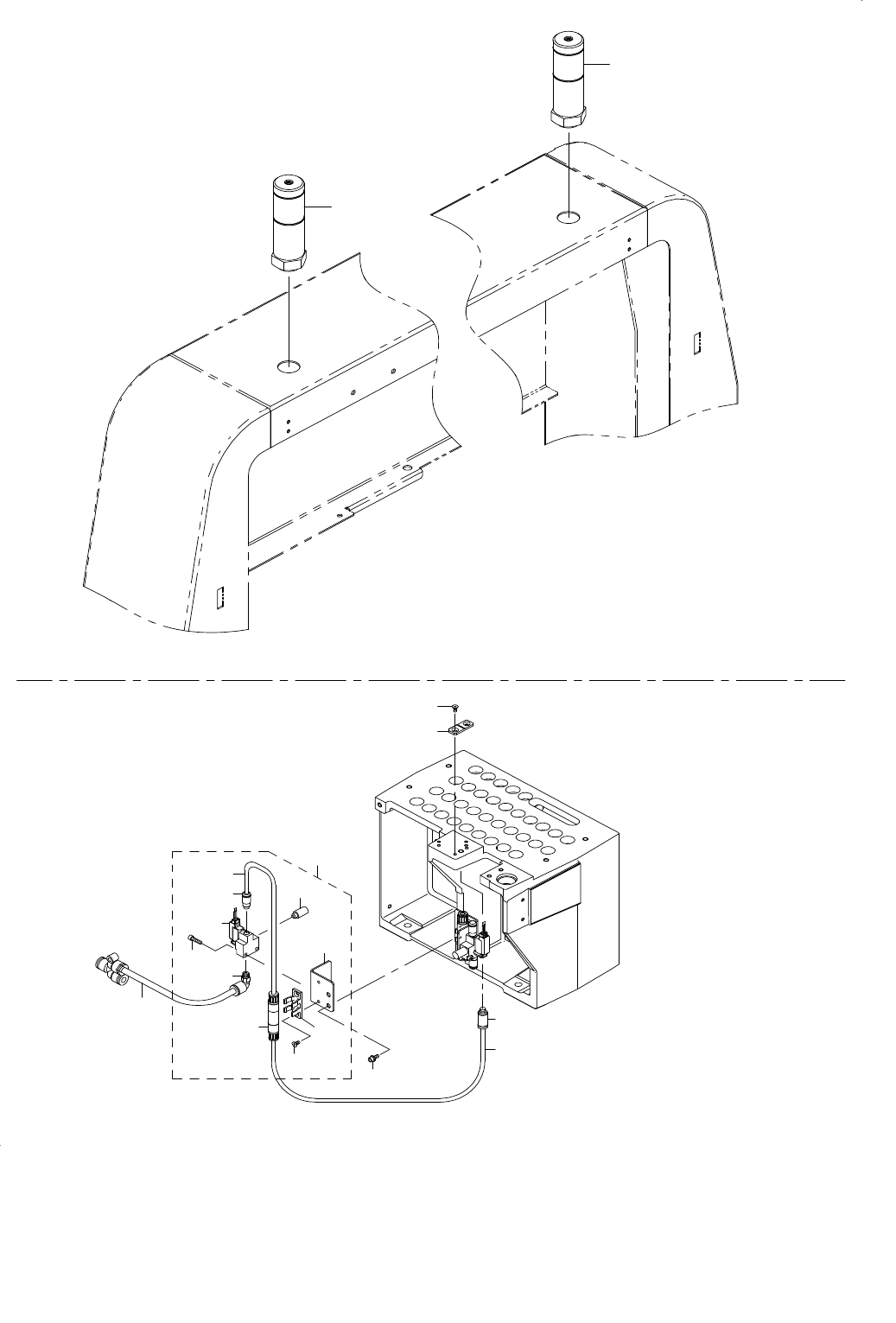
49.REAR MONITOR COMPONENTS
背面モニタ関係
17
23
4
3
5
1
7
8
6
21
22
14
13
12
11
15
10
16
24
18
19
20
2
9

- 98 -
REF.NO NOTE PART NO D E S C R I P T I O N
品 名
Qty
1 400-47171 LCD BRACKET R
LCDブラケットR
1
2 SL-6041092-TN SCREW M4 L=10
座金付き六角穴ボルト M4 L=10
4
3 400-47170 LCD BRACKET F
LCDブラケットF
1
4 SL-6041092-TN SCREW M4 L=10
座金付き六角穴ボルト M4 L=10
4
5 SD-0640246-SP HINGE SCREW D=6.35 H=2.4
段ねじ D=6.35 H=2.4
2
6 161-87007 WING BOLT
蝶ボルト
1
7 WP-0641601-SC WASHER M6
平座金みがき丸 M6
1
8 WS-0610002-KN SPRING WASHER M6
ばね座金 M6
1
9 401-58158 15INCH LCD MONITOR
15インチ LCDモニタ
1
10 401-47627 ASM_KEYBOARD_UNIT
キーボードユニット_組
1
11 SL-4030691-SC SCREW M3 L=6
座金付きなべ小ねじ M3 L=6
(2)
12 401-23713 KB CLAMP
KBクランプ
(1)
13 401-36976 KB_BRACKET
キーボードブラケット
(1)
14 401-23194 USB KEY BOARD SP ASM
USBキーボードSP組
(1)
15 SL-6041092-TN SCREW M4 L=10
座金付き六角穴ボルト M4 L=10
2
16 401-41515 USB SELECT PCB ASM
USBセレクタ基板組
1
17 SL-4030691-SC SCREW M3 L=6
座金付きなべ小ねじ M3 L=6
4
18 401-47142 SWITCH_PANEL_USB_CONN_BR
スイッチパネルUSBコネクタブラケット
1
19 SL-4021091-SC SCREW M2 L=10
座金付きなべ小ねじ
2
20 401-48260 USB CABLE 3M
USBケーブル 3M
1
21 HA-0055300-10 LENS GREEN
レンズ 緑
2
22 HA-0055300-2A BEZEL
ベゼル
2
23 E5348-033-100 CABLE PROTECTOR 106MM
ブッシュ
0.16
24 401-47576 USB_SELECTOR_BR
USBセレクタブラケット
1

- 99 -
50.MINI PAT & SOT CHECK TABLE COMPONENTS
ミニパト・SOT 検査台関係
1
1
5
4
2
17
6
16
15
10
11
9
13
8
12
14
14
7
3