RH下部机械图-.pdf - 第12页

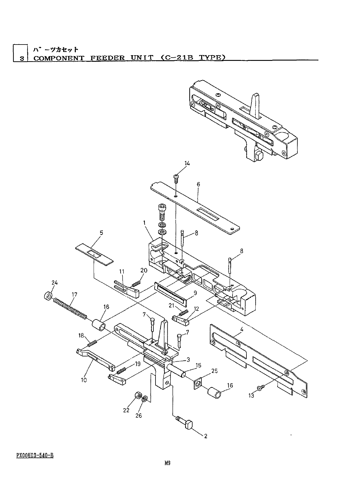
A ° 一夕力 " fey 卜 3 COMPONENT FEKDER UNIT CC - 21 B TYPE ) m 名 個 数 備 考 REMAEKS 部 番 品 品 No . PAST NAME Q ’ TY PART No . REF No . COMPONENT FEEDEE UNIT 1 X 0 QKQ 3540 送 本 体 FEED BODY X 0 QKQ 3541 fy PIN X 0 QK 03542 2 m…

100%1 / 19
/
-
y
力七
-
/
3
COMPONENT
FEEDER
UNIT
(
C
-
21
B
TYPE
)
X
2
PX
0
QK
03
-
540
-
B
M
9
A
°
一夕力
"
fey
3
COMPONENT
FEKDER
UNIT
CC
-
21
B
TYPE
)
m
REMAEKS
No
.
PAST
NAME
Q
TY
PART
No
.
REF
No
.
COMPONENT
FEEDEE
UNIT
1
X
0
QKQ
3540
FEED
BODY
X
0
QKQ
3541
fy
PIN
X
0
QK
03542
2
mV
TIM
SLIDE
BLOCK
XO
0
K
035
Q
3
3
rjy
zlHi
GUIDE
PLATE
X
00
K
03504
4
Mir
COVER
X
0
QK
03505
5
1
RETAINER
PLATE
X
00
K
03
S
06
6
FULCRUM
PIN
2
XQ
0
KQ
3507
1
FDLCRUM
PIN
2
XQQK
03508
8
7
y
TAPE
NO
.
9
Q
3
UL
N
986
N
90
-
738
9
A
)
FEED
PAffL
(
A
)
X
0
QK
0351
Q
10
U
FEED
PAWL
(
B
)
X
0
DK
03511
11
V
C
)
FEED
PAffL
(
0
2
X
0
QK
03512
12
十字穴付皿小吖
SCREff
4
M
2
.
6
X
5
L
XSS
26
+
5
FY
13
十字穴付
K
V
SCREW
2
M
3
X
5
L
XSN
3
jjFY
14
fAVM
GUIDE
SHAFT
15
X
003
-
073
K
BEARING
2
MBQ
712
DU
N
540
MBQ
712
DU
16
圧縮
O
SPRING
X
003
-
075
17
圧縮
O
SPRING
X
003
-
083
-
1
18
SPRING
X
003
-
083
-
2
19
SPRING
X
003
-
084
20
/
r
SPRING
X
003
-
085
21
h
HEXAGON
NOT
XNG
4
FFP
M
4
,
3
!
/
!
22
25
23
CAP
X
00
K
03515
24
-
STOPPER
X
00
K
03517
25
TJjML
Ml
SPRING
WASHER
XffA
4
BFY
26
PXQQKQ
3
-
54
Q
-
B
M
10
4
GUIDE
PIN
SELECT
SECTION
10
^
>
l
11
17
16
18
13
1
18
28
6
27
50
2
28
:
%
-
7
31
34
14
34
22
P
)
/
22
19
5
22
32
46
33
23
30
149
l
4
39
-
33
12
32
44
23
35
46
47
45
41
25
48
24
'
1
26
8
9
PXQ
44
-
08
D
Mil