Input conveyor extensionX4 S_X3 S single_20211124_100727 - 第9页
Input conveyor extensionX4 S/X3 S single Page 9 / 9 24.11.2021 Pos. Item no. Description Part marking 00519971-01 INPUT CONVEYOR EXTENSION X4S/X3S SINGLE 03100594-01 ADD-ON KIT INPUT EXTENSION SL SX4A 3 03094286-01 EXTEN…

Input conveyor extensionX4 S/X3 S single
Page 7 / 9 24.11.2021

Input conveyor extensionX4 S/X3 S single
Page 8 / 9 24.11.2021

Input conveyor extensionX4 S/X3 S single
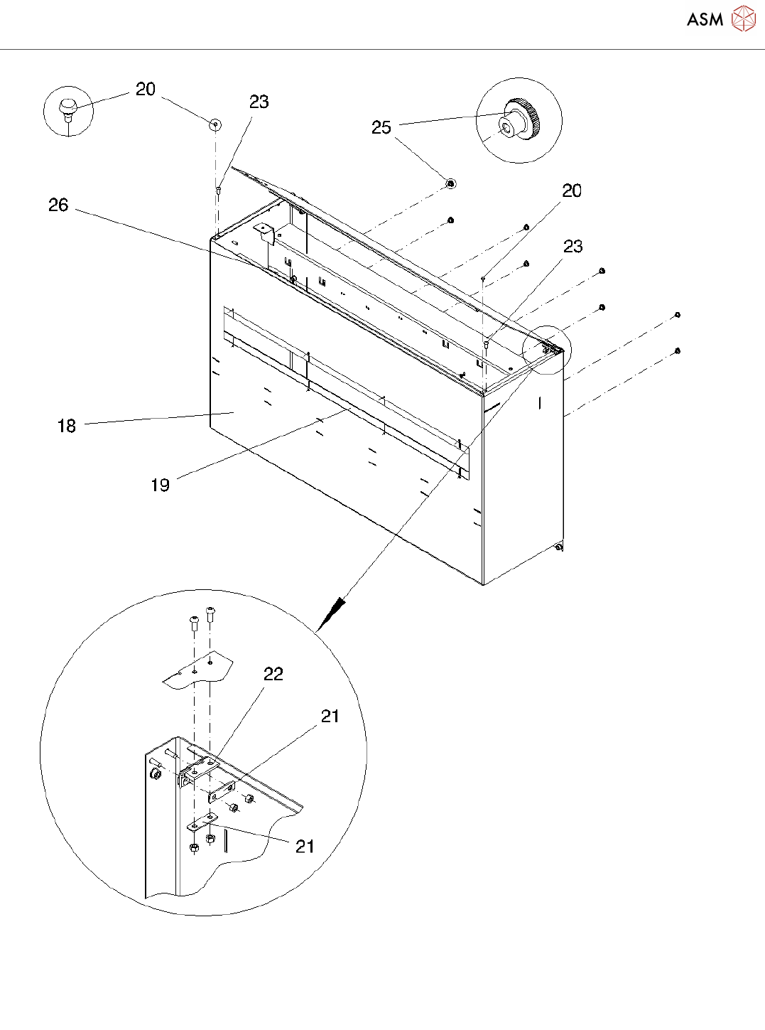
Page 9 / 9 24.11.2021
Pos. Item no. Description Part marking
00519971-01 INPUT CONVEYOR EXTENSION
X4S/X3S SINGLE
03100594-01 ADD-ON KIT INPUT EXTENSION SL
SX4A
3 03094286-01 EXTENSION INPUT BELT A/C SX4A.
4 03094325-02 BELT GUIDE A/C PA1 IS+ SX4A. SPARE PART
5 03093312S01 SYNCHRONOUS BELT L=1239 MM WEAR PART
6 03099834-01 PULLEY 1 IN- OUTPUT CPL. SX1A.
7 03088944-01 SPACER DEFLECTION PULLEY
8 03092899S02 PULLEY SXA. SPARE PART
9 03098065-01 ISO 14581 M 5 X 14,7-8.8,CHEM.NI. STANDARD PARTS
10 03097881-01 EXTENSION INPUT BELT B/D SX4A.
11 03094576-02 BELT GUIDE B/D PA1 IS+ SX4A. SPARE PART
12 03093312S01 SYNCHRONOUS BELT L=1239 MM WEAR PART
13 03098065-01 ISO 14581 M 5 X 14,7-8.8,CHEM.NI. STANDARD PARTS
14 03099834-01 PULLEY 1 IN- OUTPUT CPL. SX1A.
15 03088944-01 SPACER DEFLECTION PULLEY
16 03092899S02 PULLEY SXA. SPARE PART
17 03100054-04 HAND GUARD BELT EXTENSION
CPL.X-SERIES S
SPARE PART
18 03100345-02 HAND GUARD, WELDING ASSY
19 03100183-01 SHEET METAL, HAND GUARD
ADJUSTABLE SX4A
20 03072728-01 BUFFER WITH PIN, TYP-NR. 1284 STANDARD PARTS
21 03100352-01 SPACER PLATE
22 03054371-01 NIROSTA-HINGE GN 237.5-40-40
23 03040338-01 DIN EN ISO 7380-M3 X 8-A2-70 STANDARD PARTS
03101413-01 EDGE PROTECTOR
25 00306783-01 DIN 466 M3-ST STANDARD PARTS
26 03105426-01 WARNING DECAL HAND GUARD X-
SERIES S
Powered by TCPDF (www.tcpdf.org)