P-183-001 - 第22页
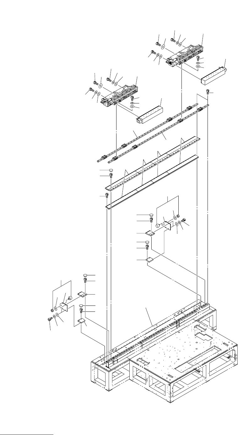
MODEL TCM-X300S 0306-001 20 ࡈࠖ࠳ࠠࡖ࠶ࠫㇱ FEEDER CARRIAGE SECTION Fig. C-1 ࡈࠖ࠳ゲ㚟േㇱ Feeder Axis Driver 8 7 5 4 3 5 7 8 7 22 8 20 19 7 21 18 23 24 25 15 30 29 28 33 32 31 27 26 9 14 13 10 2 See Fig.L-1 Key No.9 33 32 31 11 1…

MODEL TCM-X300S
0306-001
Key No. PART No. PART NAME Q’ty REMARKS
NOTE
19
BB-3
201 630 120 9791 ASSY,HOLDER 12 814BB-010-201
201 -01 630 082 8863 MOTOR,STEPPING 1 MPM1-12,M9529Z01A
201 -02 630 117 0718 CAM 1
201 -03 630 121 8250 BOLT,HEX-SCT 2
201 -05 630 118 2469 BUSH,BALL 5
201 -06 630 048 0849 SEAL 10
201 -07 630 116 8555 HOLDER 1
201 -08 630 097 4805 BOLT,HEX-SCT 3
201 -09 630 083 4369 COLLAR 5
201 -10 630 098 6624 DISK 1
201 -11 630 057 0076 PIPE FITTINGS 1
201 -12 630 091 2654 PLATE 1
201 -13 630 083 3300 HOLDER 1
201 -14 630 091 2661 BOLT,HEX-SCT 1
201 -21 630 047 4596 BOLT,HEX-SCT(BUTTON HEAD) 1
201 -22 630 082 9808 SET SCREW 2
202 630 089 7494 NAME PLATE,PARTS 1 814BB-010-202
203 630 089 7500 NAME PLATE,PARTS 1 814BB-010-203

MODEL TCM-X300S
0306-001
20
ࡈࠖ࠳ࠠࡖ࠶ࠫㇱ FEEDER CARRIAGE SECTION
Fig. C-1 ࡈࠖ࠳ゲ㚟േㇱ Feeder Axis Driver
8
7
5
4
3
5
7
8
7
22
8
20
19
7
21
18
23
24
25
15
30
29
28
33
32
31
27
26
9
14
13
10
2
See Fig.L-1
Key No.9
33
32
31
11
15
14
13
12
30
29
28
27
26
19
18
20
8
7
25
24
23
17
8
7
16
1
1

MODEL TCM-X300S
0306-001
Key No. PART No. PART NAME Q’ty REMARKS
NOTE
21
C-1
1 630 118 7174 GUIDE,LINEAR 2 814C--010-001
2 630 000 7893 BOLT,HEX-SCT 74 814C--010-002
3 630 120 5960 MOTOR,AC-SERVO 1 814C--010-003
4 630 120 5977 MOTOR,AC-SERVO 1 814C--010-004
5 630 120 5984 MOTOR,AC-SERVO 2 814C--010-005
7 411 179 5107 BOLT HEX-SCT 10X20 92 814C--010-007
8 630 085 9058 MECH PARTS (CAP) 46 814C--010-008
9 630 106 6813 BASE 1 814C--010-009
10 630 117 2408 MOTOR,AC-SERVO 1 MSVM2(F1),#B0340101
814C--010-010
11 630 106 6806 BASE 1 814C--010-011
12 630 117 2392 MOTOR,AC-SERVO 1 MSVM5(F2),#B0340095
814C--010-012
13 411 141 4503 WASHER V 8X17X1.6 32 814C--010-013
14 411 141 3100 WASHER SPR 8 32 814C--010-014
15 630 000 8029 BOLT,HEX-SCT 32 814C--010-015
16 630 118 6870 PLATE 1 814C--010-016
17 630 118 6887 PLATE 1 814C--010-017
18 630 117 1074 PLATE(PLATE) 2 814C--010-018
19 630 034 8743 SHOCK ABSORBER 2 814C--010-019
20 411 141 4800 WASHER V 12X24X2.5 2 814C--010-020
21 630 118 6894 PLATE 1 814C--010-021
22 630 118 6900 PLATE 1 814C--010-022
23 411 141 6309 WASHER F 10X18X2 8 814C--010-023
24 411 141 3209 WASHER SPR 10 8 814C--010-024
25 630 000 8135 BOLT,HEX-SCT 8 814C--010-025
26 630 107 7093 WASHER 2 814C--010-026
27 630 116 4410 BOLT,HEX-SCT 2 814C--010-027
28 411 141 6309 WASHER F 10X18X2 12 814C--010-028
29 411 141 3209 WASHER SPR 10 12 814C--010-029
30 630 012 1704 BOLT,HEX-SCT 12 814C--010-030
31 411 141 6002 WASHER F 6X11.5X1.6 24 814C--010-031
32 411 141 3001 WASHER SPR 6 24 814C--010-032
33 630 000 7923 BOLT,HEX-SCT 24 814C--010-033