OM-1076-001.pdf - 第94页
B01 Shape Data (B01_10) 0107-001 2-68 Tg0502-PM-CL Fig. B142 # of Leads [pcs.] 005 Lead No. 1 Fig. B143 (3) Lead Group # of Leads [pcs.] Set the number of leads that belong to each lead group. The center of the mark is t…

(2) Lead Group Direction [°]
Set the direction (angle) of the lead group in the text box.
Top View of Component
• When "IC (Simple)", "Connector (Simple)", or "Other Leaded
(Simple)" is selected, choose one of the following options.
Up (0°), Left (90°), Down (180°), Right (270°)
• When "IC (Complex)", "Connector (Complex)", or "Other Leaded
(Complex)" is selected, set a parameter based on the following.
Unit: °(degrees)
Data Input Range: 0 to 359
Example:
Top View of Component
Table B16-1
Lead Group Data 1 2
Lead Group Direction 0° 180°
Applicable Components : IC (Simple), IC (Complex),
Connector (Simple), Connector
(Complex), Other Leaded (Simple), and
Other Leaded (Complex)
0111-002 2-67 Tg0502-PM-CL
B01 Shape Data (B01_10)
Fig. B140
Direction [°]
000
Lead
No.
1
Fig. B141
Fig. B141-1

B01 Shape Data (B01_10)
0107-001 2-68 Tg0502-PM-CL
Fig. B142
# of Leads [pcs.]
005
Lead
No.
1
Fig. B143
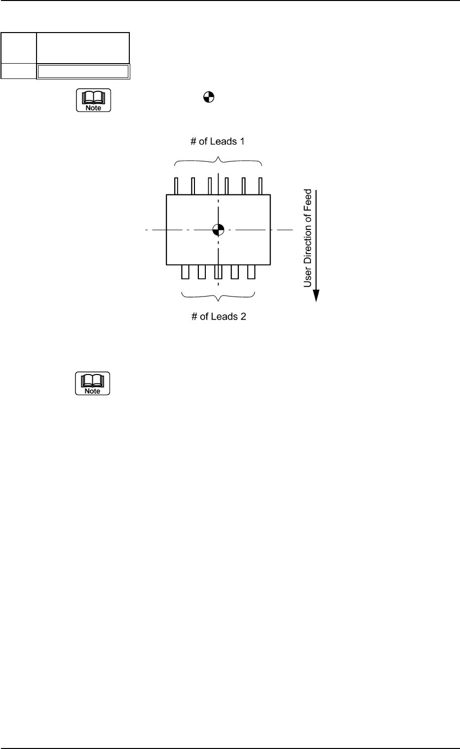
(3) Lead Group # of Leads [pcs.]
Set the number of leads that belong to each lead group.
The center of the
mark is the reference position for outward length
setting.
Top View of Component
The number of missing leads is not included in this number of leads.
Unit: piece
Data Input Range: 1 to 255
Applicable Components : IC (Simple), IC (Complex), Connector
(Simple), Connector (Complex), Other
Leaded (Simple), and Other Leaded
(Complex)

B01 Shape Data (B01_10)
0111-002 2-69 Tg0502-PM-CL
Fig. B144
Pitch [mm]
01.270
Lead
No.
1
Fig. B145
(4) Lead Group Pitch [mm]
Set the pitch of the leads that belong to each lead group.
The center of the
mark is the reference position for outward length
setting.
Top View of Component
Example: Special Case
Bottom View of Component
Unit: mm
Data Input Range: 0 to 99.999
Applicable Components : IC (Simple), IC (Complex), Connector
(Simple), Connector (Complex), Other
Leaded (Simple), and Other Leaded
(Complex)
Fig. B145-1