OM-1076-001.pdf - 第98页

(7) Lead Group Missing Lead Start Set the number of leads including the first missing lead. The center of the mark is the reference position for outward length setting. T op View of Component T able B17 Lead Group Data 1…

100%1 / 237
B01 Shape Data (B01_10)
0107-001 2-71 Tg0502-PM-CL
Fig. B148
Posn (Long) Det [mm]
+04.105
Lead
No.
1
Fig. B149
(6) Lead Group Posn (Long) Det [mm]
Set the distance between the edges of the mold and the lead (elec-
trode).
Unit: mm
Data Input Range: -99.999 to 99.999
Applicable Components: IC (Simple), Connector (Simple), and
Other Leaded (Simple)
(a) To set a parameter in the "Posn (Long) Det" text box, select "Enable"
in the "Extended Setting" text box.
(b) Set a parameter only when "Leadless" is selected in the "Type" text
box for ICs.
A parameter must be set when "Electd" is selected in the "Type" text
box for connectors or other leaded components.
(c) A minus () value must be set when the edge of the lead (electrode)
is located inside the edge of the mold.
A plus (+) value must be set when the edge of the lead (electrode) is
protruding from the edge of the mold.
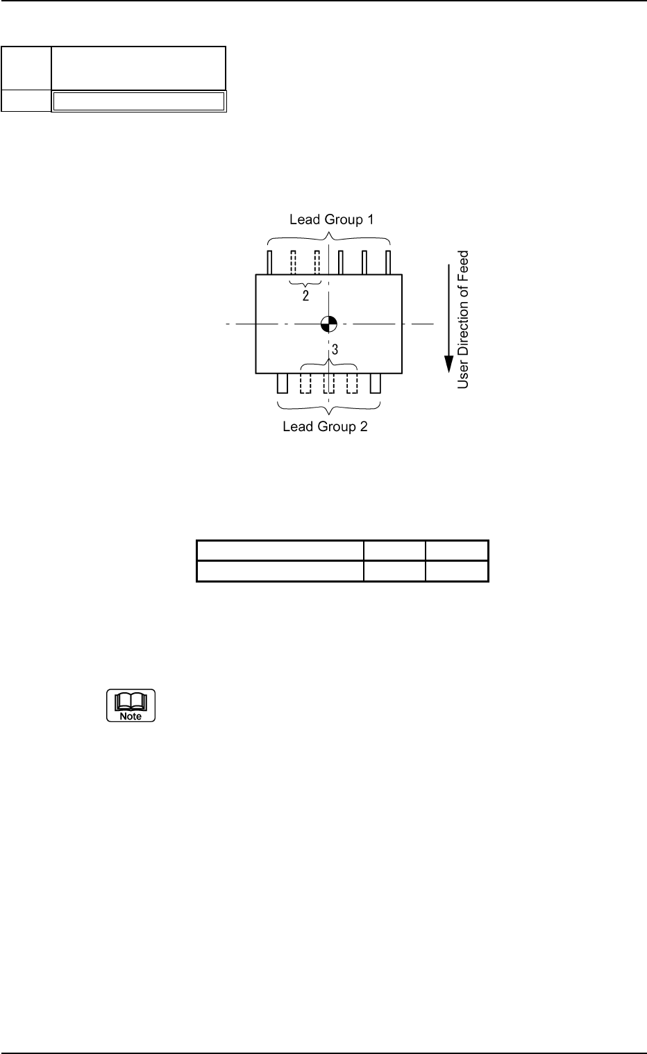
(7) Lead Group Missing Lead Start
Set the number of leads including the first missing lead.
The center of the
mark is the reference position for outward length
setting.
Top View of Component
Table B17
Lead Group Data 1 2
Missing Lead Start 4 2
Unit: piece
Data Input Range: 1 to 255
Set this only when "Enable" is selected in the "Extended Setting" text box.
Applicable Components : IC (Simple), IC (Complex), Connector
(Simple), Connector (Complex), Other
Leaded (Simple), and Other Leaded
(Complex)
0111-002 2-72 Tg0502-PM-CL
B01 Shape Data (B01_10)
Fig. B150
Missing Lead Start
001
Lead
No.
1
Fig. B151
(8) Lead Group # of Missing Leads [pcs.]
Set the number of missing leads in the text box.
As for a heat sink, set the number of leads equivalent to the width of
the heat sink.
Table B17-1
Lead Group Data 1 2
Missing Leads 2 3
Unit: piece
Data Input Range: 0 to 255
Set this only when "Enable" is selected in the "Extended Setting" text box.
Applicable Components : IC (Simple), IC (Complex), Connector
(Simple), Connector (Complex), Other
Leaded (Simple), and Other Leaded
(Complex)
0206-003 2-73
Tg0502-PM-CL
B01 Shape Data (B01_10)
Fig. B152
# of Missing Leads [pcs.]
000
Lead
No.
1
Fig. B152-1
Top View of Component