高速引脚元件轴向插件机.pdf - 第89页
AVK3 操作手册 5.1 生产准备 5.1 .2 在插件机开始自动运行之前,务必准备好 NC 数 据和元件数据。 按照以下各节讲解的步骤输入程序。 当装入宽度自动调整功能 ( 任选 ) 时必须准备好印刷线路板数据。 NC 生成新的 NC 数据 → “编程手册/ NC 数据的生成”。 生成 NC 数据用的新的元件数据 → “编程手册/元件数据的生成”。 生成新的生产印刷线路板的数据 → “编程手册/印刷线路板数据的生成”。 D77OC…

AVK3
操作手册
5.1 生产准备
( 1 2)
按照所用印刷线路板的厚度选择适当的导轨。
(mm) (1) (2)
2.0 1045414471 1045414471
1.8 1045414461 1045414461
* 1.6 1045414002 1045414002
1.4 1045414451 1045414451
1.2 1045414441 1045414441
1.0 1045414431 1045414431
0.8 1045414421 1045414421
0.6 1045414411 1045414411
0.5 1045414401 1045414401
标有
*
标记的导轨作为标准设备列出。
其他所有的档块尺寸均为任选尺寸。
(当印刷线路板基准孔直径改变时)
6.
1.
拧松螺母 1。(杆 L,R)
2.
更换基准销 2,使其与印刷线路板基准孔直径相配,然后拧紧螺母 1。
螺母
基准销
D77OCC-31-010-A0
5.1-5

AVK3
操作手册
5.1 生产准备
5.1.2
在插件机开始自动运行之前,务必准备好 NC 数据和元件数据。
按照以下各节讲解的步骤输入程序。
当装入宽度自动调整功能(任选)时必须准备好印刷线路板数据。
NC
生成新的 NC 数据 →“编程手册/NC 数据的生成”。
生成 NC 数据用的新的元件数据 →“编程手册/元件数据的生成”。
生成新的生产印刷线路板的数据 →“编程手册/印刷线路板数据的生成”。
D77OCC-31-010-A0
5.1-6

AVK3
操作手册
5.1 生产准备
5.1.3
当改变生产产品类型时,必须选择适当的 NC 数据。这些数据要从贮存在机器中的数据
中选出。当使用软盘中的数据时,应事先在设备中装入(拷入)所需的文件。
在选定自动宽度调整功能后,也要选择印刷板数据。
选择 NC 数据和元件数据后,输入生产数量和和跳过程序段。
= =
插件机记忆装置容量
装入
插件机记忆装置
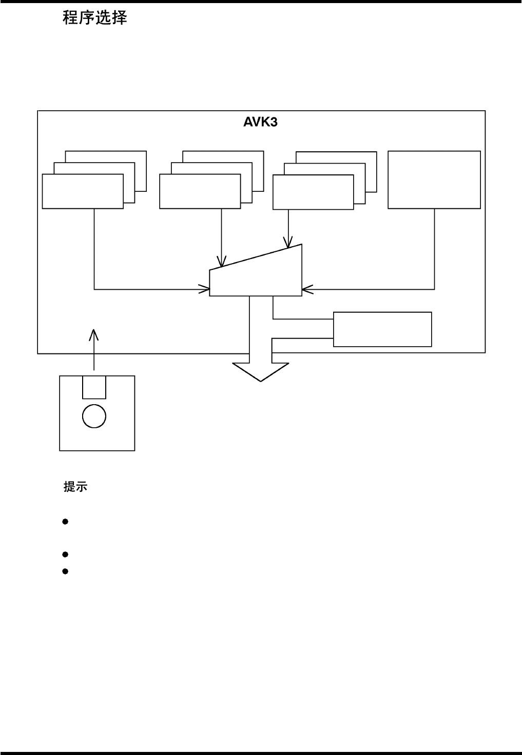
程序选择
插件机初始设定
输入/选择
从 32 种数据中选一种(以及
宽度自动调整的选购功能)。
从 32 种数据中选
一种。
从 32 种数据中选
一种。
各种数据
(生产计划、跳跃
程序段数等。)
印刷线路板数据元件数据 NC 数据
NC 数据: 最多 32 个程序或 5000 步作为整个程序段
(在一个程序中最多能贮存 2000 步)。
元件数据: 最多 32 个程序。
印刷线路板数据(任选):最多可贮存 32 种印刷线路板数据(任选)。
D77OCC-31-010-A0
5.1-7