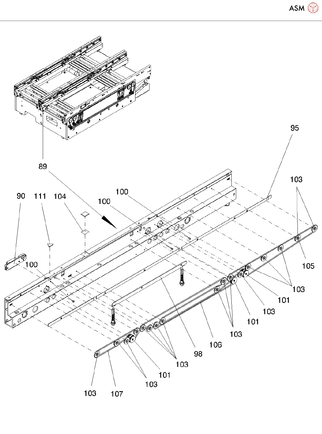
Conveyor module DC_20211118_073653 - 第12页
Conveyor module DC Page 12 / 20 18.11.2021

Conveyor module DC
Page 11 / 20 18.11.2021

Conveyor module DC
Page 12 / 20 18.11.2021

Conveyor module DC
Page 13 / 20 18.11.2021
Conveyor module DC Page 12 / 20 18.11.2021


