Gantry system electric X4i S Micron_20211122_064359 - 第19页
Gantry system electric X4i S Micron Page 19 / 25 22.11.2021

Gantry system electric X4i S Micron
Page 18 / 25 22.11.2021

Gantry system electric X4i S Micron
Page 19 / 25 22.11.2021

Gantry system electric X4i S Micron
Page 20 / 25 22.11.2021
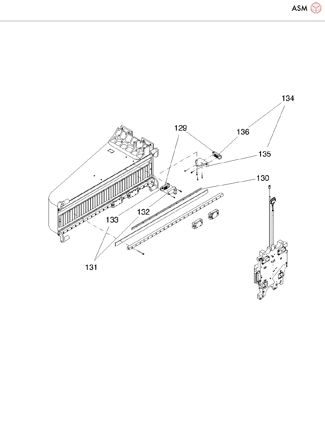
Pos. Item no. Description Part marking
1 03104758-01 TRAILING CABLE SIPLACE X4IS GIGE
2G O
2 03104774-01 TRAILING CABLE Y SIPLACE X4S
GIGE 2G O
SPARE PART
3 03049770-01 CONNECTION QS-6 STANDARD PARTS
4 03008162-01 ISO 4032 - M3-A2-70 STANDARD PARTS
5 03034429-01 TUBE OUTSIDE 2P G
03021925S01 PUR HOSE CAMOZZI 2 M WEAR PART
7 03034428-01 TUBE INSIDE 2P G
03021925S01 PUR HOSE CAMOZZI 2 M WEAR PART
9 03104819-02 CLAMPING ON Y HOLDER X4S GIGE
2G O
10 03023238-01 ISO 7046-2-M3 X 6-A2-70-H STANDARD PARTS
11 03100633-01 ISO 7089 - 3 - 200 HV - A2 STANDARD PARTS
12 03042553-01 ISO 4762 - M 4 X 12-A2-70 Spare Part
13 03042507-01 ISO 4762 - M 4 X 16-A2-70 STANDARD PARTS
14 03104824-01 CLAMPING ON FRAME 2G O GIGE
15 03042552-01 ISO 4762 - M 4 X 10-A2-70 STANDARD PARTS
16 03092071-01 HOLDER Y-TRAILING-CABLE-UNIT
RIGHT SX4AV
17 03014038-01 EDGE POROTECTION
18 03014037-01 RUBBER PLATE
19 03008162-01 ISO 4032 - M3-A2-70 STANDARD PARTS
03105010-01 TRAILING CABLE SET Y GIGE 2P
03105011-01 TRAILING CABLE Y 1 GIGE 2P: Y
MOTOR
00305458-01 BK-MOD421/2 CONNECTOR PLUG
34POLE
*
03105012-01 TRAILING CABLE Y 2 GIGE 2P: Y
MOTOR
00305458-01 BK-MOD421/2 CONNECTOR PLUG
34POLE
*
03105013-01 TRAILING CABLE Y 3 GIGE 2P: X
MOTOR
00305458-01 BK-MOD421/2 CONNECTOR PLUG
34POLE
*
03105014-01 TRAILING CABLE Y 4 GIGE 2P: X
MOTOR
00305458-01 BK-MOD421/2 CONNECTOR PLUG *