5TROUBLESHOOTING_ - 第148页
4.2 Troubleshooting on Pick - Up Errors 4.2 . 3 Trouble Cases 4.2 . 3.1 Failure ( Component Remaining in Square Cavity of Tape ) 1 . Applicable Components 2125 C ( t = 0.8 mm ) 2 . Contents of Deficiency Pick - up errors…

4.2
Troubleshooting
on
Pick
-
Up
Errors
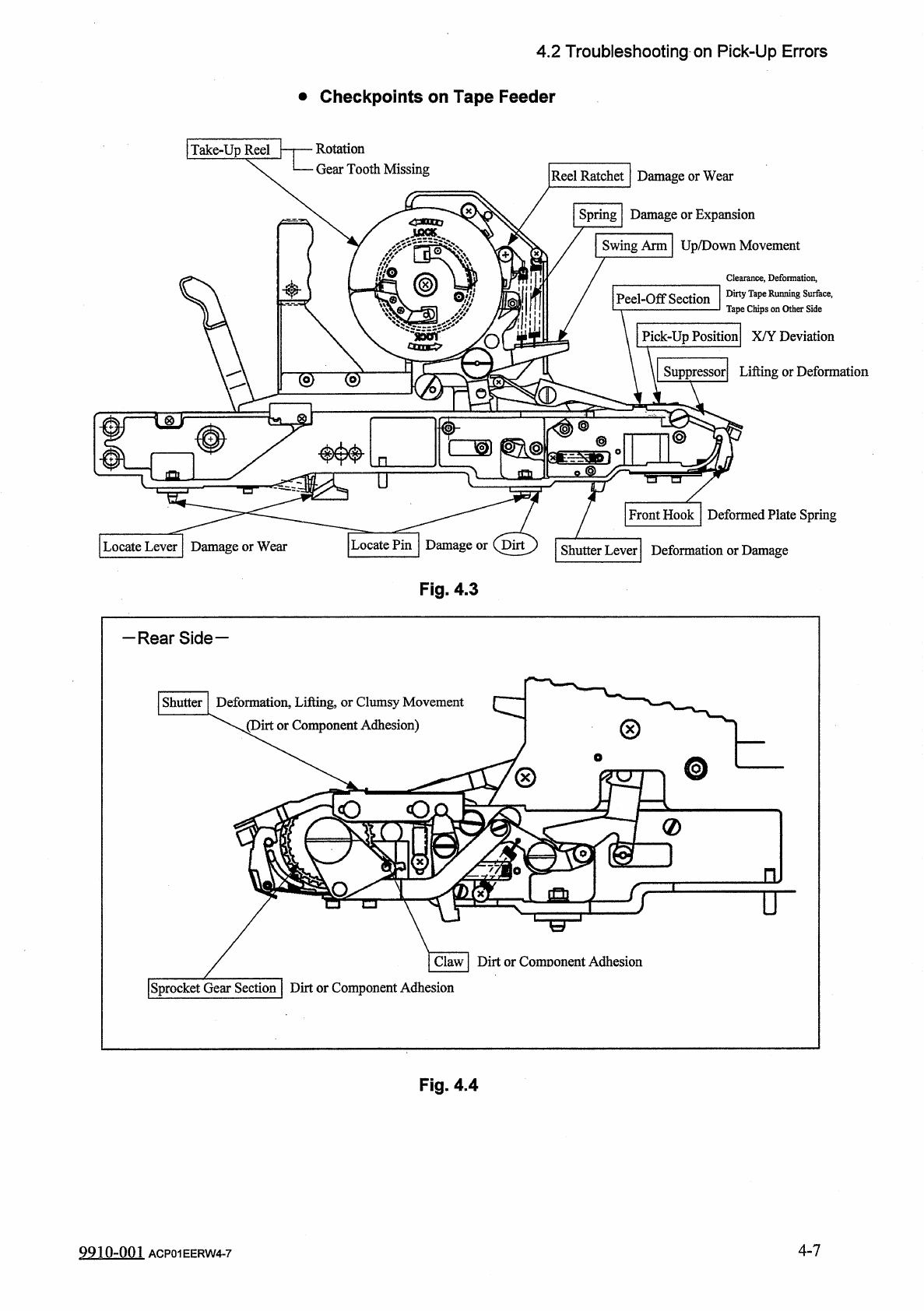
•
Checkpoints
on
Tape
Feeder
Rotation
Gear
Tooth
Missing
Take
-
Up
Reel
Reel
Ratchet
Damage
or
Wear
Spring
Damage
or
Expansion
Swing
Arm
Up
/
Down
Movement
Clearance
,
Deformation
^
Dirty
Tape
Running
Surface
,
Tape
Chips
on
Other
Side
Peel
-
Off
Section
Pick
-
Up
Position
X
/
Y
Deviation
Suppressor
Lifting
or
Deformation
◎
o
o
Front
Hook
Deformed
Plate
Spring
Locate
Lever
Damage
or
Wear
Shutter
Lever
Deformation
or
Damage
Fig
.
4.3
Fig
.
4.4
4
-
7
9910
-
001
ACP
01
EERW
4
-
7

4.2
Troubleshooting
on
Pick
-
Up
Errors
4.2
.
3
Trouble
Cases
4.2
.
3.1
Failure
(
Component
Remaining
in
Square
Cavity
of
Tape
)
1
.
Applicable
Components
2125
C
(
t
=
0.8
mm
)
2
.
Contents
of
Deficiency
Pick
-
up
errors
have
occurred
by
2
to
3
%
because
some
components
have
remained
in
the
square
cavities
of
the
Components
fall
frei
tape
once
they
are
set
in
the
tape
feeder
.
e
tape
.
ely
when
they
are
not
set
in
the
tape
feeder
but
they
stick
to
the
bottom
3
.
Cause
When
a
component
is
pushed
by
the
suppressor
,
it
sticks
to
the
bottom
tape
because
it
is
thicker
than
the
base
tape
.
Thickness
of
Base
Base
Tape
Bottom
Tape
4
.
Remedy
The
type
of
the
tape
feeder
was
changed
.
CT
-
0862
(
Feeder
for
Embossed
Tape
)
was
used
in
place
of
CT
-
0861
(
Feeder
for
Paper
Tape
)
.
5
.
Standardization
CT
-
0862
was
used
for
components
thicker
than
the
base
tape
.
4
-
8
9910
-
001
ACP
01
EERW
4
-
8

4.2
Troubleshooting
on
Pick
-
Up
Errors
4.2
.
3.2
Component
Recognition
Error
(
Lead
Detection
Error
)
1
.
Applicable
Components
S
-
MINI
Diode
2
.
Contents
of
Deficiency
Component
recognition
errors
(
lead
detection
errors
)
occurred
by
0.3
%
3
.
Cause
TH
"
text
box
of
the
label
"
LEAD
DATA
"
in
the
component
m
the
actual
lead
dimension
.
was
specified
for
both
"
LEAD
1
"
and
"
LEAD
2
"
in
the
dimensional
drawing
of
the
component
maker
.
When
the
width
was
actually
measured
,
the
dimension
of
"
LEAD
2
"
was
smaller
than
the
specified
one
as
shown
below
for
all
components
.
The
parameter
in
the
T
library
data
was
differe
:
"
0.3
±
0.1
mm
"
,
WID
nt
fro
:
4
.
Remedy
The
parameter
(
lead
width
)
of
the
component
library
data
was
changed
to
the
actual
dimension
.
5
.
Standardization
This
was
added
as
an
item
to
be
checked
when
a
recognition
error
occurs
.
9910
-
001
ACP
01
EERW
4
-
9
4
-
9