5TROUBLESHOOTING_ - 第157页
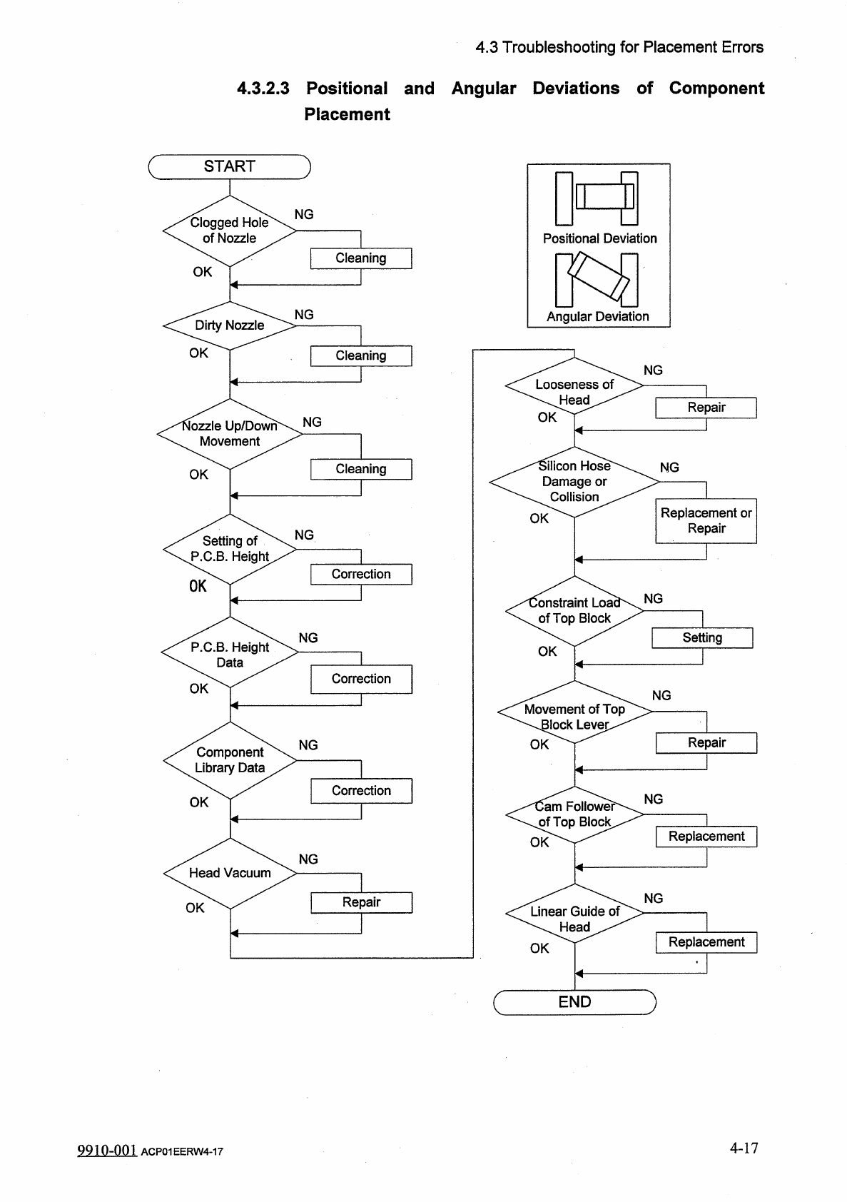
4.3 Troubleshooting for Placement Errors 4.3 . 2.3 Positional and Angular Deviations of Component Placement c START NG Clogged Hole of Nozzle Positional Deviation [ Cleaning | OK NG Angular Deviation Dirty Nozzle | Clean…

4.3
Troubleshooting
for
Placement
Errors
4.3
.
2.2
No
Component
Placement
Marks
at
Specified
Positions
on
P
.
C
.
B
.
Lands
START
NG
Nozzle
Up
/
Down
Movement
OK
Cleaning
OK
No
Marks
on
Glue
NG
Setting
of
P
.
C
.
B
.
Height
NG
Silicon
Hose
Damage
or
Collision
Correction
OK
Replacement
or
Repair
OK
NG
P
.
C
.
B
.
Height
Data
NG
Correction
Constraint
Loai
of
Top
Block
OK
Setting
OK
NG
Component
Library
Data
NG
Correction
lovement
of
Top
Block
Lever
OK
Correction
OK
NG
Head
Vacuum
NG
Cam
Follower
of
Top
Block
Repair
OK
Replacement
OK
NG
Looseness
of
Head
NG
Linear
Guide
of
\
Head
/
OK
Repair
Replacement
OK
)
END
4
-
16
9910
^
001
ACP
01
EERW
4
-
16

4.3
Troubleshooting
for
Placement
Errors
4.3
.
2.3
Positional
and
Angular
Deviations
of
Component
Placement
c
START
NG
Clogged
Hole
of
Nozzle
Positional
Deviation
[
Cleaning
|
OK
NG
Angular
Deviation
Dirty
Nozzle
|
Cleaning
|
OK
NG
Looseness
of
Head
[
Repair
|
OK
NG
lozzle
Up
/
Down
'
Movement
.
Cleaning
1
Silicon
Hose
Damage
or
Collision
.
NG
OK
Replacement
or
Repair
OK
NG
Setting
of
P
.
C
.
B
.
Height
Correction
OK
NG
Constraint
Loa
(
of
Top
Block
|
Setting
|
NG
P
.
C
.
B
.
Height
OK
Data
Correction
OK
NG
Movement
of
Top
\
Block
Levers
1
Repair
|
OK
NG
Component
Library
Data
Correction
NG
OK
dam
Follow
》
of
Top
Block
.
Replacement
OK
NG
Head
Vacuum
NG
|
Repair
|
OK
Linear
Guide
of
\
Head
Replacement
OK
)
END
4
-
17
9910
-
001
ACP
01
EERW
4
-
17

4.3
Troubleshooting
for
Placement
Errors
4.3
.
3
Trouble
Cases
4.3
.
3.1
Generation
of
Angular
Deviation
(
Approx
.
10
°
)
during
Component
Placement
1
.
Applicable
Components
1005
C
2
.
Contents
of
Deficiency
Angular
skew
(
approx
.
10
°
)
was
generated
by
2
or
3
%
during
component
placement
.
3
.
Cause
Wrong
recognition
was
made
due
to
the
dirty
end
of
the
vacuum
nozzle
.
4
.
Remedy
The
vacuum
nozzle
end
was
cleaned
and
the
nozzle
offset
data
was
taught
.
5
.
Standardization
"
Cleaning
of
Nozzle
End
"
was
added
to
the
list
of
items
to
be
checked
periodically
.
4
-
18
9910
-
001
ACP
01
EERW
4
-
18