Components carriage D2i_20211118_085335 - 第5页
Components carriage D2i Page 5 / 7 18.11.2021

Components carriage D2i
Page 4 / 7 18.11.2021

Components carriage D2i
Page 5 / 7 18.11.2021

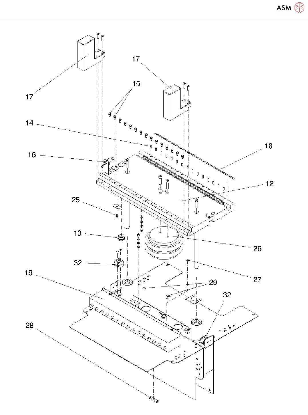
Components carriage D2i
Page 6 / 7 18.11.2021
Pos. Item no. Description Part marking
1 03092352-01 CHANGEOVER TABLE SIPLACE
D1/D2
2 03092217-01 CHASSIS COMPLETE COT D1/D2
3 03044881-01 FIXED CHASTERS SPARE PART
4 03079532-01 TENTE SWIVEL CASTOR
2970DYK050P30
5 03091261-01 HANDLE GN 528-ESD-117-8,5-SW SPARE PART
6 00306732-01 PUSH BUTTON INNER HALF PS-1,
10.3MM
7 03092227-01 WASTE TAPE CONTAINER / COT
D1/D2
SPARE PART
8 03011658-01 PARTITION PLATE /TAPEREEL
CONTAINER COMP
SPARE PART
9 03092724-01 CABLE CLIP VM-1010 STANDARD PARTS
10 03092321-01 HEIGHT ADJUSTMENT ASSEMBLY
/D1D2
11 03044870-01 TABLE COMPLETE /D1D2
12 03040399-02 BE-TABLE PLATE COMPLETE /COT
D1D2
13 00303447-01 DRILL BUSHING ANALOG DIN 172-A
18X16
STANDARD PARTS
14 00619866-01 DIN 6325 - 5M5 X 16-ST
15 00301776-02 SPERICAL CAP SPARE PART
16 03044971-01 TOGGLE SWITCH 2-WAYS-4MM SPARE PART
17 03044866-01 PROTECTOR SPARE PART
18 03002156-01 REACK RULER CONMP.TABLE
PROTECTION
SPARE PART
19 03096871-01 S-FCU 15-FOLD
20 00341997-01 LABEL GROUNDING POINT GNYE
D12.5
03041690-02 CABLE TREE:CHANGEOV. TABLE
SIPLACE D1/D2
SPARE PART
03041688-02 CABLE D-SERIES
D1/D2:COMPO.CAN+SIGNALING
00315706-01 METAL FILM RESISTOR 120 OHM
0,6W 1,0%
00337745S01 HAN D PNEUMATIC MODULE 3-POLE WEAR PART
25 03042553-01 ISO 4762 - M 4 X 12-A2-70 Spare Part
26 03044860-01 BELLOWS ACTUATOR, BOSCH REX.
0822419041
SPARE PART