3471_01 - 第101页
Illustrated Parts Breakdown 1-101 Distribution/Junction Box Assembly 990138 Parts Listing Key # Part # Description Quantity 1 001373 BRACKET , JUNCTION BO X 1 2 P3678 FITTING, ELBO W , BULKHEAD, UNION, 5/32" 2 3 PC-…

Ultraprint 2000 Hi
E
Series Illustrated Parts Breakdown/Engineering Drawings
1-100
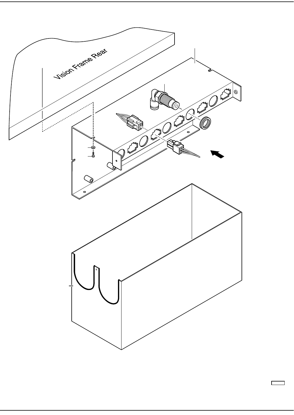
Distribution/Junction Box Assembly 990138 (1 of 1)
1
3
4
6
990138
Junction Box #4
2
7
5
Front of
Printer

Illustrated Parts Breakdown
1-101
Distribution/Junction Box Assembly 990138 Parts Listing
Key # Part # Description Quantity
1 001373 BRACKET, JUNCTION BOX 1
2 P3678 FITTING, ELBOW, BULKHEAD, UNION, 5/32" 2
3 PC-200 I/O DISTRIBUTION BOARD ASSEMBLY 5
4 4-40 X 3/8" BHS —
5 #8 FLAT WASHER —
6 001374 COVER, JUNCTION BOX 1
7 8-32 X 3/8" BHS —
quantities are of entire assembly
NS not shown

Ultraprint 2000 Hi
E
Series Illustrated Parts Breakdown/Engineering Drawings
1-102
Distribution/Junction Box Assembly 990215 (1 of 1)
1
5
990215
2
Junction Box #5
3
4
Front of
Printer