3471_01 - 第39页
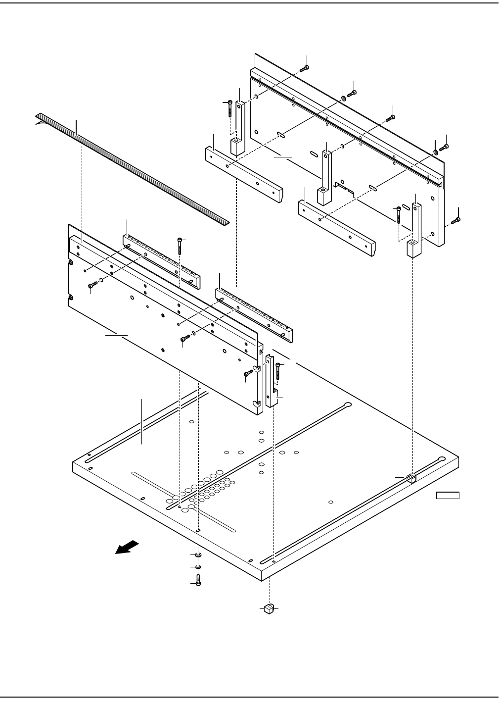
Illustrated Parts Breakdown 1-39 Frame Kit Assembly 990109Parts Listing Key # Part # Description Quantity 1 001603 BLOCK, PRINTHEAD CLAMP 4 2 1000342 SUPPORT, VISION PRINT 4 3 990114 THETA FRAME ASSEMBLY 1 4 990116 X FRA…

Ultraprint 2000 Hi
E
Series Illustrated Parts Breakdown/Engineering Drawings
1-38
Frame Kit Assembly 990109 (1 of 1)
See IPB 990093
7
8
13
9
10
3
4
5
12
6
990109
1
2
11
14

Illustrated Parts Breakdown
1-39
Frame Kit Assembly 990109Parts Listing
Key # Part # Description Quantity
1 001603 BLOCK, PRINTHEAD CLAMP 4
2 1000342 SUPPORT, VISION PRINT 4
3 990114 THETA FRAME ASSEMBLY 1
4 990116 X FRAME ASSEMBLY 1
5 001335 Z-AXIS BASE CASTING 1
6 001350 CLAMP, ROD, Z-AXIS 1
7 990115 Y FRAME ASSEMBLY 1
8 001602 BLOCK, THETA CLAMP 4
9 10000679 SUPPORT, THETA VISION PRINT 4
10 990147 VISION FRAME ASSEMBLY 1
11 990513 PRINT FRAME ASSEMBLY 1
12 001355 MAIN BASE FRAME 1
13 3/8-18 X 1 1/4" SHCS —
14 3/8-16 X 1 3/4" SHCS —
quantities are of entire assembly
NS not shown

Ultraprint 2000 Hi
E
Series Illustrated Parts Breakdown/Engineering Drawings
1-40
Worknest Assembly 990099 (1 of 1)
990099
14
6
9
7
6
17
17
17
18
17
17
18
12
19
19
10
1
11
3
Table Nut (#3)
Shown in position
Front of
Printer
Nut installs
under Worktable
8,15,16
17
17
17
13
19
2
19
20
22
21