3471_01 - 第96页
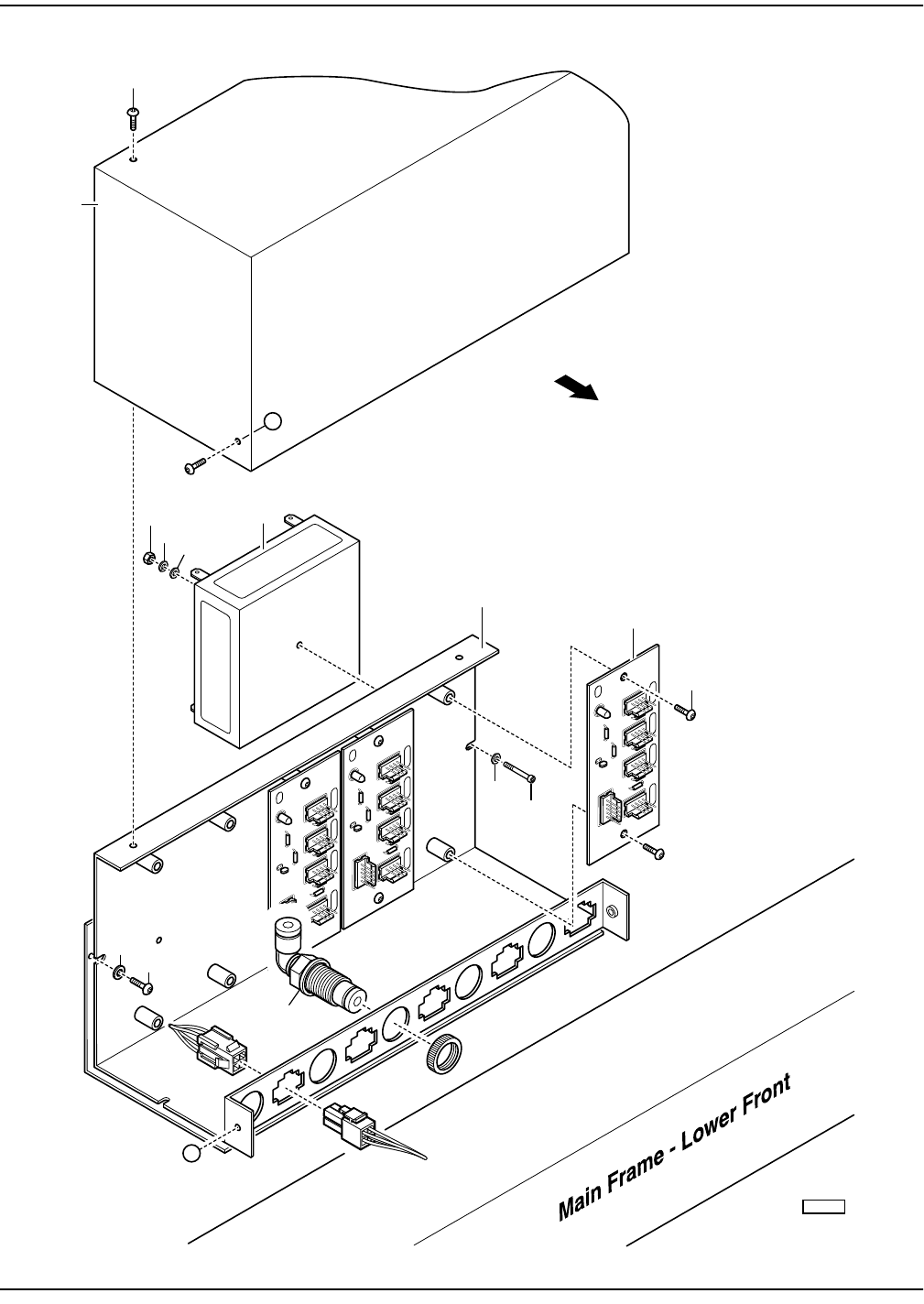
Ultraprint 2000 Hi E Series Illustrated Parts Breakdown/Engineering Drawings 1-96 Distribution/Junction Box Assembly 990134 (1 of 1) 1 2 12 3 12 9 4 990134 Junction Bo x #2 6 7 11 10 9 9 8 A A Front of Printer

Illustrated Parts Breakdown
1-95
Distribution/Junction Box Assembly 990133 Parts Listing
Key # Part # Description Quantity
1 001373 BRACKET, JUNCTION BOX 1
2 P3678 FITTING, ELBOW, BULKHEAD, UNION, 5/32" 1
3 PC-200 I/O DISTRIBUTION BOARD ASSEMBLY 4
4 4-40 X 3/8" BHS —
5 001374 COVER, JUNCTION BOX 4
6 8-32 X 3/8" BHS —
7 #8 FLAT WASHER —
quantities are of entire assembly
NS not shown

Ultraprint 2000 Hi
E
Series Illustrated Parts Breakdown/Engineering Drawings
1-96
Distribution/Junction Box Assembly 990134 (1 of 1)
1
2
12
3
12
9
4
990134
Junction Box #2
6
7
11
10
9
9
8
A
A
Front of
Printer

Illustrated Parts Breakdown
1-97
Distribution/Junction Box Assembly 990134 Parts Listing
Key # Part # Description Quantity
1 001373 BRACKET, JUNCTION BOX 1
2 PC-200 I/O DISTRIBUTION BOARD ASSEMBLY 3
3 P3678 FITTING, ELBOW, BULKHEAD, UNION, 5/32" 2
4 4-40 X 3/8" BHS —
6 001374 COVER, JUNCTION BOX 1
7 1004164 ASSEMBLY, UP2000 Z-AXIS RELAY 1
8 8-32 X 1 1/2" SHCS —
9 #8 FLAT WASHER —
10 #8 LOCK WASHER —
11 #8 LOCK NUT —
12 8-32 X 3/8" BHS —
quantities are of entire assembly
NS not shown