KE-3010_KE-3020V_KE-3020VR-Rev06PDFA - 第125页
- 116 - NOTE( 注記 ) #01....4 POR T ELECTROMAGNETIC オプション VCS が付いている場 合は、 VALVE IS NECESSARY WHEN 4つ組の電磁弁が必要です。 OPTION VCS IS ATTACHED. #02....FOR EN EN 用 #03....TYPE M_LEFT(UNTIL M/C REV.D ) M 仕様_左(マシン REV.D まで) #04....TY…

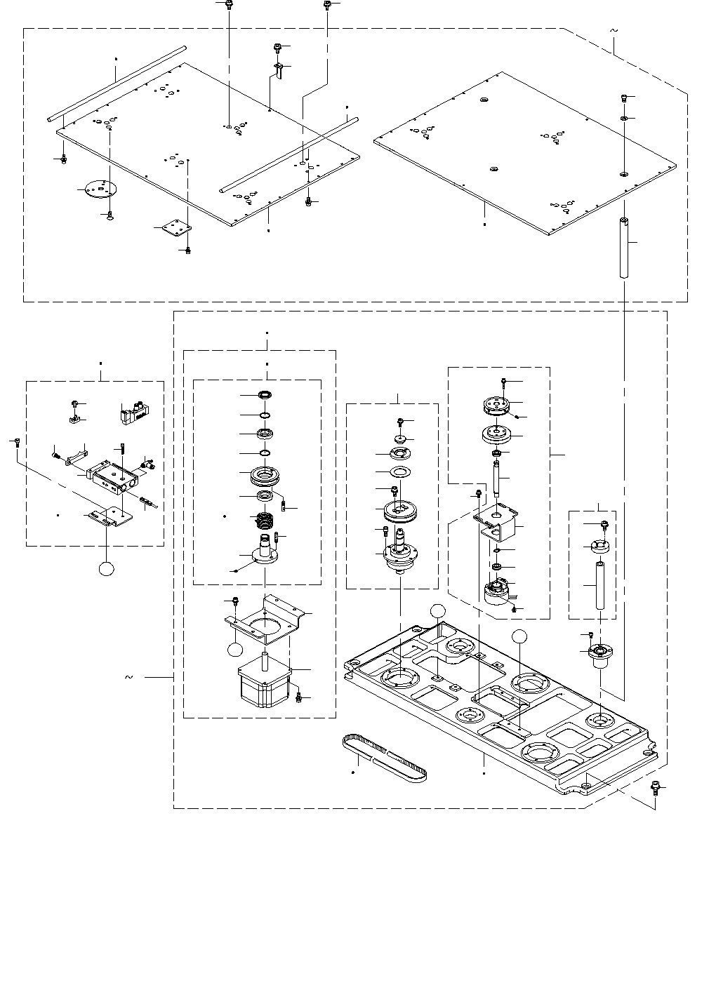
- 115 -
58.PWB CONVEYOR COMPONENTS(10)
基板搬送関係(10)
18 23
31
29
30
28
27
24
26
33
1
31
43
1
17
36
35
34
15
2
3
37
12
11
12
11
12
11
4
42
14
8
5
32
16
6
7
13
39
10
9
38
41
40

- 116 -
NOTE( 注記 ) #01....4 PORT ELECTROMAGNETIC オプション VCS が付いている場合は、
VALVE IS NECESSARY WHEN 4つ組の電磁弁が必要です。
OPTION VCS IS ATTACHED.
#02....FOR EN EN 用
#03....TYPE M_LEFT(UNTIL M/C REV.D) M 仕様_左(マシン REV.D まで)
#04....TYPE M_RIGHT(UNTIL M/C REV.D) M 仕様_右(マシン REV.D まで)
#05....TYPE L(UNTIL M/C REV.D) L 仕様(マシン REV.D まで)
#06....TYPE M_LEFT(AFTER M/C REV.E) M 仕様_左(マシン REV.E 以降 )
#07....TYPE M_RIGHT(AFTER M/C REV.E) M 仕様_右(マシン REV.E 以降)
#08....TYPE L(AFTER M/C REV.E) L 仕様(マシン REV.E 以降)
#09....UNTIL M/C REV.D マシン REV.D まで
#10....AFTER M/C REV.E マシン REV.E 以降
#11....TYPE L L 仕様
#12....TYPE M_LEFT M 仕様_左
#13....TYPE M_RIGHT M 仕様_右
*INSTALLATION POSITION AND DIRECTION VARY IF THE PWB TRANSFER
REFERENCE IS DIFFERENT.
基板搬送基準が異なると取付位置、方向が変わります。
REF.NO NOTE PART NO D E S C R I P T I O N
品 名
Qty
1 WP-1052001-SC WASHER 10,5X21X2
平座金みがき丸 M10
4
2 401-10123 CONVEYOR VALVE UNIT
コンベアバルブユニット
1
3
#02
401-14349 CONVEYOR_VALVE_UNIT_EN
コンベアバルブユニットEN
1
4 400-00916 MANIFOLD VALVE A ASM
コンベアバルブA組
(1)
5
#01
PV-1502093-00 5 PORT ELECTROMAGNETIC VALVE
5ポート電磁弁
(3)
6 PX-0500030-00 SILENCER
サイレンサ
(1)
7 PV-9150050-00 SOLENOID VALVE INSTALLING BASE
電磁弁取付けベース
(1)
8 SL-4031481-SC SCREW M3 X 14
なべ小ねじセムス M3X0.5 L=14
(2)
9 BT-0400251-EA TUBE HOSE, BLUE
ウレタンホース 青
(6)
10 PX-5000140-00 PLUG
止栓
(3)
11 HX-0029400-00 FIXED BASE
固定ベース
(4)
12 SM-4040601-SC SCREW M4X0.7 L=6
なべ小ねじ M4X0.7 L=6
(4)
13 401-14018 CONVEYOR VALVE STAGE
コンベアバルブステージ
(1)
14 PC-0124010-00 SPEED CONTROLLER
スピードコントローラ
(1)
15 SL-6041092-TN SCREW M4 L=10
座金付き六角穴ボルト M4 L=10
(2)
16 SM-3040652-TN SCREW M4 L=6
丸ねじ M4 L=6
(2)
17 SL-6051292-TN BOLT
座金付き六角穴ボルト
2
18
#03
401-10127 WAIT SENSOR UNIT ML
ウェイトセンサユニットML
1
19
#04
401-14735 WAIT SENSOR UNIT MR
ウェイトセンサユニットMR
1
20
#06
401-35831 WAIT_SENSOR_UNIT_ML
ウェイトセンサユニットML
1
21
#07
401-35833 WAIT_SENSOR_UNIT_MR
ウェイトセンサユニットMR
1
22
#05
401-14260 WAIT_SENSOR_UNIT_L
ウェイトセンサユニット_L
1
23
#08
401-35832 WAIT_SENSOR_UNIT_L
ウェイトセンサユニット_L
1
24
#12
401-13951 WAIT SENSOR BR ML
ウェイトセンサBR ML
(1)
25
#13
401-13950 WAIT SENSOR BR MR
ウェイトセンサBR MR
(1)
26
#11
401-10110 WAIT_SENSOR_BR
ウエイトセンサBR
(1)
27 E2169-721-000 HOLD PLATE
ホールドプレート
(1)
28 SL-6041292-TN SCREW M4 L=12
座金付き六角穴ボルト M4 L=12
(2)
29
#09
401-10064 WAIT SENSOR ASM
WAITセンサ組
(1)
30
#10
401-35828 LR WAIT COUT SENS ASM
LR ウェイトCOUTセンサ組
(1)
31 SL-4031091-SC SCREW M3 L=10
座金付きなべ小ねじ M3 L=10
(2)
32 HK-0691900-0B BLOCK TERMINAL
ブロックターミナル
1
33 401-14268 BU HOME SENSOR BRACKET ASM
BU原点センサBR組
1
34 EA-9500B01-00 CABLE BAND
束線バンド
(1)
35 400-92573 BU ORG SENS ASM
BU原点センサ組
(1)
36 E4115-729-000 UNION
BUセンサーブラケット
(1)
37 PF-0200040-00 REGULATOR
レギュレータ
1
38 400-93920 HANDLE SHAFT
ハンドルシャフト
1
39 EA-9500B01-00 CABLE BAND
束線バンド
40
40 400-13197 CONVEYOR COUPLING
コンベアカプリング
1
41 SM-8050502-TP SCREW M5 L=5
止めねじ
4
42 SM-4033001-SC SCREW M3 L=30
なべ小ねじ M3X0.5 L=30
(2)
43 SL-6104042-TN BOLT
座金付き六角穴ボルト
4

- 117 -
59.PWB CONVEYOR COMPONENTS(11)
基板搬送関係(11)
88
B
74
75
84
83
85
81
79
80
78
77
53
56
66 67
82
76
86
73
73
41
49
48
47
46
45
42
43
60
58
59
65
62
61
64
63
57
60
58
59
44
21
20
11
38
16
13
19
13
18
A
A
8
7
6
5
40
39
29
28
27
31
37
26
27
34
30
34
31
35
36
24
25
32
33
17
15
14
12
9
10
52
8
7
50 51
70
71
72
68 69
22 23
B
1 4