KE-3010_KE-3020V_KE-3020VR-Rev06PDFA - 第163页
- 154 - NOTE( 注記 ) #01....TYPE M, L(UNTIL M/C REV.D) M,L 仕様(マシン REV. D ま で) #02....TYPE XL XL 仕様 #03....TYPE XL(3020V,3020VR) XL 仕様(3020 V,3020 VR) #04....EXCEPT TYPE XL(3020V,3020VR) XL 仕様(3020 V,3020 VR)を除く #05....TYPE…

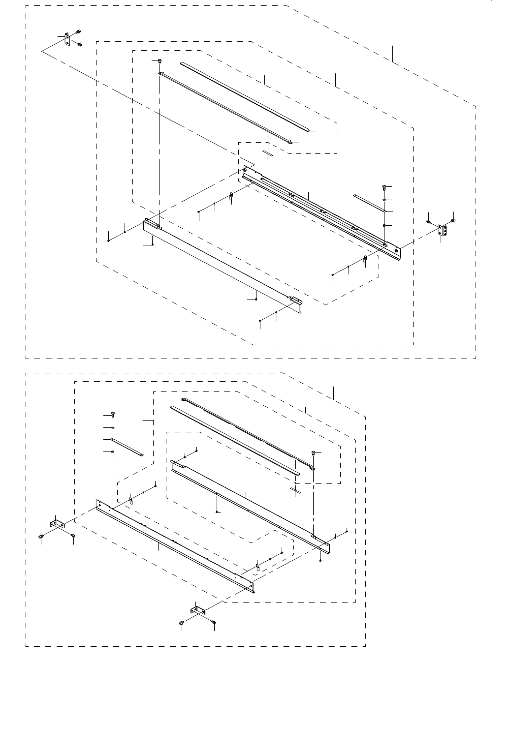
- 153 -
77.COPLANARITY UNIT
コプラナリティユニット
11
14
57
57
32
33
46
63
31
26
27
16
19
20
47
29
21
22
48
53
38
40
41
42
44
43
58
61
39
37
37
36
35
34
34
34
54
32
52
28
25
24
23
30
18
15
12
17
13
55
56
1
49
50
51
45
2
5
4
3
6
62
60
59
7
8
10
9

- 154 -
NOTE( 注記 ) #01....TYPE M,L(UNTIL M/C REV.D) M,L 仕様(マシン REV.D まで)
#02....TYPE XL XL 仕様
#03....TYPE XL(3020V,3020VR) XL 仕様(3020 V,3020 VR)
#04....EXCEPT TYPE XL(3020V,3020VR) XL 仕様(3020 V,3020 VR)を除く
#05....TYPE M,L(AFTER M/C REV.E) M,L 仕様(マシン REV.E 以降)
#06....TYPE M,L M,L 仕様
REF.NO NOTE PART NO D E S C R I P T I O N
品 名
Qty
1 400-97422 COPLANARITY SENSOR
コプラナリティセンサー
1
2 400-97624 COPLANARITY UNIT CPU ASM
コプラナリティユニットCPU組
1
3 400-97209 CPU BOARD
CPUボード
(1)
4 400-97878 DIMM 1GB
DIMM 1GB
(1)
5 401-09407 COPLA SSD BR
コプラSSDブラケット
(1)
6 400-99895 COPLA SSD ASM
コプラSSD組
(1)
7 SL-4030691-SC SCREW M3 L=6
座金付きなべ小ねじ M3 L=6
(4)
8 HX-0048600-0C SPACER
スペーサ
(4)
9 SL-4860681-SC SCREW M2.6 X 6
なべ小ねじセムス M2.6 L=6
(4)
10 SM-4860501-SB SCREW M2.5 L=5
なべねじ M2.6 L=5
(4)
11 400-99486 COPLANARITY SENSOR BASE ASM
コプラナリティセンサベース組
1
12 400-94694 COPLA HOLD BLOCK
コプラホールドブロック
(1)
13 400-94690 COPLA HOLD BASE
コプラホールドベース
(1)
14 SM-6051202-TN SCREW M5X0.8 L=12
六角穴ボルト M5X0.8 L=12
(3)
15 SL-6061292-TN SCREW
座金付き六角穴ボルト
2
16 SM-4041001-SC SCREW M4X0.7 L=10
なべ小ねじ M4X0.7 L=10
2
17 SM-6062002-TN SCREW M6 L=20
六角穴ボルト M6 L=20
2
18
#03
SL-6082092-TN BOLT
座金付き六角穴ボルト
4
19
#02
400-99487 COPLANARITY SENSOR PSU
コプラナリティセンサ電源ボックス
1
20
#06
401-13994 COPLANARITY SENSOR PSU UNIT
コプラナリティセンサ電源ユニット
1
21
#02
400-98181 COPLA POWER BOX BR
コプラ電源ボックスBR
(1)
22
#06
401-11658 COPLA POWER BOX BR
コプラ電源ボックスBR
(1)
23 SL-4040891-SC SCREW M4 L=8
座金付きなべ小ねじ M4 L=8
(2)
24 HX-0029400-00 FIXED BASE
固定ベース
(4)
25 SM-4040601-SC SCREW M4X0.7 L=6
なべ小ねじ M4X0.7 L=6
(4)
26 HX-0057700-00 POWER SUPPLY
電源
(1)
27 SL-4030691-SC SCREW M3 L=6
座金付きなべ小ねじ M3 L=6
(4)
28 E5348-033-100 CABLE PROTECTOR 106MM
ブッシュ
(0.12)
29 400-98182 COPLA POWER BOX COVER
コプラ電源ボックスカバー
(1)
30 E1038-871-000 PLATEN LOCK CAM SCREW
プラテン ロックカム スクリュウ
(2)
31 HA-0052700-00 CIRCUIT PROTECTOR
サーキットプロテクタ
(1)
32
#06
401-14258 COPLA OPTIN PLATE
コプラオプションプレート
2
33
#02
400-99490 COPLA_OPTION_PLATE
コプラオプションプレート
1
34 HX-0034400-00 HARNESS PARTS
束線パーツ
4
35 SL-6041292-TN SCREW
座金付き六角穴ボルト
1
36 NM-6040001-SC NUT M4X0.7 TYPE1
六角ナット M4X0.7 1種
1
37 400-99903 PILOT LAMP
パイロットランプ
2
38 EA-9500B02-00 CABLE BAND 150
結束バンド 150
20
39 E4595-855-000 VAC SPONGE
VACスポンジ
1
40
#01
401-14028 COPLA SELECT PCB BR
コプラ切り換え基板ブラケット
1
41
#05
401-34640 COPLA_SELECT_PCB_BR
コプラセレクトPCBブラケット
1
42 SL-4030691-SC SCREW M3 L=6
座金付きなべ小ねじ M3 L=6
6
43 SL-6061292-TN SCREW
座金付き六角穴ボルト
2
44 HX-0041800-0C SPACER
スペーサ
6
45 400-97434 COPLA MONITOR SWITCH BOARD
コプラモニタ切り換えボード
1
46 E1038-871-000 PLATEN LOCK CAM SCREW
プラテン ロックカム スクリュウ
2
47 E1038-871-000 PLATEN LOCK CAM SCREW
プラテン ロックカム スクリュウ
2
48 SL-4851091-SC SCREW
座金付きねじ
4
49
#04
SM-9082003-SC SCREW M8 L=20
六角ボルト
4
50
#04
WP-0841601-SC WASHER 8.4X17.4X1.6
平座金みがき丸 M8
4
51
#04
WS-0820002-KN SPRING WASHER M8
ばね座金 M8
4
52 400-99488 APERTURE LABEL
開口部ラベル
1
53 400-97423 CPCI BACK BOARD
CPCIバックボード
1
54 PH-0600282-U0 PARALLEL PIN
平行ピン
2
55 400-94691 COPLA BR R
コプラブラケット R
1
56 400-94692 COPLA BR L
コプラブラケット L
1
57 SL-6041092-TN SCREW
座金付き六角穴ボルト
4
58
#02
400-99529 SELECTOR BR
セレクタBR
1
59
#02
HX-0041800-0C SPACER
スペーサ
6
60
#02
SL-4030691-SC SCREW M3 L=6
座金付きなべ小ねじ M3 L=6
6
61
#02
SL-6061292-TN SCREW
座金付き六角穴ボルト
2
62
#02
400-97434 COPLA MONITOR SWITCH BOARD
コプラモニタ切り換えボード
1
63 400-99904 KEY SWITCH CABLE ASM
キーSWケーブル組
1

- 155 -
78.FPI COMPONENTS(1)
FPI 関係(1)
14
15
16
17
4
5
6
5
5
5
6
10
9
8
2
18
11
13
12
12
13
11
21
19
20
21
19
20
3
7
1
24
25
27
26
26
26
27
26
39
30
29
31
34
33
32
34
33
32
36
37
35
38
28
23
41
42
42
40
40
41
22