KE-2050_2060_Specifications_Rev11_C - 第20页
15 搭載グループ エリア部品位置決めマーク 部品位置決めマーク 基準マーク 基准标记与元件定位标记 识别标记的基本材质 · 采用未进行涂层加工的铜、或已进行涂层加工的铜 。 · 识别标记的表面与相邻的印刷电路配线材质之间必 须有明显的反差。 · 识别标记不得被氧化,也不得使用粗糙或者易于劣 化的材质。 识别标记的涂层加工 标记的表面应进行下述涂层加工。 · 透明的抗氧化涂层加工 · 镀镍加工 · 镀锡加工 · 电镀加工 · 热空气均涂…

14
4-6-6. 基板位置校正功能
基板基准标记识别视野
□6.3mm(摄像机视野范围)
基板识别视野
基板基准标记识别窗口尺寸
可在最大 6.3mm 的范围内变化。但应确保识别标记与周围的间隙。
识别标记的种类与校正方法
基板基准标记 : 表示在基板上设置有 2 处或 3 处对整个基板进行校正的标记。检测出 2 处时,
要对整个基板的位置偏移、角度偏移、基板的伸缩进行校正。检测出 3 处时,
需进一步对基板的 XY 的直角偏移进行校正。
元件定位标记 : 进行 IC(QFP)等精度要求更高的贴片时,可使用单个元件上设置的 2 处或 3 处
标记,以贴片点为单位进行贴片位置的校正。
区域·元件定位标记 : 对于有多个元件贴片位置的组,可设置 2 处或 3 处(任意位置)标记,对
组内元件的贴片位置进行校正。
注: 可设置在任意位置上。但设 3 处基准标记时,标记的 3 个点不能排列在一条直线上。(建议在
基板的 4 个角位置上设置标记)
基板识别视野
识别标记
基板

15
搭載グループ
エリア部品位置決めマーク 部品位置決めマーク
基準マーク
基准标记与元件定位标记
识别标记的基本材质
· 采用未进行涂层加工的铜、或已进行涂层加工的铜。
· 识别标记的表面与相邻的印刷电路配线材质之间必须有明显的反差。
· 识别标记不得被氧化,也不得使用粗糙或者易于劣化的材质。
识别标记的涂层加工
标记的表面应进行下述涂层加工。
· 透明的抗氧化涂层加工
· 镀镍加工
· 镀锡加工
· 电镀加工
· 热空气均涂钎焊加工
标记形状
· 标准标记包括“识别标记形状”中所示的 13 种类型。
· 对于“识别标记形状”以外的标记,请用户制作模板,然后,便可通过图案匹配功能进行识别。
注1. 仅限于基准标记,不包括元件定位标记。
注2. 除对象标记的形状外,在视野范围内不得有形状类似的图案。另外,必须有明确的反差。
· 对于三角形、黑白格交错以及用户模板, 90°旋转后的标记也应可识别。
识别标记的形状
识别标记依据 EIAJ ET-7302“表面安装印刷电路板用识别标记”规定的标记制定。
区域元件定位标记
元件定位标记
贴片组
基板基准标记
圆形
正方形 菱形 三角形 反三角形 黑白格交错 十字形
中空圆形 中空正方形 中空菱形 中空三角形 中空反三角形 黑白格交错

16
尺寸与公差
外形尺寸为 0.5mm~3.0mm,公差为±10%以下。
中空形状的边线部分的宽度应在 0.2mm 以上。
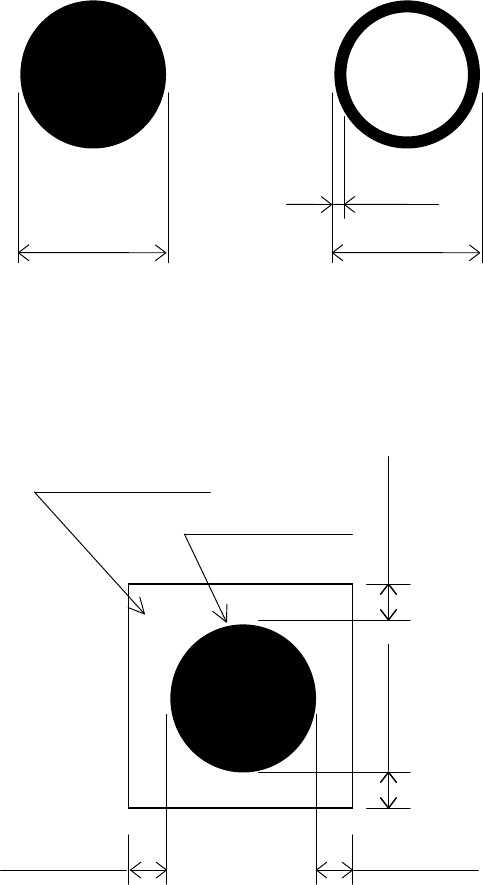
识别标记的尺寸与公差
各识别标记的周围应没有导体图案、抗焊剂以及标记等其他标记的空间,且该空间的尺寸最好是离识
别标记外围 0.5mm 以上的大正方形。
识别标记的间隙
0.5~3.0mm
0.5~3.0mm
0.2mm 以上
0.5mm 以上 0.5mm 以上
0.5mm 以上
间隙范围
0.5mm 以上
识别标记