P-217-001e - 第113页
0301-001 Key No . P AR T No. P AR T NAME Q’ty REMARKS NOTE 111 N-4 PF-321 1 30 1 630 104 4262 PIN,LOCA TE 1 7 5 5N--010-301 30 2 630 1 10 4300 ASSY ,LEVER 1 7 5 5N--010-302 31 0 630 1 10 2320 SHAFT 1 7 5 5N--010-310 31 1…

0301-001
110
テープフィーダ TAPE FEEDER
PF-3211 PF-3211
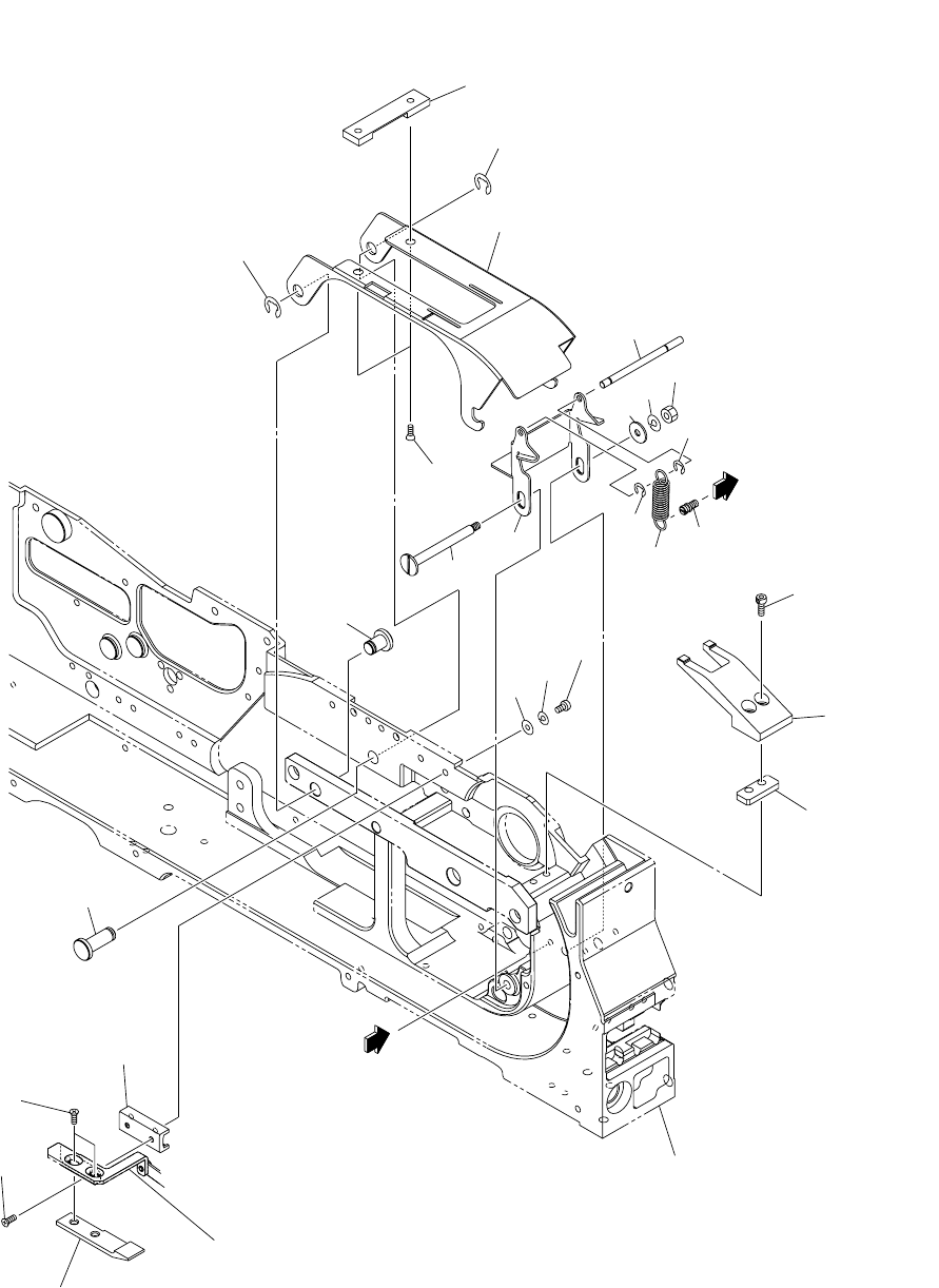
Fig. N-4 巻取りリンク部 Winding Link Section
See Fig.N-2
Key No.108
See Fig.N-1
Key No.1
317
302
313
316
318
Fig.N-4
301
315
311
321
315
311
310
319
314
316
320

0301-001
Key No. PART No. PART NAME Q’ty REMARKS
NOTE
111
N-4
PF-3211
301 630 104 4262 PIN,LOCATE 1 755N--010-301
302 630 110 4300 ASSY,LEVER 1 755N--010-302
310 630 110 2320 SHAFT 1 755N--010-310
311 630 110 2337 ROLLER 2 755N--010-511
313 630 110 2313 PIN,HINGE 1 755N--010-313
314 630 110 2474 BRACKET 1 755N--010-314
315 411 000 9809 RING E 3 3 755N--010-118
316 411 141 2806 WASHER SPR 3 4 755N--010-114
317 411 141 3902 WASHER V 3X7X0.5 1 755N--010-115
318 411 140 9905 NUT HEX 3 1 755N--010-116
319 411 141 5807 WASHER F 3X6X0.5 3 755N--010-120
320 630 000 7503 BOLT,HEX-SCT 3 755N--010-117
321 411 034 7208 SCR FLT 3X8 2 755N--010-043

0301-001
112
テープフィーダ TAPE FEEDER
PF-3211 PF-3211
Fig. N-5 サプレッサ部 Suppressor Section
407
405
413
406
426
427
427
411
See Fig.N-1
Key No.1
408
A
401
404
424
425
423
A
416
421
420
422
418
428
417
429
402
415
415
419
See Fig.N-2
Key No.108
Fig.N-5
429