P-217-001e - 第103页
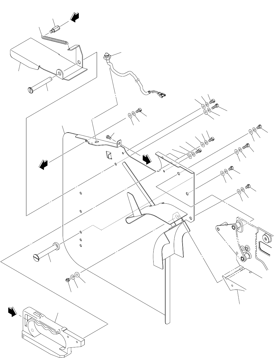
0301-002 Key No . P AR T No. P AR T NAME Q’ty REMARKS NOTE 101 VL-1 RI-3210 1 630 102 7432 LEVER 1 755VL-010-001 2 630 101 2643 HOLDER 1 755VL-010-002 3 630 103 3808 PIN,LOCA TE 1 755VL-010-003 4 630 103 3945 ASSY ,HOLDE…

0301-002
100
リールホルダ RI-3210 REEL HOLDER RI-3210
Fig. VL-1 32mm 幅テ-プフィーダ用 FOR 32mm TAPE FEEDER
8
A
B
B
See Fig.V-1
Key No.1
16
15
10
10
15
16
3
2
1
6
5
11
15
16
12
15
16
10
15
16
12
15
16
9
13
14
9
13
14
9
13
14
9
13
14
4
Fig.VL-1
7
A
51

0301-002
Key No. PART No. PART NAME Q’ty REMARKS
NOTE
101
VL-1
RI-3210
1 630 102 7432 LEVER 1 755VL-010-001
2 630 101 2643 HOLDER 1 755VL-010-002
3 630 103 3808 PIN,LOCATE 1 755VL-010-003
4 630 103 3945 ASSY,HOLDER 1 755VL-010-004
5 630 103 2993 HOOK 1 755VL-010-005
6 630 002 8171 SPRING,TENSION 1 755VL-010-006
7 630 103 3129 GRIP 1 755VL-010-007
8 411 050 5004 SCR TRS 3X6 1 755VL-010-008
9 630 000 7510 BOLT,HEX-SCT 5 755VL-010-009
10 630 000 7619 BOLT,HEX-SCT 3 755VL-010-010
11 630 000 7602 BOLT,HEX-SCT 1 755VL-010-011
12 630 000 7633 BOLT,HEX-SCT 2 755VL-010-012
13 411 141 2806 WASHER SPR 3 5 755VL-010-013
14 411 141 3902 WASHER V 3X7X0.5 5 755VL-010-014
15 411 141 2905 WASHER SPR 4 6 755VL-010-015
16 411 141 4008 WASHER V 4X9X0.8 6 755VL-010-016
51 630 113 8138 ASSY,LAMP 1 755VL-010-051

MEMO