P-217-001e - 第145页
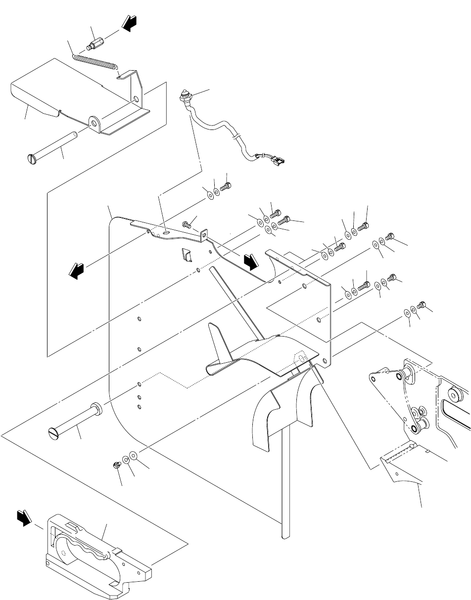
0301-002 Key No . P AR T No. P AR T NAME Q’ty REMARKS NOTE 143 QL-1 RI-4410 1 630 103 4874 LEVER 1 755QL-010-001 2 630 103 4904 HOLDER 1 755QL-010-002 3 630 103 4935 PIN,LOCA TE 1 755QL-010-003 4 630 105 0416 ASSY ,HOLDE…

0301-002
142
リールホルダ RI-4410 REEL HOLDER RI-4410
Fig. QL-1 44mm 幅テ-プフィーダ用 FOR 44mm TAPE FEEDER
14
13
9
14
13
9
14
13
9
14
13
9
16
15
10
16
15
12
16
15
10
16
15
11
16
15
12
8
A
See Fig.Q-1
Key No.1
16
15
10
7
3
A
2
1
6
5
4
Fig.QL-1
B
B
51

0301-002
Key No. PART No. PART NAME Q’ty REMARKS
NOTE
143
QL-1
RI-4410
1 630 103 4874 LEVER 1 755QL-010-001
2 630 103 4904 HOLDER 1 755QL-010-002
3 630 103 4935 PIN,LOCATE 1 755QL-010-003
4 630 105 0416 ASSY,HOLDER 1 755QL-010-004
5 630 103 2993 HOOK 1 755QL-010-005
6 630 002 8171 SPRING,TENSION 1 755QL-010-006
7 630 103 3129 GRIP 1 755QL-010-007
8 411 050 5004 SCR TRS 3X6 1 755QL-010-008
9 630 000 7510 BOLT,HEX-SCT 5 755QL-010-009
10 630 000 7619 BOLT,HEX-SCT 3 755QL-010-010
11 630 000 7602 BOLT,HEX-SCT 1 755QL-010-011
12 630 000 7633 BOLT,HEX-SCT 2 755QL-010-012
13 411 141 2806 WASHER SPR 3 5 755QL-010-013
14 411 141 3902 WASHER V 3X7X0.5 5 755QL-010-014
15 411 141 2905 WASHER SPR 4 6 755QL-010-015
16 411 141 4008 WASHER V 4X9X0.8 6 755QL-010-016
51 630 113 8138 ASSY,LAMP 1 755QL-010-051

MEMO