P-217-001e - 第157页
01 12-001 Key No . P AR T No. P AR T NAME Q’ty REMARKS NOTE T-5 PF-5610 40 1 630 104 7096 ASSY ,LEVER 1 755T--010-401 40 2 630 107 3026 PIN,LOCA TE 1 755T--010-402 40 4 630 104 7195 PIN,LOCA TE 1 755T--010-404 40 5 630 1…

0301-002
TAPE FEEDER
PF-5610 PF-5610
Fig. T-5
Suppressor Section
402
407
405
425
406
426
427
427
411
See Fig.T-1
Key No.1
408
A
401
404
A
415
410
414
428
429
426
412
426
See Fig.T-4
Key No.302
Fig.T-5

0112-001
Key No. PART No. PART NAME Q’ty REMARKS
NOTE
T-5
PF-5610
401 630 104 7096 ASSY,LEVER 1 755T--010-401
402 630 107 3026 PIN,LOCATE 1 755T--010-402
404 630 104 7195 PIN,LOCATE 1 755T--010-404
405 630 101 2506 COLLAR 1 755T--010-405
406 630 104 7157 LEVER 1 755T--010-406
407 630 104 7171 HOOK 1 755T--010-407
408 630 102 7517 PIN,LOCATE 1 755T--010-408
410 630 104 7577 COLLAR 1 755T--010-410
411 630 002 8720 SPRING,TENSION 1 755T--010-411
412 630 107 3002 HOOK 1 755T--010-412
414 630 001 8448 SPRING,TENSION 1 755T--010-414
415 411 001 0003 RING E 4 1 755T--010-415
425 411 141 2806 WASHER SPR 3 1 755T--010-114
426 411 140 9905 NUT HEX 3 3 755T--010-116
427 411 000 9304 RING E 2 2 755T--010-119
428 411 000 9809 RING E 3 1 755T--010-118
429 411 041 7208 SCR PAN 3X5 1 755T--010-045

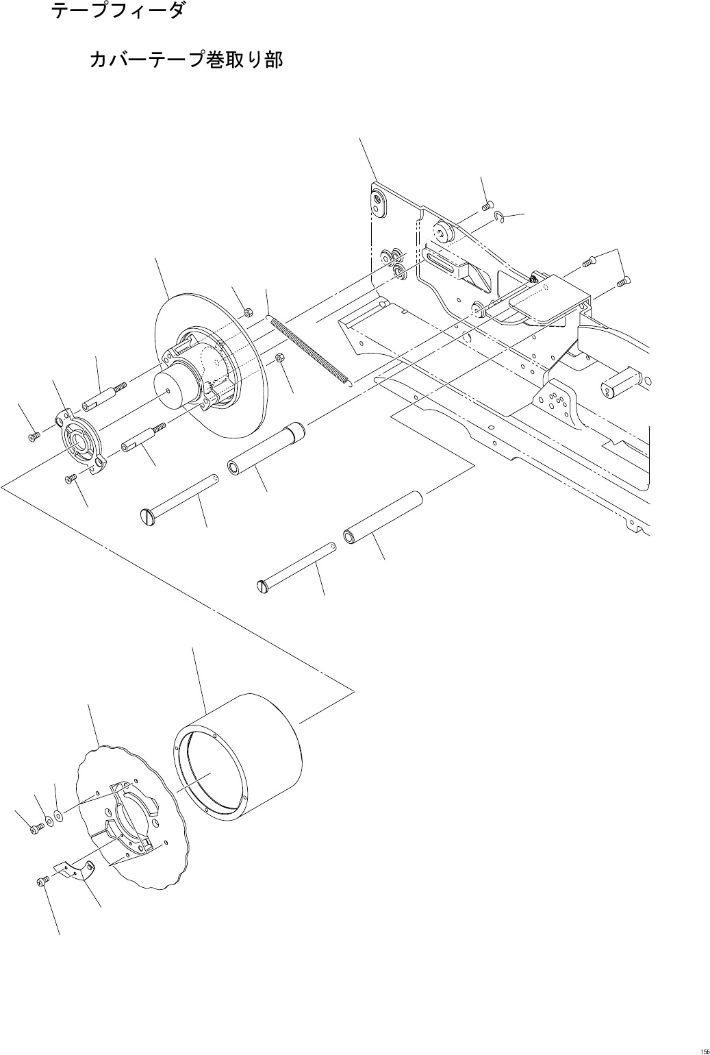
0112-001
TAPE FEEDER
PF-5610 PF-5610
Fig. T-6
Cover Tape Winding Section
501
See Fig.T-1
Key No.1
502
516
529
528
510
511
Fig.T-6
514
505
503
507
515
521
530
519
506
527
529
508
509
529
514
527