P-217-001e - 第49页
01 12-001 Key No . P AR T No. P AR T NAME Q’ty REMARKS NOTE 47 L-2 PF-1610 101 630 103 8315 P L A T E 1 755L--010-101 10 2 630 103 2658 SHAFT 1 755L--010-102 10 3 630 101 2582 SHAFT 1 755L--010-103 10 5 630 103 8308 BRAC…

0301-002
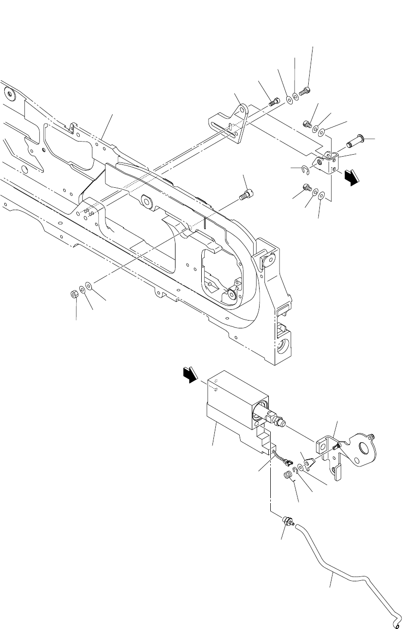
46
テープフィーダ TAPE FEEDER
PF-1610 PF-1610
Fig. L-2 テープ送り駆動部 Tape Feeder Driving Section
101
See Fig.L-1
Key No.1
102
129
128
121
117
114
115
103
105
117
118
130
129
128
111
114
115
Fig.L-2
120
109
108
119
110
113
123
122
B
B
152

0112-001
Key No. PART No. PART NAME Q’ty REMARKS
NOTE
47
L-2
PF-1610
101 630 103 8315 PLATE 1 755L--010-101
102 630 103 2658 SHAFT 1 755L--010-102
103 630 101 2582 SHAFT 1 755L--010-103
105 630 103 8308 BRACKET 1 755L--010-105
108 630 103 2511 ASSY,LEVER 1 755L--010-108
109 630 041 4912 LEVER(RATCHET CLICK) 1 755L--010-109
110 630 039 3033 SPRING,TORSION 1 755L--010-110
111 630 101 2551 PIN,GUIDE 1 755L--010-111
113 630 036 8444 PIPE FITTINGS 1 755L--010-113
114 411 141 2806 WASHER SPR 3 2 755L--010-114
115 411 141 3902 WASHER V 3X7X0.5 2 755L--010-115
117 630 000 7503 BOLT,HEX-SCT 2 755L--010-117
118 411 000 9809 RING E 3 1 755L--010-118
119 411 000 9304 RING E 2 1 755L--010-119
120 411 141 5807 WASHER V 3X6X0.5 1 755L--010-120
121 630 000 7640 BOLT,HEX-SCT 1 755L--010-121
122 630 103 7745 CYLINDER 1 755L--010-122
123 630 106 8909 TUBE 1 755L--010-123
124 411 141 0307 NUT HEX 4 1 755L--010-034
125 411 141 2905 WASHER SPR 4 3 755L--010-035
126 411 141 4008 WASHER V 4X9X0.8 3 755L--010-036
152 630 113 8121 ASSY,CORD 1

0301-002
48
テープフィーダ TAPE FEEDER
PF-1610 PF-1610
Fig. L-3 送りギア部 Feeder Gear Section
204
203
209
201
219
218
217
215
See Fig.L-1
Key No.1
See Fig.L-2
Key No.108
214
216
202
Fig.L-3